TOP
|
特許
|
意匠
|
商標
特許ウォッチ
Twitter
他の特許を見る
公開番号
2025137621
公報種別
公開特許公報(A)
公開日
2025-09-19
出願番号
2025117230,2024098274
出願日
2025-07-11,2016-12-06
発明の名称
情報記録装置、情報記録方法及び情報記録用プログラム
出願人
パイオニア株式会社
代理人
弁理士法人インテクト国際特許事務所
,
個人
主分類
H04N
5/92 20060101AFI20250911BHJP(電気通信技術)
要約
【課題】所望される映像データ及び音声データを記録することができると共に、プライバシの保護に留意しつつ必要な音声データを残すことが可能な情報記録装置を提供する。
【解決手段】車両に備えられたカメラC及びマイクMCからの映像データ及び音声データを取得すると共に、車両に急ハンドル等のイベントが発生したことを示すイベント情報を取得し、取得した映像データ及び音声データをそれぞれ記録した後に、当該記録された音声データについて、イベント情報に関連して記録された音声データを記録部Rに残す。
【選択図】図4
特許請求の範囲
【請求項1】
移動体に備えられた撮像手段及び集音手段からの映像情報及び音情報を取得する第1取得手段と、
前記移動体にイベントが発生したことを示すイベント情報を取得する第2取得手段と、
各前記取得した映像情報及び音情報をそれぞれ記録した後に、当該記録された音情報について、前記イベント情報に関連して記録された前記音情報である関連音情報を少なくとも含む前記記録された音情報の一部を記録手段に残す記録制御手段と、
を備えることを特徴とする情報記録装置。
発明の詳細な説明
【技術分野】
【0001】
本願は、情報記録装置、情報記録方法及び情報記録用プログラムの技術分野に属する。より詳細には、車両等の移動体に備えられたカメラ及びマイクからの映像データ等を記録する情報記録装置及び情報記録方法並びに当該情報記録装置用のプログラムの技術分野に属する。
続きを表示(約 2,900 文字)
【背景技術】
【0002】
近年、例えば車両による移動中に事故、急加速又は急減速或いは急ハンドル等が発生した際の状況等を後から検証する等の目的に供させるべく、移動中の例えば車両の前方を撮像してサイクリック(巡回的)に記録するための、いわゆるドライブレコーダが一般化している。ここで、上記事故による衝撃、急加速又は急減速或いは急ハンドル等を、車両に対して発生する「イベント」と称する。そし当該目的のためには、イベントの発生前後一定時間に撮像及び集音された映像データ及び音声データが必要となる。このような要請に応じるための先行技術を開示した文献としては、例えば下記特許文献1及び下記特許文献2が挙げられる。このとき、特許文献1に開示されている技術では、車両に上記イベントが発生した場合に、そのイベントが発生した時刻を含む前後の所定時間の映像データ及び音声データを取得し不揮発性に記録する構成とされている。また特許文献2に開示されている技術では、車載されたカメラに記憶された映像データを基に、全体の走行経路の中で車両の走行方向の変化が大きい箇所や所定の文字等或いは道路案内標識等の映像データを、地図データと関連させて映像の要約(アルバム)として記録する構成とされている。
【先行技術文献】
【特許文献】
【0003】
特許第5856470号公報
特開2009-246503号公報
【発明の概要】
【発明が解決しようとする課題】
【0004】
上述したように従来のドライブレコーダでは、イベントが発生した時刻前後の映像データ及び音声データが記録されるが、例えば特許文献2に記載されたアルバム的な他の用途により、イベントの発生に無関係に映像データを記録しておく必要がある場合がある。
【0005】
ここで、上記映像データと共に記録される音声データについては、車両内で集音される音声にはプライベートな内容が含まれる場合があり、よって、プライバシの保護の観点からは、音声データの長期に渡る録音が好ましくない場合がある。
【0006】
そこで本願は、上記の問題点及び要請に鑑みて為されたもので、その課題の一例は、所望される映像データ及び音声データを記録することができると共に、プライバシの保護に留意しつつ必要な音声データを残すことが可能な情報記録装置及び情報記録方法並びに当該情報記録装置用のプログラムを提供することにある。
【課題を解決するための手段】
【0007】
上記の課題を解決するために、請求項1に記載の発明は、移動体内のカメラで撮影された画像に基づく映像情報を取得する映像情報取得手段と、前記移動体内のマイクで集音された音に基づく音情報を取得する音情報取得手段と、前記移動体に生じた所定値以上の衝撃を検出する衝撃検出手段と、ユーザによる所定の操作を検出する操作検出手段と、前記移動体からの電源供給に基づいて、前記映像情報を記録媒体に記録する処理を開始する記録処理手段と、を備え、前記記録処理手段は、前記処理を開始した後に前記所定値以上の衝撃が検出された場合には当該所定値以上の衝撃に関連する期間に対応する前記音情報を前記映像情報とともに前記記録媒体に残し、且つ、前記処理を開始した後に前記所定の操作が検出された場合には当該所定の操作に関連する期間に対応する前記音情報を前記映像情報とともに前記記録媒体に残すように構成される。
【0008】
上記の課題を解決するために、請求項4に記載の発明は、情報記録装置が実行する情報記録法方法であって、移動体内のカメラで撮影された画像に基づく映像情報を取得する映像情報取得工程と、前記移動体内のマイクで集音された音に基づく音情報を取得する音情報取得工程と、前記移動体に生じた所定値以上の衝撃を検出する衝撃検出工程と、ユーザによる所定の操作を検出する操作検出工程と、前記移動体からの電源供給に基づいて、前記映像情報を記録媒体に記録する処理を開始する記録処理工程と、を含み、前記記録処理工程は、前記処理を開始した後に前記所定値以上の衝撃が検出された場合には当該所定値以上の衝撃に関連する期間に対応する前記音情報を前記映像情報とともに前記記録媒体に残し、且つ、前記処理を開始した後に前記所定の操作が検出された場合には当該所定の操作に関連する期間に対応する前記音情報を前記映像情報とともに前記記録媒体に残すように構成される。
【0009】
上記の課題を解決するために、請求項5に記載の発明は、コンピュータを、移動体内のカメラで撮影された画像に基づく映像情報を取得する映像情報取得手段、前記移動体内のマイクで集音された音に基づく音情報を取得する音情報取得手段、前記移動体に生じた所定値以上の衝撃を検出する衝撃検出手段、ユーザによる所定の操作を検出する操作検出手段、及び、前記移動体からの電源供給に基づいて、前記映像情報を記録媒体に記録する処理を開始する記録処理手段、として機能させ、前記記録処理手段として機能する前記コンピュータを、前記所定値以上の衝撃が検出された場合には当該所定値以上の衝撃に関連する期間に対応する前記音情報を前記映像情報とともに前記記録媒体に残し、且つ、前記所定の操作が検出された場合には当該所定の操作に関連する期間に対応する前記音情報を前記映像情報とともに前記記録媒体に残すように機能させる。
【図面の簡単な説明】
【0010】
実施形態に係る情報記録装置の概要構成を示すブロック図である。
実施例に係るドライブレコーダの外観等を例示する図であり、(a)は当該ドライブレコーダが取り付けられるルームミラーの外観斜視図であり、(b)は当該ドライブレコーダを正面斜めから見た外観斜視図であり、(c)は当該ドライブレコーダを背面斜めから見た外観斜視図であり、(d)は当該ドライブレコーダをルームミラーに取り付けた後の状態を示す外観斜視図である。
実施例に係るドライブレコーダの取付状態を例示する図であり、(a)はルームミラーへの取り付け前の当該ドライブレコーダを背面斜めから見た外観斜視図であり、(b)はルームミラーへの取り付け時の当該ドライブレコーダ各部の状態を背面斜めから見た外観斜視図であり、(c)はルームミラーへの取り付け後の当該ドライブレコーダの状態を示す外観斜視図である。
実施例に係るドライブレコーダの細部構成を示すブロック図である。
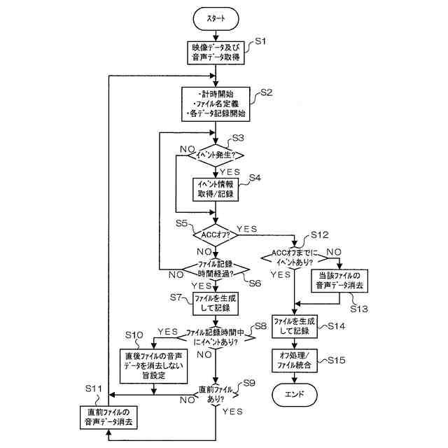
実施例に係るドライブレコーダにおける記録処理を示すフローチャートである。
実施例に係るドライブレコーダにおける記録処理を実行した結果としての記録態様を例示する図である。
変形例に係る記録システムの細部構成を示すブロック図である。
【発明を実施するための形態】
(【0011】以降は省略されています)
この特許をJ-PlatPat(特許庁公式サイト)で参照する
関連特許
パイオニア株式会社
通信装置
5日前
パイオニア株式会社
通信装置
5日前
パイオニア株式会社
情報処理装置
2日前
パイオニア株式会社
情報処理装置
2日前
パイオニア株式会社
情報処理装置
2日前
パイオニア株式会社
情報処理装置
2日前
パイオニア株式会社
情報処理装置
2日前
パイオニア株式会社
情報処理装置
2日前
パイオニア株式会社
情報処理装置
2日前
パイオニア株式会社
情報処理装置
2日前
パイオニア株式会社
ルームミラー装置
2日前
パイオニア株式会社
ルームミラー装置
2日前
パイオニア株式会社
通信装置、ヘルメット
5日前
パイオニア株式会社
検索装置、検索方法、及びプログラム
2日前
パイオニア株式会社
制御装置、制御方法、及びプログラム
2日前
パイオニア株式会社
情報処理装置、情報処理方法、及びプログラム
2日前
パイオニア株式会社
情報処理装置、情報処理方法、及びプログラム
2日前
パイオニア株式会社
車両監視装置、車両監視方法、及びプログラム
2日前
パイオニア株式会社
情報処理装置、情報処理方法、プログラム及び記憶媒体
5日前
パイオニア株式会社
情報処理装置、情報処理方法、プログラム及び記憶媒体
5日前
パイオニア株式会社
情報処理装置、情報処理方法、プログラム及び記憶媒体
5日前
パイオニア株式会社
情報処理装置、情報処理方法、プログラム及び記憶媒体
5日前
パイオニア株式会社
情報処理装置、情報処理方法、プログラム及び記憶媒体
5日前
パイオニア株式会社
経路探索装置、経路探索方法、プログラム及び記憶媒体
2日前
パイオニア株式会社
経路探索装置、経路探索方法、プログラム及び記憶媒体
2日前
パイオニア株式会社
経路探索装置、経路探索方法、プログラム及び記憶媒体
2日前
パイオニア株式会社
判定装置
22日前
パイオニア株式会社
ライダ装置
20日前
パイオニア株式会社
サーバ装置
27日前
パイオニア株式会社
情報処理装置
22日前
パイオニア株式会社
表示制御装置
20日前
パイオニア株式会社
情報処理装置
27日前
パイオニア株式会社
表示制御装置
2日前
パイオニア株式会社
情報処理装置、情報処理方法、情報処理プログラム及び記憶媒体
2日前
パイオニア株式会社
興奮度判定装置
20日前
パイオニア株式会社
情報提供装置、及び携帯端末
20日前
続きを見る
他の特許を見る