TOP
|
特許
|
意匠
|
商標
特許ウォッチ
Twitter
他の特許を見る
10個以上の画像は省略されています。
公開番号
2025140367
公報種別
公開特許公報(A)
公開日
2025-09-29
出願番号
2024039725
出願日
2024-03-14
発明の名称
情報処理装置、情報処理方法、及びプログラム
出願人
パイオニア株式会社
代理人
個人
,
個人
主分類
G06F
16/387 20190101AFI20250919BHJP(計算;計数)
要約
【課題】検索ワードを用いた施設の検索精度を向上させる。
【解決手段】情報処理装置は、取得部と、到着地点特定部と、記憶処理部とを備える。取得部は、検索ワードに基づいて実行された施設の検索処理に関する検索処理情報を取得する。到着地点特定部は、検索処理の後に目的地点が設定されなかったことを検索処理情報が示す場合、検索処理の後に移動体が到着した到着地点を特定する。記憶処理部は、到着地点の位置情報に対応する施設と検索ワードとを紐付けてデータベースに記憶する。
【選択図】図6
特許請求の範囲
【請求項1】
検索ワードに基づいて実行された施設の検索処理に関する検索処理情報を取得する取得手段と、
前記検索処理の後に目的地点が設定されなかったことを前記検索処理情報が示す場合、前記検索処理の後に移動体が到着した到着地点を特定する到着地点特定手段と、
前記到着地点の位置情報に対応する施設と前記検索ワードとを紐付けてデータベースに記憶する記憶処理手段と、
を備える情報処理装置。
続きを表示(約 1,100 文字)
【請求項2】
前記記憶処理手段は、
前記検索ワードが入力された時点の前記移動体の位置から前記到着地点の位置までの推定所要時間を取得し、
前記移動体が前記到着地点に到着するまでに実際に要した時間と前記推定所要時間との比較結果に基づいて、前記到着地点の位置情報に対応する施設と前記検索ワードとを紐付けてデータベースに記憶するか否かを決定する、
請求項1に記載の情報処理装置。
【請求項3】
前記検索ワードと前記施設の名称との類似度を判定する類似度判定手段を更に備え、
前記記憶処理手段は、前記類似度の判定結果を更に用いて、前記施設と前記検索ワードとを紐付けてデータベースに記憶するか否かを判定する、
請求項2に記載の情報処理装置。
【請求項4】
前記到着地点特定手段は、前記検索ワードが入力された時点から所定時間内に前記移動体が滞在した地点を、前記到着地点として特定する、
請求項1から3のいずれか一項に記載の情報処理装置。
【請求項5】
前記記憶処理手段は、複数のユーザに共通するデータベースに、前記施設と前記検索ワードとを紐付けて記憶する、
請求項1から3のいずれか一項に記載の情報処理装置。
【請求項6】
前記取得手段は、ユーザを識別するユーザ識別情報と対応付けて前記検索処理情報を取得し、
前記記憶処理手段は、前記ユーザ識別情報によって識別されるユーザ用の個人データベースに、前記施設と前記検索ワードとを紐付けて記憶する、
請求項1から3のいずれか一項に記載の情報処理装置。
【請求項7】
コンピュータが、
検索ワードに基づいて実行された施設の検索処理に関する検索処理情報を取得し、
前記検索処理の後に目的地点が設定されなかったことを前記検索処理情報が示す場合、前記検索処理の後に移動体が到着した到着地点を特定し、
前記到着地点の位置情報に対応する施設と前記検索ワードとを紐付けてデータベースに記憶する、
ことを含む情報処理方法。
【請求項8】
コンピュータにより実行されることにより、前記コンピュータに、
検索ワードに基づいて実行された施設の検索処理に関する検索処理情報を取得し、
前記検索処理の後に目的地点が設定されなかったことを前記検索処理情報が示す場合、前記検索処理の後に移動体が到着した到着地点を特定し、
前記到着地点の位置情報に対応する施設と前記検索ワードとを紐付けてデータベースに記憶する、
ことを含む動作を実行させるプログラム。
発明の詳細な説明
【技術分野】
【0001】
本発明は、情報処理装置、情報処理方法、及びプログラムに関する。
続きを表示(約 2,000 文字)
【背景技術】
【0002】
入力されたキーワードを基に目的地点を特定し、目的地点までの経路を検索してユーザに提示するサービスが利用されている。
【0003】
例えば下記特許文献1には、上述したようなサービスに関連する技術の一例が開示されている。特許文献1に開示される装置(更新装置)は、例えば、以下の(1)および(2)を含む処理を実行する。
(1)第1の検索クエリで検索された候補施設が選択されず、当該第1の検索クエリの後に入力された第2の検索クエリで検索された候補施設が選択された場合、更新装置は第1の検索クエリに含まれるキーワードのうち第2の検索クエリに含まれないキーワードを特定する。
(2)更新装置は、特定したキーワードを選択された施設の被検索ワードとして保存部に保存する。
【先行技術文献】
【特許文献】
【0004】
特開2021-179816号公報
【発明の概要】
【発明が解決しようとする課題】
【0005】
施設の名称などを検索ワードとして用いて目的地点とする施設を検索する処理において、正しくない検索ワード(例えば、ある施設の別称や誤った名称)が使用されると、ユーザが望む検索結果が得られないことがある。
【0006】
本開示に係る発明が解決しようとする課題の一例としては、検索ワードを用いた施設の検索精度を向上させる技術を提供することが挙げられる。
【課題を解決するための手段】
【0007】
本開示における第1の発明は、
検索ワードに基づいて実行された施設の検索処理に関する検索処理情報を取得する取得手段と、
前記検索処理の後に目的地点が設定されなかったことを前記検索処理情報が示す場合、前記検索処理の後に移動体が到着した到着地点を特定する到着地点特定手段と、
前記到着地点の位置情報に対応する施設と前記検索ワードとを紐付けてデータベースに記憶する記憶処理手段と、
を備える情報処理装置である。
【0008】
本開示における第2の発明は、
コンピュータが、
検索ワードに基づいて実行された施設の検索処理に関する検索処理情報を取得し、
前記検索処理の後に目的地点が設定されなかったことを前記検索処理情報が示す場合、前記検索処理の後に移動体が到着した到着地点を特定し、
前記到着地点の位置情報に対応する施設と前記検索ワードとを紐付けてデータベースに記憶する、
ことを含む情報処理方法である。
【0009】
本開示における第3の発明は、
コンピュータにより実行されることにより、前記コンピュータに、
検索ワードに基づいて実行された施設の検索処理に関する検索処理情報を取得し、
前記検索処理の後に目的地点が設定されなかったことを前記検索処理情報が示す場合、前記検索処理の後に移動体が到着した到着地点を特定し、
前記到着地点の位置情報に対応する施設と前記検索ワードとを紐付けてデータベースに記憶する、
ことを含む動作を実行させるプログラムである。
【図面の簡単な説明】
【0010】
本開示における情報処理装置の機能構成の第1の例を示すブロック図である。
本開示における情報処理装置の機能を実現するコンピュータのハードウェア構成を例示する図である。
本開示における情報処理装置により実行される処理の第1の例を示すフローチャートである。
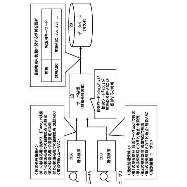
第2の検索処理において目的地点として設定された施設と第1の検索処理で使用された検索ワードとを紐付けてデータベースに記憶する流れの第1の具体例を示す図である。
第2の検索処理において目的地点として設定された施設と第1の検索処理で使用された検索ワードとを紐付けてデータベースに記憶する流れの第2の具体例を示す図である。
本開示における情報処理装置の機能構成の第2の例を示すブロック図である。
本開示における情報処理装置により実行される処理の第2の例を示すフローチャートである。
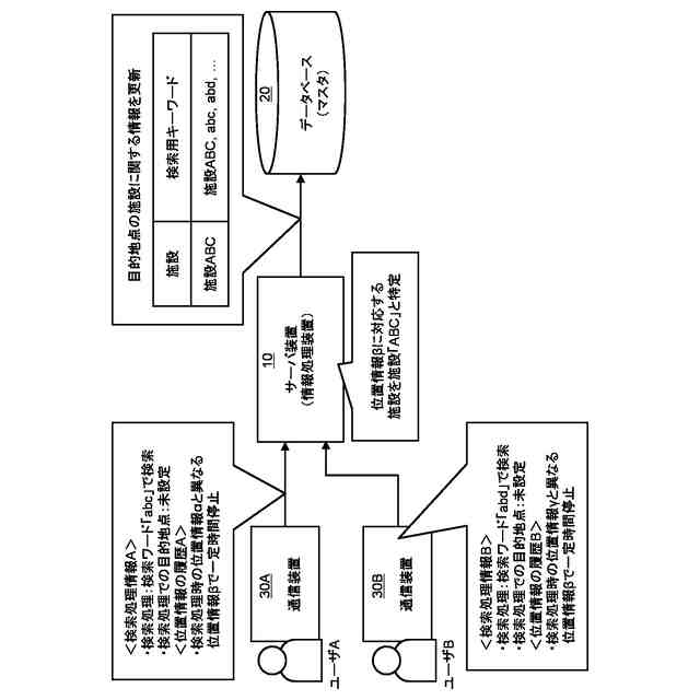
到着地点の位置情報に対応する施設と検索処理で使用された検索ワードとを紐付けてデータベースに記憶する流れの第1の具体例を示す図である。
到着地点の位置情報に対応する施設と検索処理で使用された検索ワードとを紐付けてデータベースに記憶する流れの第2の具体例を示す図である。
本開示における情報処理装置の機能構成の第3の例を示す図である。
本開示における情報処理装置の機能構成の第4の例を示す図である。
【発明を実施するための形態】
(【0011】以降は省略されています)
この特許をJ-PlatPat(特許庁公式サイト)で参照する
関連特許
パイオニア株式会社
通信装置
10日前
パイオニア株式会社
通信装置
10日前
パイオニア株式会社
情報処理装置
7日前
パイオニア株式会社
情報処理装置
7日前
パイオニア株式会社
情報処理装置
7日前
パイオニア株式会社
情報処理装置
7日前
パイオニア株式会社
情報処理装置
7日前
パイオニア株式会社
情報処理装置
7日前
パイオニア株式会社
情報処理装置
7日前
パイオニア株式会社
情報処理装置
7日前
パイオニア株式会社
ルームミラー装置
7日前
パイオニア株式会社
ルームミラー装置
7日前
パイオニア株式会社
通信装置、ヘルメット
10日前
パイオニア株式会社
制御装置、制御方法、及びプログラム
7日前
パイオニア株式会社
検索装置、検索方法、及びプログラム
7日前
パイオニア株式会社
車両監視装置、車両監視方法、及びプログラム
3日前
パイオニア株式会社
車両監視装置、車両監視方法、及びプログラム
7日前
パイオニア株式会社
情報処理装置、情報処理方法、及びプログラム
7日前
パイオニア株式会社
情報処理装置、情報処理方法、及びプログラム
7日前
パイオニア株式会社
経路探索装置、経路探索方法、プログラム及び記憶媒体
7日前
パイオニア株式会社
情報処理装置、情報処理方法、プログラム及び記憶媒体
10日前
パイオニア株式会社
情報処理装置、情報処理方法、プログラム及び記憶媒体
10日前
パイオニア株式会社
経路探索装置、経路探索方法、プログラム及び記憶媒体
7日前
パイオニア株式会社
経路探索装置、経路探索方法、プログラム及び記憶媒体
7日前
パイオニア株式会社
情報処理装置、情報処理方法、プログラム及び記憶媒体
10日前
パイオニア株式会社
情報処理装置、情報処理方法、プログラム及び記憶媒体
10日前
パイオニア株式会社
情報処理装置、情報処理方法、プログラム及び記憶媒体
10日前
パイオニア株式会社
判定装置
27日前
パイオニア株式会社
取付機構
1か月前
パイオニア株式会社
判定装置
1か月前
パイオニア株式会社
制御装置
1か月前
パイオニア株式会社
入力装置
3日前
パイオニア株式会社
サーバ装置
1か月前
パイオニア株式会社
ライダ装置
25日前
パイオニア株式会社
距離算出装置
1か月前
パイオニア株式会社
表示制御装置
7日前
続きを見る
他の特許を見る