TOP
|
特許
|
意匠
|
商標
特許ウォッチ
Twitter
他の特許を見る
10個以上の画像は省略されています。
公開番号
2025139926
公報種別
公開特許公報(A)
公開日
2025-09-29
出願番号
2024039018
出願日
2024-03-13
発明の名称
経路探索装置、経路探索方法、プログラム及び記憶媒体
出願人
パイオニア株式会社
代理人
個人
主分類
G01C
21/34 20060101AFI20250919BHJP(測定;試験)
要約
【課題】有料道路の駐車施設での駐車料金が安い経路を好適に決定する。
【解決手段】経路探索装置において、前記取得手段は、出発地及び目的地を取得する。なお、前記取得手段は、ユーザにより入力された現在地を取得しても良く、車両の現在位置を出発地として取得してもよい。前記コスト計算手段は、前記出発地から前記目的地に至る複数の経路について、前記目的地までの所要時間又は距離、有料道路の通行料金、及び有料道路における駐車施設の駐車料金、のそれぞれについてのコストを含む総コストを計算する。そして、前記出力手段は、前記総コストが最も小さい経路を含む1又は複数の経路のうち、少なくとも前記駐車施設の駐車料金が最も安い経路を推奨経路として出力する。
【選択図】図9
特許請求の範囲
【請求項1】
出発地及び目的地を取得する取得手段と、
前記出発地から前記目的地に至る複数の経路について、前記目的地までの所要時間又は距離、有料道路の通行料金、及び有料道路における駐車施設の駐車料金、のそれぞれについてのコストを含む総コストを計算するコスト計算手段と、
前記総コストが最も小さい経路を含む1又は複数の経路のうち、少なくとも前記駐車施設の駐車料金が最も安い経路を推奨経路として出力する出力手段と、
を備える経路探索装置。
続きを表示(約 900 文字)
【請求項2】
前記総コストは、前記経路を走行する車両の燃料費又は電費についてのコストをさらに含む請求項1に記載の経路探索装置。
【請求項3】
前記コスト計算手段は、前記駐車料金が無料となる複数の経路について前記総コストを計算し、
前記出力手段は、前記推奨経路として、前記駐車料金が無料となる経路を出力する請求項1に記載の経路探索装置。
【請求項4】
前記コスト計算手段は、前記駐車施設における所定の希望休憩時間を満足する複数の経路について前記総コストを計算し、
前記出力手段は、前記推奨経路として、前記駐車施設における所定の希望休憩時間を満足する経路を出力する請求項1に記載の経路探索装置。
【請求項5】
前記出力手段は、前記駐車施設の駐車料金が安い方から所定数の経路を、前記推奨経路として出力する請求項1に記載の経路探索装置。
【請求項6】
コンピュータにより実行される経路探索方法であって、
出発地及び目的地を取得し、
前記出発地から前記目的地に至る複数の経路について、前記目的地までの所要時間又は距離、有料道路の通行料金、及び有料道路における駐車施設の駐車料金、のそれぞれについてのコストを含む総コストを計算し、
前記総コストが最も小さい経路を含む1又は複数の経路のうち、少なくとも前記駐車施設の駐車料金が最も安い経路を推奨経路として出力する経路探索装置。
【請求項7】
出発地及び目的地を取得し、
前記出発地から前記目的地に至る複数の経路について、前記目的地までの所要時間又は距離、有料道路の通行料金、及び有料道路における駐車施設の駐車料金、のそれぞれについてのコストを含む総コストを計算し、
前記総コストが最も小さい経路を含む1又は複数の経路のうち、少なくとも前記駐車施設の駐車料金が最も安い経路を推奨経路として出力する処理をコンピュータに実行させるプログラム。
【請求項8】
請求項7に記載のプログラムを記憶した記憶媒体。
発明の詳細な説明
【技術分野】
【0001】
本発明は、経路を探索する技術に関する。
続きを表示(約 1,900 文字)
【背景技術】
【0002】
従来から、目的地までのルート探索において、高速道路の距離単価に比例したコストを各リンクに付与し、ダイクストラ法により有料道路の料金と所要時間を考慮したルート探索を行う技術が知られている。例えば、特許文献1には、通行料金と所要時間を含む複合コストで経路を探索することにより、料金と時間のバランスを勘案した推奨経路を出力するナビゲーション装置が開示されている。
【先行技術文献】
【特許文献】
【0003】
特開2011-7706号公報
【発明の概要】
【発明が解決しようとする課題】
【0004】
高速道路や自動車専用道路など(以下、「有料道路」とも呼ぶ。)のサービスエリア(SA)やパーキングエリア(PA)などの施設において駐車料金を課金することが検討されている。この場合、有料道路の通行料金に加えて、有料道路の駐車施設での駐車料金を考慮して目的地までの経路を検討する必要がでてくる。また、ユーザは、有料道路の駐車施設での駐車料金をなるべく安くしたいと考えることが予想される。
【0005】
本発明は、上記のような課題を解決するためになされたものであり、有料道路の駐車施設での駐車料金が安い経路を好適に決定することが可能な経路探索装置を提供することを主な目的とする。
【課題を解決するための手段】
【0006】
請求項に記載の発明は、経路探索装置であって、出発地及び目的地を取得する取得手段と、前記出発地から前記目的地に至る複数の経路について、前記目的地までの所要時間又は距離、有料道路の通行料金、及び有料道路における駐車施設の駐車料金、のそれぞれについてのコストを含む総コストを計算するコスト計算手段と、前記総コストが最も小さい経路を含む1又は複数の経路のうち、少なくとも前記駐車施設の駐車料金が最も安い経路を推奨経路として出力する出力手段と、を備える。
【0007】
また、請求項に記載の発明は、コンピュータにより実行される経路探索方法であって、出発地及び目的地を取得し、前記出発地から前記目的地に至る複数の経路について、前記目的地までの所要時間又は距離、有料道路の通行料金、及び有料道路における駐車施設の駐車料金、のそれぞれについてのコストを含む総コストを計算し、前記総コストが最も小さい経路を含む1又は複数の経路のうち、少なくとも前記駐車施設の駐車料金が最も安い経路を推奨経路として出力する。
【0008】
また、請求項に記載の発明は、プログラムであって、出発地及び目的地を取得し、前記出発地から前記目的地に至る複数の経路について、前記目的地までの所要時間又は距離、有料道路の通行料金、及び有料道路における駐車施設の駐車料金、のそれぞれについてのコストを含む総コストを計算し、前記総コストが最も小さい経路を含む1又は複数の経路のうち、少なくとも前記駐車施設の駐車料金が最も安い経路を推奨経路として出力する処理をコンピュータに実行させる。
【図面の簡単な説明】
【0009】
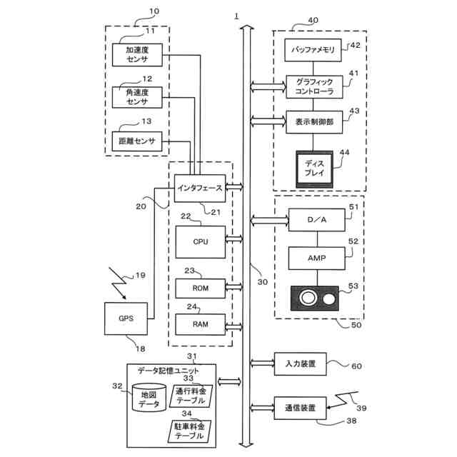
各実施例に係るナビゲーション装置の概略構成を示すブロック図である。
通行料金テーブルのデータ構造の一例を示す。
駐車料金テーブルのデータ構造の一例を示す。
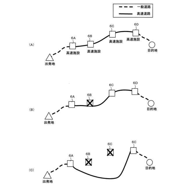
近似解ルート及び近似解ルート上の高速施設を示した図である。
第1実施例に係る推奨ルート出力処理のフローチャートである。
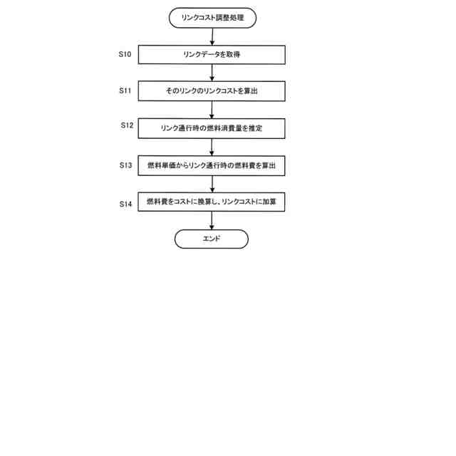
燃料費をリンクコストに加える処理のフローチャートである。
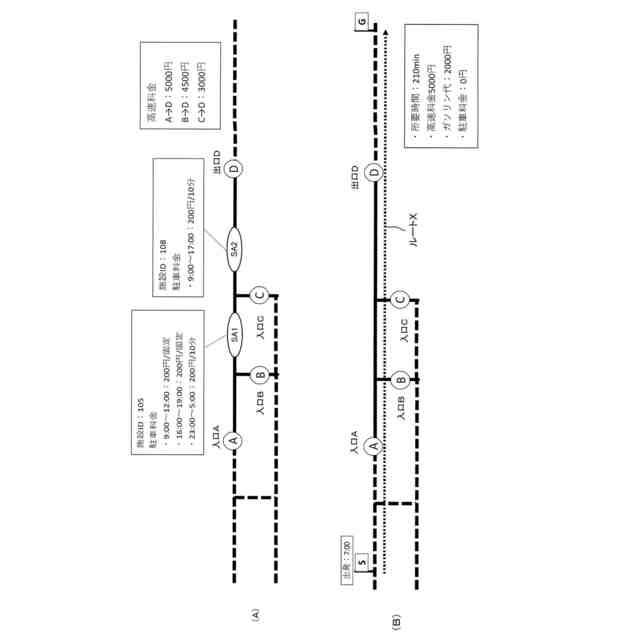
推奨ルートの例を説明する図である。
推奨ルートの例を説明する図である。
第2実施例の第1例に係る推奨ルート出力処理のフローチャートである。
第2実施例の第2例に係る推奨ルート出力処理のフローチャートである。
他のシステム構成に係るルート探索システムの構成を示す。
【発明を実施するための形態】
【0010】
本発明の好適な実施形態では、経路探索装置は、出発地及び目的地を取得する取得手段と、前記出発地から前記目的地に至る複数の経路について、前記目的地までの所要時間又は距離、有料道路の通行料金、及び有料道路における駐車施設の駐車料金、のそれぞれについてのコストを含む総コストを計算するコスト計算手段と、前記総コストが最も小さい経路を含む1又は複数の経路のうち、少なくとも前記駐車施設の駐車料金が最も安い経路を推奨経路として出力する出力手段と、を備える。
(【0011】以降は省略されています)
この特許をJ-PlatPat(特許庁公式サイト)で参照する
関連特許
個人
計量スプーン
26日前
日本精機株式会社
位置検出装置
4日前
日本精機株式会社
位置検出装置
4日前
日本精機株式会社
位置検出装置
4日前
大和製衡株式会社
組合せ秤
9日前
大和製衡株式会社
組合せ秤
9日前
アズビル株式会社
圧力センサ
3日前
株式会社東芝
センサ
9日前
株式会社東芝
センサ
9日前
株式会社ユーシン
操作検出装置
6日前
エイブリック株式会社
磁気センサ回路
3日前
アンリツ株式会社
分光器
1か月前
トヨタ自動車株式会社
表示装置
18日前
アンリツ株式会社
分光器
1か月前
トヨタ自動車株式会社
検査装置
6日前
ダイハツ工業株式会社
測定用具
1か月前
個人
粘塑性を用いた有限要素法の定式化
18日前
TDK株式会社
ガスセンサ
2日前
株式会社ヨコオ
コンタクタ
1か月前
TDK株式会社
磁気センサ
26日前
東レエンジニアリング株式会社
計量装置
6日前
株式会社ナリス化粧品
角層細胞採取用具
16日前
TDK株式会社
ガスセンサ
3日前
株式会社東芝
重量測定装置
2日前
三菱マテリアル株式会社
温度センサ
16日前
TDK株式会社
磁気計測装置
17日前
三菱マテリアル株式会社
温度センサ
16日前
日本碍子株式会社
ガスセンサ
27日前
株式会社熊谷組
RI計測装置
4日前
中国電力株式会社
異常箇所検出装置
17日前
株式会社関電工
検相器用治具
24日前
富士電機株式会社
エンコーダ
3日前
個人
材料特性パラメータの算定方法
26日前
成田空港給油施設株式会社
保持治具
17日前
富士電機株式会社
半導体パッケージ
26日前
大同特殊鋼株式会社
超音波探傷方法
26日前
続きを見る
他の特許を見る