TOP
|
特許
|
意匠
|
商標
特許ウォッチ
Twitter
他の特許を見る
10個以上の画像は省略されています。
公開番号
2025137755
公報種別
公開特許公報(A)
公開日
2025-09-19
出願番号
2025123704,2024013842
出願日
2025-07-24,2012-05-30
発明の名称
表示装置及びヘッドマウントディスプレイ
出願人
パイオニア株式会社
代理人
個人
,
個人
主分類
G06F
3/01 20060101AFI20250911BHJP(計算;計数)
要約
【課題】視線誘導を行うことでユーザに情報を適切に視認させることが可能な表示装置及びヘッドマウントディスプレイを提供する。
【解決手段】表示装置は、表示すべき画像に対応する光を、ユーザの瞳孔と網膜との間の位置に集光させることで、画像を視認させる。つまり、表示装置は、視線方向依存型の表示装置である。また、表示装置は、ユーザが視認する現実環境に対して情報を付加提示するARを実現可能に構成されている。表示装置の視線誘導手段は、ユーザの視線を向けさせるべき位置である誘導ポイントにユーザの視線を誘導するための情報を出力する。誘導ポイントは、現実環境に存在する対象物の位置、又は現実環境に存在する対象物に対して表示された情報の位置である。
【選択図】図1
特許請求の範囲
【請求項1】
表示すべき画像に対応する光を、ユーザの瞳孔と網膜との間の位置に集光させ、前記ユーザが視認する現実環境に対して情報を付加提示する表示装置であって、
前記現実環境に存在する対象物を検出する検出手段と、
音声を出力する音声出力部と、
検出された前記対象物の位置又は前記対象物に対して表示された情報の位置である誘導ポイントに、前記ユーザの視線を誘導するための音声を前記音声出力部に出力させる視線誘導手段と、を備えることを特徴とする表示装置。
発明の詳細な説明
【技術分野】
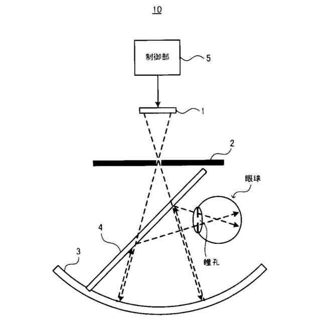
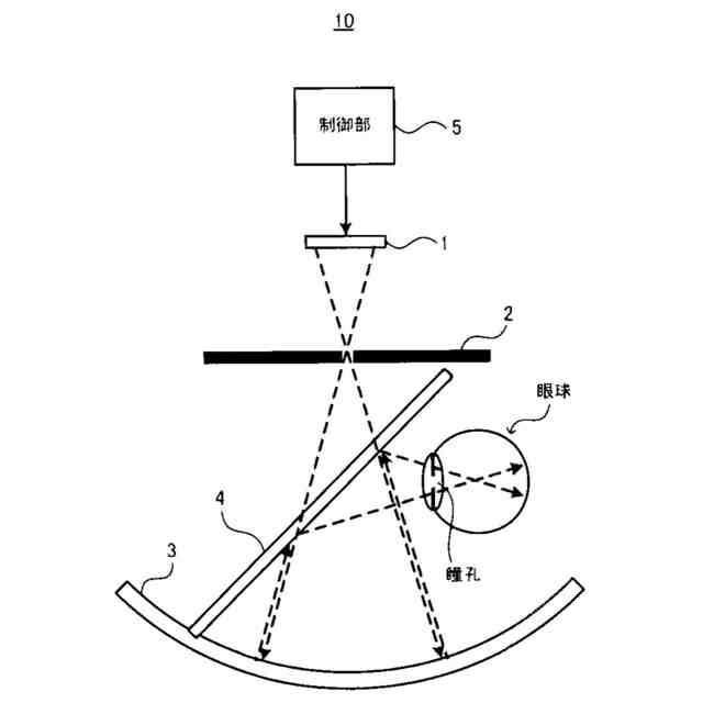
【0001】
本発明は、ユーザが視線を向けた方向の画像のみを視認させる表示装置の技術分野に関する。
続きを表示(約 1,700 文字)
【背景技術】
【0002】
この種の技術が例えば特許文献1に記載されている。特許文献1には、表示すべき画像に対応する光の集光点を眼球の略中心に設定することで、ユーザが視線を向けた方向にのみ画像を表示することが可能な表示装置(以下では「視線方向依存型の表示装置」と呼ぶ。)が記載されている。視線方向依存型の表示装置では、集光点を眼球の略中心に設定することで、視線方向の光線のみが瞳孔を通過するため、視線方向の画像のみが視認されることとなる。
【先行技術文献】
【特許文献】
【0003】
特開2002-90688号公報
【発明の概要】
【発明が解決しようとする課題】
【0004】
上記したような視線方向依存型の表示装置では、視線方向の画像は見えるが、視線方向以外の画像は見えない。そのため、当該表示装置にて提示した情報を、ユーザに適切に提供することができない場合があった。
【0005】
本発明が解決しようとする課題は上記のようなものが例として挙げられる。本発明は、視線誘導を行うことでユーザに情報を適切に視認させることが可能な表示装置及びヘッドマウントディスプレイを提供することを課題とする。
【課題を解決するための手段】
【0006】
請求項1に記載の発明では、表示すべき画像に対応する光を、ユーザの瞳孔と網膜との間の位置に集光させ、前記ユーザが視認する現実環境に対して情報を付加提示する表示装置であって、前記現実環境に存在する対象物を検出する検出手段と、音声を出力する音声出力部と、検出された前記対象物の位置又は前記対象物に対して表示された情報の位置である誘導ポイントに、前記ユーザの視線を誘導するための音声を前記音声出力部に出力させる視線誘導手段と、を備える。
【0007】
請求項2に記載の発明では、表示すべき画像に対応する光を、ユーザの瞳孔と網膜との間の位置に集光させ、前記ユーザが視認する現実環境に対して情報を付加提示する表示装置であって、前記現実環境に存在する対象物を検出する検出手段と、前記ユーザの視線を検出する視線検出手段と、検出された前記対象物の位置又は前記対象物に対して表示された情報の位置である誘導ポイントに、前記ユーザの視線を誘導するための情報を報知する視線誘導手段と、を備え、前記視線誘導手段は、前記視線検出手段によって検出された前記視線が前記誘導ポイントに向いた際に、前記報知を終了する。
【0008】
請求項3に記載の発明では、画像に対応する光を、ユーザの瞳孔と網膜との間の位置に集光させる表示装置であって、前記ユーザの視線を検出する視線検出手段と、前記表示装置により前記ユーザの視線方向に応じた視認エリアの外に表示されるべき画像に対応する位置である誘導ポイントに、前記ユーザの視線を誘導するための情報を報知する視線誘導手段を備え、前記視線誘導手段は、前記視線検出手段によって検出された前記視線が前記誘導ポイントに向いた際に、前記報知を終了する。
【0009】
請求項4に記載の発明では、表示すべき画像に対応する光を、ユーザの瞳孔と網膜との間の位置に集光させ、前記ユーザが視認する現実環境に対して情報を付加提示する表示装置であって、前記現実環境に存在する対象物を検出する検出手段と、前記ユーザの頭部の動きを検出する動き検出手段と、検出された前記対象物の位置又は前記対象物に対して表示された情報の位置である誘導ポイントに、前記ユーザの視線を誘導するための情報を報知する視線誘導手段と、を備え、前記視線誘導手段は、前記動き検出手段によって前記誘導ポイントに向かう前記頭部の動きが検出されてから所定時間が経過した際に、前記報知を終了する。
【0010】
請求項16に記載の発明では、ヘッドアップディスプレイは、ユーザの視線方向に応じた視認エリアの外に表示されるべき画像に対応する位置である誘導ポイントに、前記ユーザの視線を誘導するための情報を報知する視線誘導手段を備えることを特徴とする。
【図面の簡単な説明】
(【0011】以降は省略されています)
この特許をJ-PlatPat(特許庁公式サイト)で参照する
関連特許
パイオニア株式会社
通信装置
7日前
パイオニア株式会社
通信装置
7日前
パイオニア株式会社
情報処理装置
4日前
パイオニア株式会社
情報処理装置
4日前
パイオニア株式会社
情報処理装置
4日前
パイオニア株式会社
情報処理装置
4日前
パイオニア株式会社
情報処理装置
4日前
パイオニア株式会社
情報処理装置
4日前
パイオニア株式会社
情報処理装置
4日前
パイオニア株式会社
情報処理装置
4日前
パイオニア株式会社
ルームミラー装置
4日前
パイオニア株式会社
ルームミラー装置
4日前
パイオニア株式会社
通信装置、ヘルメット
7日前
パイオニア株式会社
制御装置、制御方法、及びプログラム
4日前
パイオニア株式会社
検索装置、検索方法、及びプログラム
4日前
パイオニア株式会社
車両監視装置、車両監視方法、及びプログラム
4日前
パイオニア株式会社
情報処理装置、情報処理方法、及びプログラム
4日前
パイオニア株式会社
情報処理装置、情報処理方法、及びプログラム
4日前
パイオニア株式会社
情報処理装置、情報処理方法、プログラム及び記憶媒体
7日前
パイオニア株式会社
情報処理装置、情報処理方法、プログラム及び記憶媒体
7日前
パイオニア株式会社
情報処理装置、情報処理方法、プログラム及び記憶媒体
7日前
パイオニア株式会社
情報処理装置、情報処理方法、プログラム及び記憶媒体
7日前
パイオニア株式会社
情報処理装置、情報処理方法、プログラム及び記憶媒体
7日前
パイオニア株式会社
経路探索装置、経路探索方法、プログラム及び記憶媒体
4日前
パイオニア株式会社
経路探索装置、経路探索方法、プログラム及び記憶媒体
4日前
パイオニア株式会社
経路探索装置、経路探索方法、プログラム及び記憶媒体
4日前
パイオニア株式会社
判定装置
24日前
パイオニア株式会社
ライダ装置
22日前
パイオニア株式会社
情報処理装置
24日前
パイオニア株式会社
表示制御装置
4日前
パイオニア株式会社
表示制御装置
22日前
パイオニア株式会社
情報処理装置、情報処理方法、情報処理プログラム及び記憶媒体
4日前
パイオニア株式会社
興奮度判定装置
22日前
パイオニア株式会社
情報提供装置、及び携帯端末
22日前
パイオニア株式会社
センサ装置、筐体及びカバー部
29日前
パイオニア株式会社
車載装置、制御方法及びプログラム
4日前
続きを見る
他の特許を見る