TOP
|
特許
|
意匠
|
商標
特許ウォッチ
Twitter
他の特許を見る
公開番号
2025137886
公報種別
公開特許公報(A)
公開日
2025-09-24
出願番号
2024036425
出願日
2024-03-10
発明の名称
フレキシブル管用継手
出願人
桑名金属工業株式会社
代理人
主分類
F16L
33/00 20060101AFI20250916BHJP(機械要素または単位;機械または装置の効果的機能を生じ維持するための一般的手段)
要約
【課題】フレキシブル管が斜めに挿入された場合であっても、リテーナの爪部を適正位置に収めることができ、より確実なシール性能を実現できるフレキシブル管用継手を提供する。
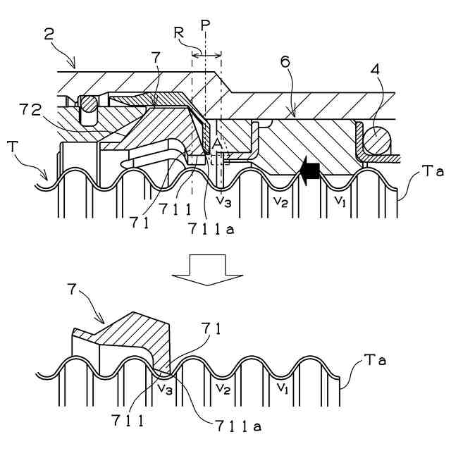
【解決手段】管継手1は、継手本体2の内部において、リテーナ7と、シール部材6と、圧縮状態で保持された弾性部材4と、弾性部材4を圧縮状態で保持するとともに、フレキシブル管の挿入により弾性部材4の圧縮状態を解放する解放機構とを有し、弾性部材4の圧縮状態が解放されることで、シール部材6がスライドし、そのスライドによってリテーナ7が係合する継手であり、弾性部材4の圧縮状態が解放される時点において、爪部71は、爪部71における継手本体2の奥側の先端部711aの軸方向位置Pが、フレキシブル管Tの係合対象である谷部v
3
の最深部と、谷部v
3
にフレキシブル管Tの反先端側で隣接する山部の頂点との間の軸方向領域Rに、重なるように設けられている。
【選択図】図5
特許請求の範囲
【請求項1】
複数の山部と谷部が軸方向に沿って交互に配置された蛇腹状のフレキシブル管を接続するフレキシブル管用継手であって、
前記フレキシブル管用継手は、一端部から前記フレキシブル管が挿入される継手本体を備え、前記継手本体の内部において、前記フレキシブル管に係合する複数の爪部を有するリテーナと、前記フレキシブル管に密着するリング状のシール部材と、圧縮状態で保持された弾性部材と、前記弾性部材を圧縮状態で保持するとともに、前記フレキシブル管の挿入により前記弾性部材の圧縮状態を解放する解放機構とを有し、前記弾性部材の圧縮状態が解放されることで、前記シール部材が前記継手本体の入口側に向かってスライドし、そのスライドによって前記リテーナの前記爪部が係合する継手であり、
前記弾性部材の圧縮状態が解放される時点において、前記爪部は、前記爪部における前記継手本体の奥側の先端部の軸方向位置が、前記フレキシブル管の係合対象である所定の谷部の最深部と、前記所定の谷部に前記フレキシブル管の反先端側で隣接する山部の頂点との間の軸方向領域に、重なるように設けられていることを特徴とするフレキシブル管用継手。
続きを表示(約 510 文字)
【請求項2】
前記弾性部材の圧縮状態が解放される時点において、前記爪部は、前記爪部における内径先端面が、前記軸方向領域内に含まれるように設けられることを特徴とする請求項1に記載のフレキシブル管用継手。
【請求項3】
前記解放機構は、前記フレキシブル管の挿入を受けて前記継手本体の奥側に移動可能な移動部材を備え、該移動部材が前記継手本体の奥側に移動することで、前記弾性部材の圧縮状態が解放される機構であり、
前記移動部材は、前記継手本体に突き当たるフランジ部と、該フランジ部から軸方向に延出し、前記フレキシブル管の先端が当接する円筒状の当接部とを有し、前記当接部の軸方向長さは、前記フランジ部の軸方向長さよりも長いことを特徴とする請求項1または請求項2に記載のフレキシブル管用継手。
【請求項4】
前記当接部の端面の内径縁には傾斜面が形成されていないことを特徴とする請求項3に記載のフレキシブル管用継手。
【請求項5】
前記弾性部材は線材をらせん状に巻いた円筒形のコイルばねであることを特徴とする請求項1または請求項2に記載のフレキシブル管用継手。
発明の詳細な説明
【技術分野】
【0001】
本発明は、蛇腹状のフレキシブル管が接続されるフレキシブル管用継手に関する。
続きを表示(約 2,100 文字)
【背景技術】
【0002】
屋内ガス配管などには、金属製の蛇腹状のフレキシブル管が広く用いられている。また、このフレキシブル管とガス栓や鋼管などとを接続するための管継手が種々用いられている。近年では、工具を必要とせずに、管継手にフレキシブル管を差し込むだけで施工が完了できる、ワンタッチ式の管継手も実用化されている。
【0003】
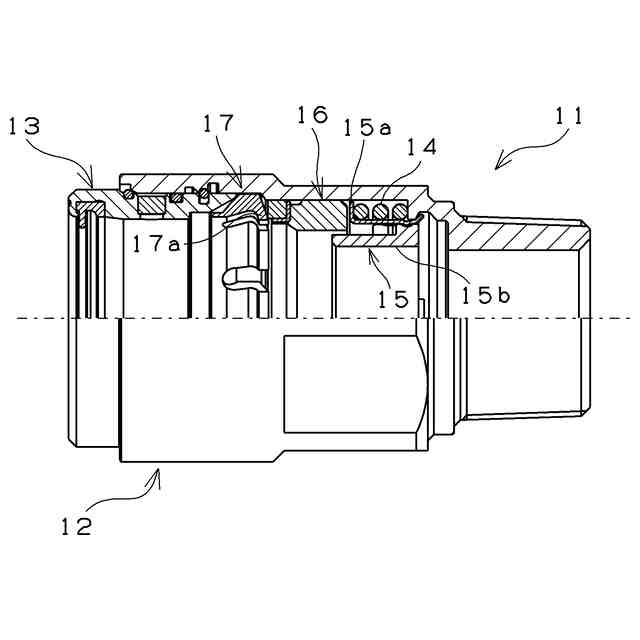
例えば、特許文献1に記載されているフレキシブル管用継手(以下、単に管継手ともいう)を図8に示す。図8に示すように、管継手11は、一端部からフレキシブル管T(図9参照)が挿入される継手本体12を備え、継手本体12内において、押ナット13の一部と、軸方向に伸縮自在な弾性部材14と、弾性部材14を圧縮状態で保持するとともに、その圧縮状態を解放する解放機構15と、フレキシブル管Tに密着するリング状のシール部材16と、リテーナ17とが配置されている。図8において、解放機構15は、弾性部材14を圧縮状態で保持する保持部材15aと、移動部材15bとを有する。また、リテーナ17は、周方向に離間して配列された複数の爪部17aを有する。
【0004】
この管継手の接続作業に伴う管継手の動作を図9に示す。なお、図9は、管継手の上半分断面図を表している。図9に示すように、フレキシブル管Tを管継手11の一端部からまっすぐ挿入していくと、フレキシブル管Tの先端が移動部材15bに接触し(図9(a)参照)、更に、移動部材15bは、フレキシブル管Tの挿入を受けて継手本体12の奥側に移動する。そして、フレキシブル管Tが奥まで挿入される。この際、移動部材15bの移動に伴って、保持部材15aの爪部が継手本体12の内周溝から外れて、弾性部材14の圧縮状態が解放される(図9(b)参照)。その結果、弾性部材14が伸長し、その伸長力によってシール部材16が継手本体12の入口側に向かってスライドする。そして、シール部材16がスライドすることで、リテーナ17の傾斜面が押ナット13の傾斜面に密着するとともに、爪部17aにおける内径先端面が縮径してフレキシブル管Tの谷部に収まる(図9(c)参照)。図9(c)では、フレキシブル管Tの先端Taから数えて3つ目の谷部v
3
が係合対象の谷部であり、その谷部v
3
に、リテーナ17の複数の爪部17aが全て収まっている。
【先行技術文献】
【特許文献】
【0005】
特開2011-52762号公報
【発明の概要】
【発明が解決しようとする課題】
【0006】
ところで、フレキシブル管の接続作業時において、管継手に対してフレキシブル管をまっすぐ挿入することが困難な場合がある。例えば、機器や管継手に予め他端が接続されたフレキシブル管を、別の管継手に曲げながら接続するような場合、フレキシブル管を引っ張りながら当該管継手に挿入する作業になり、フレキシブル管が意図せずに斜めに挿入されることが考えられる。
【0007】
フレキシブル管が斜めに挿入されると、フレキシブル管の先端が移動部材の円環状の端面に対して偏って接触する。その状態のまま移動部材が移動して弾性部材の圧縮状態が解放されると、シール部材はスライド軸がフレキシブル管の中心軸に対して傾いた状態でスライドすることになり、結果として、リテーナの爪部が収まる谷部がばらつくおそれがある。
【0008】
図10にはその一例として、リテーナ17の爪部17aが、フレキシブル管Tの先端Taから数えて2つ目の谷部v
2
と3つ目の谷部v
3
に収まって接続された状態(以降、本明細書では「2/3谷目係合」という)を示している。リテーナ17の爪部17aは、本来であれば、3つ目の谷部v
3
(係合対象の谷部)に全て収まるところ、図10では、爪部17aの一部が2つ目の谷部v
2
に収まっている。その結果、管継手11の中心軸Oに対して、フレキシブル管Tの中心軸Qが傾いた状態で接続されている。
【0009】
この状態では、フレキシブル管Tに対するシール部材16の密着性に周方向で偏りが生じる。例えば図10では、フレキシブル管Tの上側の外周面とシール部材16との締め代は十分確保されているのに対して、フレキシブル管Tの下側の外周面とシール部材16との締め代は浅くなっている。そして、この状態で、さらにフレキシブル管Tに所定の方向に曲げ外力が加わると、シール部材16の締め代がさらに減少して、十分なシール性能を得られなくなることが考えられる。
【0010】
本発明は、このような事情に鑑みてなされたものであり、フレキシブル管が斜めに挿入された場合であっても、リテーナの爪部を適正位置に収めることができ、ひいてはより確実なシール性能を実現することができるフレキシブル管用継手を提供することを目的とする。
【課題を解決するための手段】
(【0011】以降は省略されています)
特許ウォッチbot のツイートを見る
この特許をJ-PlatPat(特許庁公式サイト)で参照する
関連特許
個人
鍋虫ねじ
1か月前
個人
紛体用仕切弁
1か月前
個人
ホース保持具
5か月前
個人
回転伝達機構
2か月前
個人
差動歯車用歯形
3か月前
個人
ジョイント
20日前
個人
給排気装置
2日前
個人
ナット
21日前
株式会社不二工機
電磁弁
3か月前
株式会社不二工機
電磁弁
4か月前
個人
地震の揺れ回避装置
2か月前
個人
吐出量監視装置
1か月前
柿沼金属精機株式会社
分岐管
1か月前
カヤバ株式会社
緩衝器
3か月前
カヤバ株式会社
緩衝器
3か月前
カヤバ株式会社
緩衝器
1日前
カヤバ株式会社
ダンパ
3か月前
カヤバ株式会社
ダンパ
3か月前
株式会社奥村組
制振機構
10日前
株式会社タカギ
水栓装置
2か月前
株式会社奥村組
制振機構
10日前
個人
固着具と固着具の固定方法
4か月前
アズビル株式会社
回転弁
14日前
株式会社ノーリツ
分配弁
5か月前
株式会社ノーリツ
分配弁
5か月前
株式会社ノーリツ
分配弁
5か月前
株式会社ニフコ
クリップ
6日前
株式会社不二工機
電動弁
2日前
日東電工株式会社
断熱材
5か月前
株式会社不二工機
電磁弁
1か月前
個人
固着具と固着具の固定方法
6か月前
株式会社ノーリツ
分配弁
6日前
個人
固着具と固着具の固定方法
4か月前
個人
固着具と固着具の固定方法
4か月前
株式会社フジキン
ボールバルブ
4か月前
個人
ワンウェイベアリング
2か月前
続きを見る
他の特許を見る