TOP
|
特許
|
意匠
|
商標
特許ウォッチ
Twitter
他の特許を見る
10個以上の画像は省略されています。
公開番号
2025138199
公報種別
公開特許公報(A)
公開日
2025-09-25
出願番号
2024037141
出願日
2024-03-11
発明の名称
システムおよび画像形成装置
出願人
ブラザー工業株式会社
代理人
弁理士法人コスモス国際特許商標事務所
主分類
H04N
1/00 20060101AFI20250917BHJP(電気通信技術)
要約
【課題】情報処理装置から画像形成装置をリモート操作で制御する新たな技術を提供すること。
【解決手段】MFP1は、クラウドストレージサービス200を介して、PC5からクラウド遠隔操作の開始指示を受け付けると、クラウド遠隔操作を開始可能である。MFP1は、クラウドストレージサービス200を介さないローカル通信によって、PC7からローカル遠隔操作の開始指示を受け付けると、ローカル遠隔操作を開始可能である。MFP1は、クラウド遠隔操作の提供を開始している状態で、PC7からローカル遠隔操作の開始指示を受け付けても、ローカル遠隔操作の提供を開始可能とし、ローカル遠隔操作の提供を開始している状態で、PC5からクラウド遠隔操作の開始指示を受け付けても、クラウド遠隔操作の提供を開始可能とする。
【選択図】図3
特許請求の範囲
【請求項1】
画像形成装置と、第1情報処理装置と、第2情報処理装置と、を含むシステムであって、前記第1情報処理装置、前記第2情報処理装置、および前記画像形成装置は、インターネットに接続され、
前記第1情報処理装置および前記第2情報処理装置は、ブラウザをインストール可能であり、
前記画像形成装置は、前記インターネットに接続されるクラウドストレージを介して、前記第1情報処理装置から第1リモート操作の開始指示を受け付けると、前記ブラウザにおいて動作可能な第1リモート操作用プログラムを、前記クラウドストレージにアップロードするプログラムアップロード処理を実行し、前記第1リモート操作用プログラムが前記クラウドストレージにアップロードされると、前記第1情報処理装置にインストールされた前記ブラウザが、前記第1情報処理装置に、前記第1リモート操作用プログラムを前記クラウドストレージからダウンロードさせることが可能であり、
前記画像形成装置はさらに、前記第1リモート操作の前記開始指示を受け付けた後、第1リモート操作画面を示す第1画像データを、前記クラウドストレージにアップロードする画像アップロード処理を実行可能であり、
前記第1リモート操作用プログラムは、前記第1情報処理装置に、前記クラウドストレージから前記第1画像データをダウンロードし、前記第1画像データに示される前記第1リモート操作画面を、前記ブラウザを用いて前記第1情報処理装置のユーザインタフェースに表示させる画面表示処理を実行させることが可能であり、
前記第1リモート操作用プログラムはさらに、前記第1情報処理装置の前記ユーザインタフェースを介して前記第1リモート操作画面への操作を受け付けると、前記第1情報処理装置に、操作内容を示す第1操作データを、前記クラウドストレージにアップロードする操作アップロード処理を実行させ、
前記画像形成装置は、前記第1操作データが前記クラウドストレージにアップロードされると、前記第1操作データを前記クラウドストレージからダウンロードし、前記第1操作データに示される操作に対応する処理を実行し、ダウンロードした前記第1操作データに示される操作が、画像形成に関する操作であれば、その操作に対応する処理として画像形成処理を実行し、
前記画像形成装置は、前記クラウドストレージを介さないローカル通信によって、前記第2情報処理装置から第2リモート操作の開始指示を受け付けると、前記ブラウザにおいて動作可能な第2リモート操作用プログラムを、前記クラウドストレージを介さずに、前記第2情報処理装置に返信するプログラム返信処理を実行し、前記第2情報処理装置にインストールされた前記ブラウザが、前記画像形成装置から返信された前記第2リモート操作用プログラムを取得し、
前記画像形成装置はさらに、前記第2リモート操作の前記開始指示を受け付けた後、第2リモート操作画面を示す第2画像データを、前記クラウドストレージを介さずに、前記第2情報処理装置に送信する画像送信処理を実行可能であり、
前記第2リモート操作用プログラムは、前記第2情報処理装置が前記第2画像データを受信した場合に、前記第2情報処理装置に、受信した前記第2画像データに示される前記第2リモート操作画面を、前記ブラウザを用いて前記第2情報処理装置のユーザインタフェースに表示させるローカル画面表示処理を実行させ、
前記第2リモート操作用プログラムはさらに、前記第2情報処理装置の前記ユーザインタフェースを介して前記第2リモート操作画面への操作を受け付けると、前記第2情報処理装置に、前記クラウドストレージを介さずに、操作内容を示す第2操作データを前記画像形成装置に送信する操作送信処理を実行させ、
前記画像形成装置は、前記第2情報処理装置からの前記第2操作データを受信すると、受信した前記第2操作データに示される操作に対応する処理を実行し、受信した前記第2操作データに示される操作が、画像形成に関する操作であれば、その操作に対応する処理として画像形成処理を実行し、
前記画像形成装置は、前記第1リモート操作の前記開始指示を受け付けた後、前記プログラムアップロード処理を実行することによって前記第1リモート操作の提供を開始すると、前記第1リモート操作の終了条件を満たすまで、第1リモート操作提供状態となり、
前記画像形成装置は、前記第2リモート操作の前記開始指示を受け付けた後、前記プログラム返信処理を実行することによって前記第2リモート操作の提供を開始すると、前記第2リモート操作の終了条件を満たすまで、第2リモート操作提供状態となり、
前記画像形成装置は、前記第1リモート操作提供状態で、前記第2情報処理装置から前記第2リモート操作の前記開始指示を受け付けても、前記第2リモート操作の提供を開始可能とし、
前記画像形成装置は、前記第2リモート操作提供状態で、前記第1情報処理装置から前記第1リモート操作の前記開始指示を受け付けても、前記第1リモート操作の提供を開始可能とする、
ように構成されるシステム。
続きを表示(約 5,100 文字)
【請求項2】
請求項1に記載するシステムであって、
前記画像形成装置は、ディスプレイを備え、前記ディスプレイに本体操作画面を表示し、前記画像アップロード処理では、前記ディスプレイに表示される前記本体操作画面を仮想的に再現するための画像データを、前記第1リモート操作画面を示す前記第1画像データとして、前記クラウドストレージにアップロードし、
前記第1リモート操作用プログラムは、前記第1画像データが前記クラウドストレージにアップロードされると、前記第1情報処理装置に、前記画面表示処理を実行させることが可能であり、前記画面表示処理では、前記クラウドストレージからダウンロードされた前記第1画像データに基づく、前記本体操作画面を仮想的に再現する前記第1リモート操作画面を、前記ブラウザを用いて前記第1情報処理装置の前記ユーザインタフェースに表示させる、
ように構成されるシステム。
【請求項3】
請求項2に記載するシステムであって、
前記画像形成装置は、前記第1リモート操作提供状態で、前記第2情報処理装置から前記第2リモート操作の前記開始指示を受け付けて前記第2リモート操作の提供を開始した場合、前記画像送信処理では、前記第1リモート操作画面と同等の画面構成を再現するための画像データを、前記第2リモート操作画面を示す前記第2画像データとして、前記第2情報処理装置に送信し、
前記第2リモート操作用プログラムは、前記第2情報処理装置が前記第2画像データを受信した場合に、前記第2情報処理装置に、前記ローカル画面表示処理を実行させ、前記ローカル画面表示処理では、受信した前記第2画像データに基づく、前記第1リモート操作画面と同等の画面構成を再現する前記第2リモート操作画面を、前記ブラウザを用いて前記第2情報処理装置の前記ユーザインタフェースに表示させる、
ように構成されるシステム。
【請求項4】
請求項2に記載するシステムであって、
前記画像形成装置は、前記ディスプレイに表示される前記本体操作画面の内容を変更する事象が発生した場合に、前記画像アップロード処理を実行し、前記画像アップロード処理では、変更後の前記本体操作画面を仮想的に再現するための前記第1画像データを、前記クラウドストレージにアップロードし、
前記第1リモート操作用プログラムは、変更後の前記本体操作画面を仮想的に再現するための前記第1画像データが前記クラウドストレージにアップロードされると、前記第1情報処理装置に前記画面表示処理を実行させ、前記画面表示処理では、前記クラウドストレージから変更後の前記本体操作画面を仮想的に再現するための前記第1画像データをダウンロードし、変更後の前記本体操作画面を仮想的に再現する前記第1リモート操作画面を、前記ブラウザを用いて前記第1情報処理装置の前記ユーザインタフェースに表示させる、
ように構成されるシステム。
【請求項5】
請求項4に記載するシステムであって、
前記画像形成装置は、前記第1リモート操作提供状態で、前記第2情報処理装置から前記第2リモート操作の前記開始指示を受け付けて前記第2リモート操作の提供を開始した後、前記ディスプレイに表示される前記本体操作画面の内容を変更する事象が発生した場合に、前記画像アップロード処理と、前記画像送信処理と、を実行し、前記画像アップロード処理では、変更後の前記本体操作画面を仮想的に再現するための前記第1画像データを、前記クラウドストレージにアップロードし、前記画像送信処理では、変更後の前記第1リモート操作画面と同等の画面構成を再現するための画像データを、前記第2リモート操作画面を示す前記第2画像データとして、前記第2情報処理装置に送信し、
前記第1リモート操作用プログラムは、変更後の前記本体操作画面を仮想的に再現するための前記第1画像データが前記クラウドストレージにアップロードされると、前記第1情報処理装置に前記画面表示処理を実行させ、前記画面表示処理では、前記クラウドストレージから変更後の前記本体操作画面を仮想的に再現するための前記第1画像データをダウンロードし、変更後の前記本体操作画面を仮想的に再現する前記第1リモート操作画面を、前記ブラウザを用いて前記第1情報処理装置の前記ユーザインタフェースに表示させ、
前記第2リモート操作用プログラムは、前記第2情報処理装置が前記第2画像データを受信した場合に、前記第2情報処理装置に、前記ローカル画面表示処理を実行させ、前記ローカル画面表示処理では、受信した前記第2画像データに基づく、変更後の前記第1リモート操作画面と同等の画面構成を再現する前記第2リモート操作画面を、前記ブラウザを用いて前記第2情報処理装置の前記ユーザインタフェースに表示させる、
ように構成されるシステム。
【請求項6】
請求項2に記載するシステムであって、
前記画像形成装置は、前記クラウドストレージにアップロードされた前記第1操作データに示される操作に対応する処理の実行に伴って前記本体操作画面の内容を変更可能であり、前記第1操作データに示される操作に対応する前記処理の実行に伴って前記本体操作画面の内容を変更した場合に、前記画像アップロード処理を実行することによって、前記第1操作データに示される操作に対応する前記処理に伴う変更後の前記本体操作画面を仮想的に再現するための前記第1画像データを、前記クラウドストレージにアップロードし、
前記第1リモート操作用プログラムは、前記第1操作データに示される操作に対応する前記処理に伴う変更後の前記本体操作画面を仮想的に再現するための前記第1画像データが前記クラウドストレージにアップロードされると、前記第1情報処理装置に前記画面表示処理を実行させ、前記画面表示処理では、前記クラウドストレージから前記第1操作データに示される操作に対応する前記処理に伴う変更後の前記本体操作画面を仮想的に再現するための前記第1画像データをダウンロードさせ、前記第1操作データに示される操作に対応する前記処理に伴う変更後の前記本体操作画面を仮想的に再現する前記第1リモート操作画面を、前記ブラウザを用いて前記第1情報処理装置の前記ユーザインタフェースに表示させる、
ように構成されるシステム。
【請求項7】
請求項6に記載するシステムであって、
前記画像形成装置は、前記第1リモート操作提供状態で、前記第2情報処理装置から前記第2リモート操作の前記開始指示を受け付けて前記第2リモート操作の提供を開始した後、前記クラウドストレージにアップロードされた前記第1操作データに示される操作に対応する処理の実行に伴って前記本体操作画面の内容を変更した場合に、前記画像アップロード処理することによって、前記第1操作データに示される操作に対応する前記処理に伴う変更後の前記本体操作画面を仮想的に再現するための前記第1画像データを、前記クラウドストレージにアップロードし、前記画像送信処理を実行することによって、変更後の前記第1リモート操作画面と同等の画面構成を再現するための画像データを、前記第2リモート操作画面を示す前記第2画像データとして、前記第2情報処理装置に送信し、
前記第1リモート操作用プログラムは、前記第1操作データに示される操作に対応する前記処理に伴う変更後の前記本体操作画面を仮想的に再現するための前記第1画像データが前記クラウドストレージにアップロードされると、前記第1情報処理装置に前記画面表示処理を実行させ、前記画面表示処理では、前記クラウドストレージから前記第1操作データに示される操作に対応する前記処理に伴う変更後の前記本体操作画面を仮想的に再現するための前記第1画像データをダウンロードさせ、前記第1操作データに示される操作に対応する前記処理に伴う変更後の前記本体操作画面を仮想的に再現する前記第1リモート操作画面を、前記ブラウザを用いて前記第1情報処理装置の前記ユーザインタフェースに表示させ、
前記第2リモート操作用プログラムは、前記第2情報処理装置が前記第2画像データを受信した場合に、前記第2情報処理装置に、前記ローカル画面表示処理を実行させ、前記ローカル画面表示処理では、受信した前記第2画像データに基づく、変更後の前記第1リモート操作画面と同等の画面構成を再現する前記第2リモート操作画面を、前記ブラウザを用いて前記第2情報処理装置の前記ユーザインタフェースに表示させる、
ように構成されるシステム。
【請求項8】
請求項1に記載するシステムであって、
前記画像形成装置は、タッチパネルを備え、前記タッチパネルに複数の操作子を含む本体パネル画面を表示し、前記複数の操作子の1つへの操作を受け付けると、操作を受け付けた前記操作子に基づく処理を実行し、
前記第1リモート操作用プログラムは、前記第1情報処理装置に、前記画面表示処理を実行させることが可能であり、前記画面表示処理では、前記クラウドストレージからダウンロードされた前記第1画像データに基づく、前記本体パネル画面を仮想的に再現する前記第1リモート操作画面を、前記ブラウザを用いて前記第1情報処理装置の前記ユーザインタフェースに表示させ、
前記第1リモート操作用プログラムはさらに、前記第1情報処理装置の前記ユーザインタフェースを介して前記第1リモート操作画面に表示される前記複数の操作子の1つへの操作を受け付けると、前記第1情報処理装置に前記操作アップロード処理を実行させ、前記操作アップロード処理では、操作を受け付けた前記操作子を特定する情報を前記第1操作データとして、前記クラウドストレージにアップロードし、
前記画像形成装置は、前記第1操作データが前記クラウドストレージにアップロードされると、前記第1操作データを前記クラウドストレージからダウンロードし、前記第1操作データによって特定される前記操作子に基づく処理を実行する、
ように構成されるシステム。
【請求項9】
請求項8に記載するシステムであって、
前記画像形成装置は、前記タッチパネルを含む操作盤を備え、前記操作盤には、複数のハードウェアキーも含まれ、前記複数のハードウェアキーの1つへの操作を受け付けると、操作を受け付けた前記ハードウェアキーに基づく処理を実行し、
前記第1リモート操作用プログラムは、前記第1情報処理装置に、前記画面表示処理を実行させることが可能であり、前記画面表示処理では、前記クラウドストレージからダウンロードされた前記第1画像データに基づく、前記操作盤を仮想的に再現する前記第1リモート操作画面を、前記ブラウザを用いて前記第1情報処理装置の前記ユーザインタフェースに表示させ、
前記第1リモート操作用プログラムはさらに、前記第1情報処理装置の前記ユーザインタフェースを介して前記第1リモート操作画面に表示される前記複数のハードウェアキーの1つへの操作を受け付けると、前記第1情報処理装置に前記操作アップロード処理を実行させ、前記操作アップロード処理では、操作を受け付けた前記ハードウェアキーを特定する情報を前記第1操作データとして、前記クラウドストレージにアップロードし、
前記画像形成装置は、前記第1操作データが前記クラウドストレージにアップロードされると、前記第1操作データを前記クラウドストレージからダウンロードし、前記第1操作データによって特定される前記ハードウェアキーに基づく処理を実行する、
ように構成されるシステム。
【請求項10】
請求項1に記載するシステムであって、
前記画像形成装置は、前記第1リモート操作提供状態で、前記第1情報処理装置とは別の情報処理装置から前記第1リモート操作の前記開始指示を受け付けても、前記第1リモート操作の提供を開始しない、
ように構成されるシステム。
(【請求項11】以降は省略されています)
発明の詳細な説明
【技術分野】
【0001】
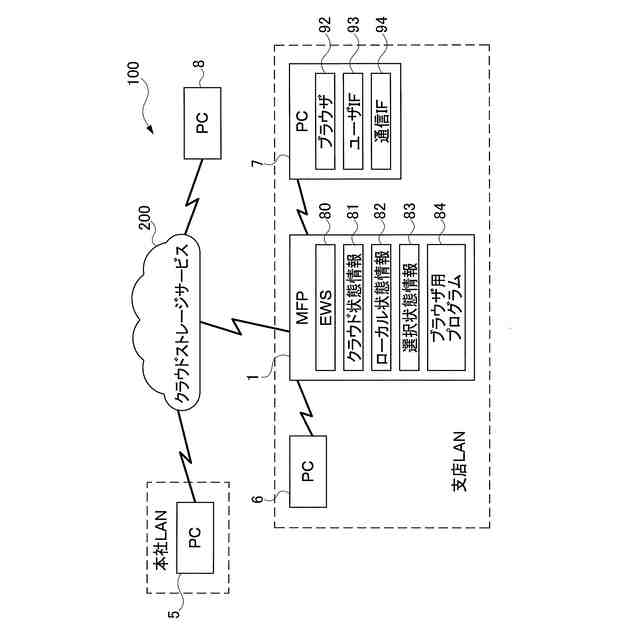
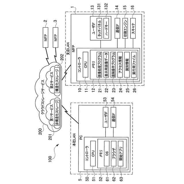
本明細書に開示される技術分野は、情報処理装置から画像形成装置を制御するシステムに関する。
続きを表示(約 3,800 文字)
【背景技術】
【0002】
印刷やスキャン等の画像形成を行うことが可能な画像形成装置であって、操作盤を介して各種の入力操作を受け付ける技術が知られている。例えば特許文献1には、印刷部と、画像読み取り部と、操作パネルと、を備える機能実行装置であって、操作パネルは、ハードウェアキーとタッチパネルとを含み、ハードウェアキーへの入力操作やタッチパネルに表示されるアイコンないしボタンへの入力操作を受け付ける構成が開示されている。
【先行技術文献】
【特許文献】
【0003】
特開2021-73543号公報
【発明の概要】
【発明が解決しようとする課題】
【0004】
近年、画像形成装置に対して、情報処理装置から、その画像形成装置の操作盤に触れずに、その操作盤で受け付けられる入力操作を可能にする、いわゆるリモート操作の要望が高まっている。特許文献1には、画像形成装置をリモート操作で制御する技術は開示されておらず、改善の余地がある。
【課題を解決するための手段】
【0005】
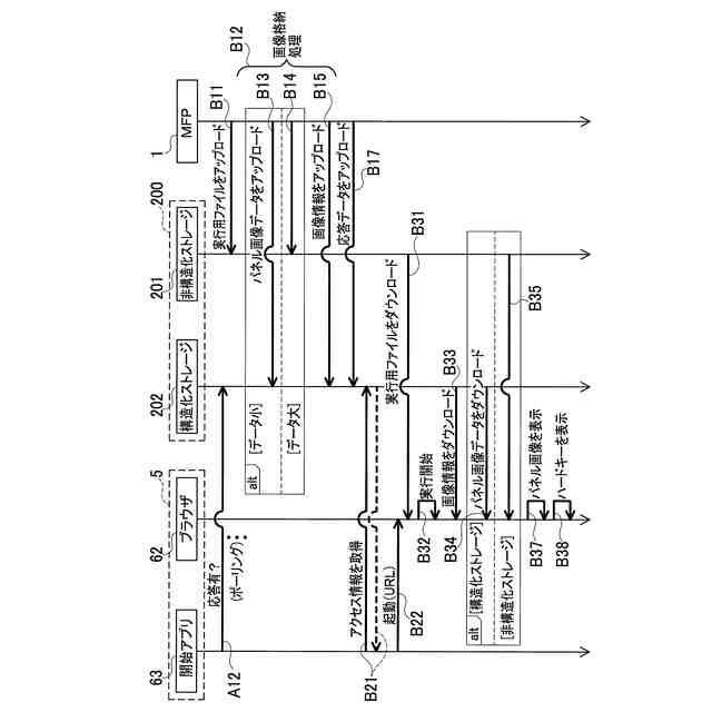
この課題の解決を目的としてなされたシステムは、画像形成装置と、第1情報処理装置と、第2情報処理装置と、を含むシステムであって、前記第1情報処理装置、前記第2情報処理装置、および前記画像形成装置は、インターネットに接続され、前記第1情報処理装置および前記第2情報処理装置は、ブラウザをインストール可能であり、前記画像形成装置は、前記インターネットに接続されるクラウドストレージを介して、前記第1情報処理装置から第1リモート操作の開始指示を受け付けると、前記ブラウザにおいて動作可能な第1リモート操作用プログラムを、前記クラウドストレージにアップロードするプログラムアップロード処理を実行し、前記第1リモート操作用プログラムが前記クラウドストレージにアップロードされると、前記第1情報処理装置にインストールされた前記ブラウザが、前記第1情報処理装置に、前記第1リモート操作用プログラムを前記クラウドストレージからダウンロードさせることが可能であり、前記画像形成装置はさらに、前記第1リモート操作の前記開始指示を受け付けた後、第1リモート操作画面を示す第1画像データを、前記クラウドストレージにアップロードする画像アップロード処理を実行可能であり、前記第1リモート操作用プログラムは、前記第1情報処理装置に、前記クラウドストレージから前記第1画像データをダウンロードし、前記第1画像データに示される前記第1リモート操作画面を、前記ブラウザを用いて前記第1情報処理装置のユーザインタフェースに表示させる画面表示処理を実行させることが可能であり、前記第1リモート操作用プログラムはさらに、前記第1情報処理装置の前記ユーザインタフェースを介して前記第1リモート操作画面への操作を受け付けると、前記第1情報処理装置に、操作内容を示す第1操作データを、前記クラウドストレージにアップロードする操作アップロード処理を実行させ、前記画像形成装置は、前記第1操作データが前記クラウドストレージにアップロードされると、前記第1操作データを前記クラウドストレージからダウンロードし、前記第1操作データに示される操作に対応する処理を実行し、ダウンロードした前記第1操作データに示される操作が、画像形成に関する操作であれば、その操作に対応する処理として画像形成処理を実行し、前記画像形成装置は、前記クラウドストレージを介さないローカル通信によって、前記第2情報処理装置から第2リモート操作の開始指示を受け付けると、前記ブラウザにおいて動作可能な第2リモート操作用プログラムを、前記クラウドストレージを介さずに、前記第2情報処理装置に返信するプログラム返信処理を実行し、前記第2情報処理装置にインストールされた前記ブラウザが、前記画像形成装置から返信された前記第2リモート操作用プログラムを取得し、前記画像形成装置はさらに、前記第2リモート操作の前記開始指示を受け付けた後、第2リモート操作画面を示す第2画像データを、前記クラウドストレージを介さずに、前記第2情報処理装置に送信する画像送信処理を実行可能であり、前記第2リモート操作用プログラムは、前記第2情報処理装置が前記第2画像データを受信した場合に、前記第2情報処理装置に、受信した前記第2画像データに示される前記第2リモート操作画面を、前記ブラウザを用いて前記第2情報処理装置のユーザインタフェースに表示させるローカル画面表示処理を実行させ、前記第2リモート操作用プログラムはさらに、前記第2情報処理装置の前記ユーザインタフェースを介して前記第2リモート操作画面への操作を受け付けると、前記第2情報処理装置に、前記クラウドストレージを介さずに、操作内容を示す第2操作データを前記画像形成装置に送信する操作送信処理を実行させ、前記画像形成装置は、前記第2情報処理装置からの前記第2操作データを受信すると、受信した前記第2操作データに示される操作に対応する処理を実行し、受信した前記第2操作データに示される操作が、画像形成に関する操作であれば、その操作に対応する処理として画像形成処理を実行し、前記画像形成装置は、前記第1リモート操作の前記開始指示を受け付けた後、前記プログラムアップロード処理を実行することによって前記第1リモート操作の提供を開始すると、前記第1リモート操作の終了条件を満たすまで、第1リモート操作提供状態となり、前記画像形成装置は、前記第2リモート操作の前記開始指示を受け付けた後、前記プログラム返信処理を実行することによって前記第2リモート操作の提供を開始すると、前記第2リモート操作の終了条件を満たすまで、第2リモート操作提供状態となり、前記画像形成装置は、前記第1リモート操作提供状態で、前記第2情報処理装置から前記第2リモート操作の前記開始指示を受け付けても、前記第2リモート操作の提供を開始可能とし、前記画像形成装置は、前記第2リモート操作提供状態で、前記第1情報処理装置から前記第1リモート操作の前記開始指示を受け付けても、前記第1リモート操作の提供を開始可能とする、ように構成される。
【0006】
本明細書に開示されるシステムでの、クラウドストレージを介した第1リモート操作と、ローカル通信による第2リモート操作と、は別機能であり、操作する人の立場も異なることが想定される。本明細書に開示されるシステムは、一方のリモート操作を提供している状態で他方のリモート操作の開始指示を受け付けたとしても、他方のリモート操作の提供を開始可能にする。従って、両方のリモート操作の同時利用が可能になる、すなわち、第1情報処理装置からも第2情報処理装置からも同時に画像形成装置をリモート操作可能になり、画像形成装置の利便性が向上する。
【0007】
上記システムの機能を実現するための制御方法、システムに含まれる画像形成装置、各装置にて実行されるコンピュータプログラム、当該コンピュータプログラムを格納するコンピュータにて読取可能な記憶媒体も、新規で有用である。
【発明の効果】
【0008】
本明細書に開示される技術によれば、情報処理装置から画像形成装置をリモート操作で制御する新たな技術が実現される。
【図面の簡単な説明】
【0009】
本形態の遠隔操作システムの概要を示す説明図である。
本形態の遠隔操作システムの概要を示す説明図である。
MFPとローカル接続可能なPCを示す説明図である。
開始指示手順の例を示すシーケンス図である。
データ構造の例を示す説明図である。
開始判断処理の手順の例を示すフローチャートである。
利用許諾確認画面の例を示す説明図である。
画面準備手順の例を示すシーケンス図である。
実行用ファイルの例を示す説明図である。
画像格納処理の手順の例を示すフローチャートである。
構造化ストレージに格納される情報の例を示す説明図である。
画面が同期している状態の例を示す説明図である。
遠隔操作手順の例を示すシーケンス図である。
ブラウザ画像変更処理の手順の例を示すフローチャートである。
デバイス画像変更処理の手順の例を示すフローチャートである。
操作情報処理の手順の例を示すフローチャートである。
操作終了手順の例を示すシーケンス図である。
ローカル操作手順の例を示すシーケンス図である。
HTMLファイルの例を示す説明図である。
【発明を実施するための形態】
【0010】
以下、遠隔操作システムを具体化した実施の形態について、添付図面を参照しつつ詳細に説明する。本明細書では、印刷機能を有する複合機(以下、「MFP」とする)を、インターネットを介してリモート操作するための遠隔操作システムを開示する。
(【0011】以降は省略されています)
この特許をJ-PlatPat(特許庁公式サイト)で参照する
関連特許
ブラザー工業株式会社
搬送装置
1日前
ブラザー工業株式会社
制御装置
3日前
ブラザー工業株式会社
画像形成装置
7日前
ブラザー工業株式会社
画像形成装置
今日
ブラザー工業株式会社
画像形成装置
13日前
ブラザー工業株式会社
画像形成装置
13日前
ブラザー工業株式会社
液体吐出装置
7日前
ブラザー工業株式会社
液体吐出装置
7日前
ブラザー工業株式会社
画像形成装置
3日前
ブラザー工業株式会社
液体吐出ヘッド
3日前
ブラザー工業株式会社
サポートプログラム
6日前
ブラザー工業株式会社
システム及び管理装置
1日前
ブラザー工業株式会社
システム及びプログラム
1日前
ブラザー工業株式会社
システム及びプログラム
1日前
ブラザー工業株式会社
プログラム及び情報処理装置
3日前
ブラザー工業株式会社
プリンタ、及び切断ユニット
3日前
ブラザー工業株式会社
システムおよび画像形成装置
7日前
ブラザー工業株式会社
システムおよび画像形成装置
7日前
ブラザー工業株式会社
システムおよび画像形成装置
7日前
ブラザー工業株式会社
システムおよび画像形成装置
7日前
ブラザー工業株式会社
システムおよび画像形成装置
7日前
ブラザー工業株式会社
プログラムおよび情報処理装置
3日前
ブラザー工業株式会社
カシメ装置及び缶製品作製装置
7日前
ブラザー工業株式会社
回転継手装置、モータ、及び工作機械
7日前
ブラザー工業株式会社
情報処理プログラム及び情報処理装置
今日
ブラザー工業株式会社
トナーカートリッジのリサイクル方法
今日
ブラザー工業株式会社
プログラム、および、データ処理装置
3日前
ブラザー工業株式会社
画像処理プログラム及び情報処理装置
3日前
ブラザー工業株式会社
層形成方法、基材再生方法、及び印刷物製造方法
13日前
ブラザー工業株式会社
画像処理装置、画像処理方法、および、プログラム
3日前
ブラザー工業株式会社
通信装置及び通信装置のためのコンピュータプログラム
3日前
ブラザー工業株式会社
画像処理プログラム、情報処理装置、及び画像処理方法
3日前
ブラザー工業株式会社
通信機器
13日前
ブラザー工業株式会社
画像処理装置
13日前
ブラザー工業株式会社
ラベル貼付装置
13日前
ブラザー工業株式会社
サポートプログラム
13日前
続きを見る
他の特許を見る