TOP
|
特許
|
意匠
|
商標
特許ウォッチ
Twitter
他の特許を見る
10個以上の画像は省略されています。
公開番号
2025145040
公報種別
公開特許公報(A)
公開日
2025-10-03
出願番号
2024045013
出願日
2024-03-21
発明の名称
仮想プリンタ管理プログラム
出願人
ブラザー工業株式会社
代理人
弁理士法人第一テクニカル国際特許事務所
主分類
G06F
3/12 20060101AFI20250926BHJP(計算;計数)
要約
【課題】所望の印刷装置に対応する仮想プリンタによる固有の印刷設定をユーザが仮想プリンタに応じた処理をすることなく実行可能とする。
【解決手段】ランチャー106は、端末装置100のプロセッサ110に対し、複数のプリンタアプリケーション170に対応する複数のプリンタ200を選択可能なダイアログボックスDB1を端末装置100の表示部140に表示させる表示データを出力するステップS20と、表示されたダイアログボックスDB1にて複数のプリンタ200の中の1つのプリンタ200の選択操作を受け付けるステップS400と、複数のプリンタアプリケーション170のうち、ステップS400で受け付けた1つのプリンタ200に対応する1つのプリンタアプリケーション170に、選択を受け付けた1つのプリンタ200の印刷設定画面を端末装置100の表示部140に表示させるための処理をするステップS420と、を実行させる。
【選択図】図14
特許請求の範囲
【請求項1】
複数の印刷装置と接続可能な情報処理装置の演算部により実行可能な仮想プリンタ管理プログラムであって、前記情報処理装置は、オペレーティングシステムに標準に搭載されプリンタベンダの提供するドライバを用いないドライバレス印刷を実行可能なOS標準印刷ソフトウェアと、前記複数の印刷装置に対応する仮想プリンタとして前記OS標準印刷ソフトウェアに登録された複数の情報処理プログラムと、を有し、
前記仮想プリンタ管理プログラムは、前記情報処理装置の演算部に対し、
前記複数の情報処理プログラムに対応する前記複数の印刷装置を選択可能な選択画面を前記情報処理装置の表示部に表示させる選択画面表示データを出力する選択画面表示処理と、
表示された前記選択画面にて前記複数の印刷装置の中の1つの印刷装置の選択操作を受け付ける選択受付処理と、
前記複数の情報処理プログラムのうち、前記選択受付処理で受け付けた前記1つの印刷装置に対応する1つの情報処理プログラムに、前記選択受付処理で受け付けた前記1つの印刷装置の印刷設定画面を前記情報処理装置の表示部に表示させるための処理をする、設定画面起動処理と、
を実行させるよう構成されている仮想プリンタ管理プログラム。
続きを表示(約 1,800 文字)
【請求項2】
前記設定画面起動処理は、
前記選択受付処理で受け付けた前記1つの印刷装置に対応する前記1つの情報処理プログラムの設定画面用アドレスを用いて、前記情報処理装置のブラウザに前記印刷設定画面を表示させる、
よう構成されている、請求項1記載の仮想プリンタ管理プログラム。
【請求項3】
前記選択画面表示処理で表示される前記選択画面は、
前記複数の印刷装置のおのおのを選択するための複数の選択オブジェクトを含み、前記複数の選択オブジェクトには、それぞれ対応する印刷設定画面への設定画面用アドレスがリンク先として紐づけられており、
前記選択受付処理は、前記複数の選択オブジェクトの中の1つの選択オブジェクトが操作されることで前記1つの印刷装置の選択操作を受け付ける、
よう構成されている、請求項2記載の仮想プリンタ管理プログラム。
【請求項4】
前記演算部に対し、さらに、
前記複数の情報処理プログラムのそれぞれについてインストールを受け付けるインストール受付処理と、
前記インストール受付処理により受け付けられた前記複数の情報処理プログラムがそれぞれインストールされる時に、前記複数の情報処理プログラムに対応した複数のポート情報を記憶するポート情報記憶処理と、
を実行させ、
前記設定画面起動処理は、前記選択受付処理にて選択操作が受け付けられた前記1つの印刷装置に対応する1つの情報処理プログラムに対応した前記複数のポート情報の中の1つに基づく処理である、
よう構成されている、請求項2又は請求項3に記載の仮想プリンタ管理プログラム。
【請求項5】
前記複数の情報処理プログラムに対応した前記複数のポート情報はURIの形式の情報である、
よう構成されている、請求項4記載の仮想プリンタ管理プログラム。
【請求項6】
前記インストール受付処理は、
前記表示部における所定操作に基づき、前記複数の情報処理プログラムのそれぞれについてパッケージを選択可能に表示するパッケージ表示処理、
を実行させ、
前記インストール受付処理では、前記パッケージ表示処理で表示された前記パッケージの選択を受け付ける
よう構成されている、請求項4記載の仮想プリンタ管理プログラム。
【請求項7】
前記演算部に対し、さらに、
前記ポート情報記憶処理で記憶された前記ポート情報を読み出して取得するポート情報取得処理と、
前記ポート情報取得処理で取得された前記ポート情報に対応した、前記情報処理プログラムに対応付ける前記印刷装置の追加設定画面への移行を行うプリンタ追加画面移行処理と、
を実行させるよう構成されている、請求項4記載の仮想プリンタ管理プログラム。
【請求項8】
前記演算部に対し、さらに、
前記ポート情報取得処理で取得された前記ポート情報に基づき、処理対象とする前記前記情報処理プログラムにアクセスする情報処理プログラムアクセス処理と、
前記情報処理プログラムアクセス処理でアクセスした前記情報処理プログラムに対応付けられている前記印刷装置に関わる印刷装置情報を取得する印刷装置情報取得処理と、
を実行させ、
前記印刷装置情報は前記印刷設定画面への設定画面用アドレスを含む、
よう構成されている、請求項7記載の仮想プリンタ管理プログラム。
【請求項9】
前記複数の情報処理プログラムの中の1つの情報処理プログラムは、前記複数の印刷装置の中の第1印刷装置及び第2印刷装置に対応可能であり、
前記設定画面起動処理は、
前記1つの情報処理プログラムが対応する前記第1印刷装置の選択操作を受け付けた場合、前記1つの情報処理プログラムが前記第1印刷装置の印刷設定画面を前記情報処理装置の表示部に表示させるための処理をし、
前記1つの情報処理プログラムが対応する前記第2印刷装置の選択操作を受け付けた場合、前記1つの情報処理プログラムが前記第2印刷装置の印刷設定画面を前記情報処理装置の表示部に表示させるための処理をする、
よう構成されている、請求項1記載の仮想プリンタ管理プログラム。
発明の詳細な説明
【技術分野】
【0001】
本発明は、印刷装置に対し通信可能な情報処理装置で実行される仮想プリンタ管理プログラムに関する。
続きを表示(約 2,900 文字)
【背景技術】
【0002】
従来、例えば特許文献1に記載のように、複数の印刷装置の能力情報の和に基づいてあたかも1台の仮想プリンタのように動作するアプリケーションプログラムが知られている。この従来技術のプログラムでは、印刷に用いる印刷装置の固有の印刷設定を受け付け、印刷指示を受信した場合に、複数の印刷装置のうち受け付けた印刷設定に最適な1つの印刷装置が選抜され、当該印刷装置に対し印刷データが送信される。
【先行技術文献】
【特許文献】
【0003】
特開2020-160905号公報
【発明の概要】
【発明が解決しようとする課題】
【0004】
上記従来技術では、ユーザは、複数の印刷装置のうちどの印刷装置にて印刷するのかを意識しないで、仮想プリンタに対し印刷装置に固有の印刷設定をすることができる。しかしながら、仮想プリンタと印刷装置との対応付けはユーザにとって明らかではなく、ユーザが所望の印刷装置と異なる印刷装置で印刷が実行される場合が生じ得る。
【0005】
本発明の目的は、所望の印刷装置に対応する仮想プリンタによる固有の印刷設定をユーザが仮想プリンタに応じた処理をすることなく実行可能な管理プログラムを提供することにある。
【課題を解決するための手段】
【0006】
上記目的を達成するために、本願発明の情報処理プログラムは、複数の印刷装置と接続可能な情報処理装置の演算部により実行可能な仮想プリンタ管理プログラムであって、前記情報処理装置は、オペレーティングシステムに標準に搭載されプリンタベンダの提供するドライバを用いないドライバレス印刷を実行可能なOS標準印刷ソフトウェアと、前記複数の印刷装置に対応する仮想プリンタとして前記OS標準印刷ソフトウェアに登録された複数の情報処理プログラムと、を有し、前記仮想プリンタ管理プログラムは、前記情報処理装置の演算部に対し、前記複数の情報処理プログラムに対応する前記複数の印刷装置を選択可能な選択画面を前記情報処理装置の表示部に表示させる選択画面表示データを出力する選択画面表示処理と、表示された前記選択画面にて前記複数の印刷装置の中の1つの印刷装置の選択操作を受け付ける選択受付処理と、前記複数の情報処理プログラムのうち、前記選択受付処理で受け付けた前記1つの印刷装置に対応する1つの情報処理プログラムに、前記選択受付処理で受け付けた前記1つの印刷装置の印刷設定画面を前記情報処理装置の表示部に表示させるための処理をする、設定画面起動処理と、を実行させるよう構成されている。
【0007】
本願発明の仮想プリンタ管理プログラムが演算部で実行されると、選択画面表示処理と、選択受付処理と、設定画面起動処理と、が実行される。選択画面表示処理では、複数の情報処理プログラムに対応する複数の印刷装置を選択可能な選択画面を情報処理装置の表示部に表示させる選択画面表示データが出力される。選択受付処理では、表示された選択画面にて複数の印刷装置の中の1つの印刷装置の選択操作が受け付けられる。設定画面起動処理では、複数の情報処理プログラムのうち、選択受付処理で受け付けた1つの印刷装置に対応する1つの情報処理プログラムに、選択受付処理で受け付けた1つの印刷装置の印刷設定画面を情報処理装置の表示部に表示させるための処理が実行される。
本願発明によれば、ユーザは選択画面において所望の印刷装置を選択する操作を行うことにより、当該印刷装置の印刷設定画面を情報処理装置の表示部に表示させることができる。これにより、ユーザは例えばブラウザにおいてポート番号やURL等を入力して所望の印刷装置に対応する情報処理プログラムへのアクセスを行うことなく、印刷設定を行うことができる。したがって、所望の印刷装置に対応する仮想プリンタによる固有の印刷設定をユーザが仮想プリンタに応じた処理をすることなく実行することができる。
【発明の効果】
【0008】
本発明によれば、所望の印刷装置に対応する仮想プリンタによる固有の印刷設定をユーザが仮想プリンタに応じた処理をすることなく実行できる。
【図面の簡単な説明】
【0009】
本発明の一実施形態に係る印刷システムのシステム構成及び端末装置の機能構成の一例を表すブロック図である。
端末装置に複数のプリンタアプリケーションがインストールされた場合の印刷システムの具体例を表すブロック図である。
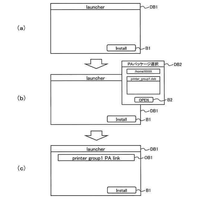
端末装置に第1プリンタアプリケーションをインストールする際に、ランチャーにより端末装置の表示部に表示されるダイアログボックスの一例を表す図である。
端末装置に第2プリンタアプリケーションをインストールする際に、ランチャーにより端末装置の表示部に表示されるダイアログボックスの一例を表す図である。
第1プリンタアプリケーションにプリンタグループ1の第1プリンタを登録する際に、ランチャーにより端末装置の表示部に表示されるダイアログボックスの一例を表す図である。
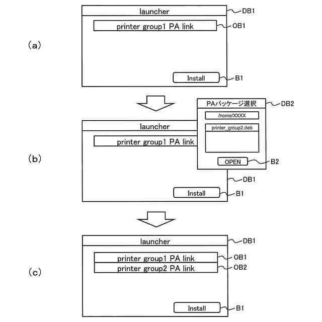
第2プリンタアプリケーションにプリンタグループ2の第2プリンタを登録する際に、ランチャーにより端末装置の表示部に表示されるダイアログボックスの一例を表す図である。
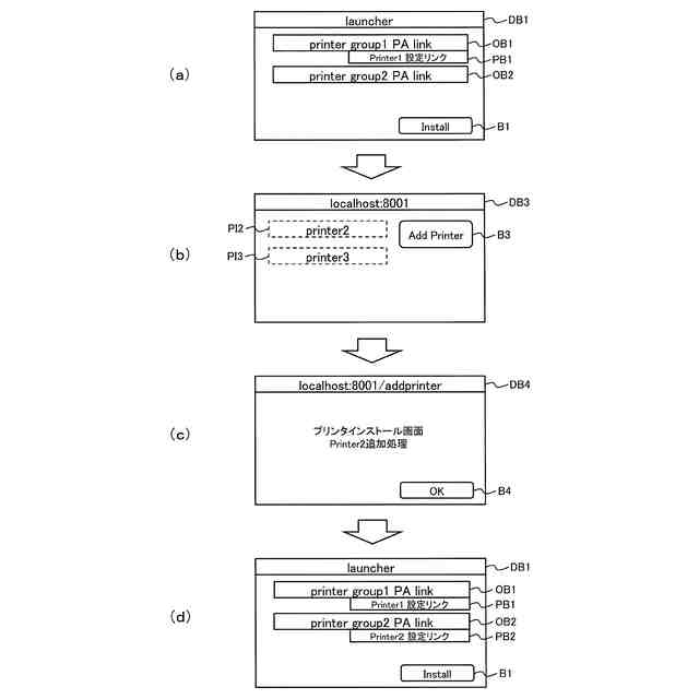
第2プリンタアプリケーションにプリンタグループ2の第3プリンタを登録する際に、ランチャーにより端末装置の表示部に表示されるダイアログボックスの一例を表す図である。
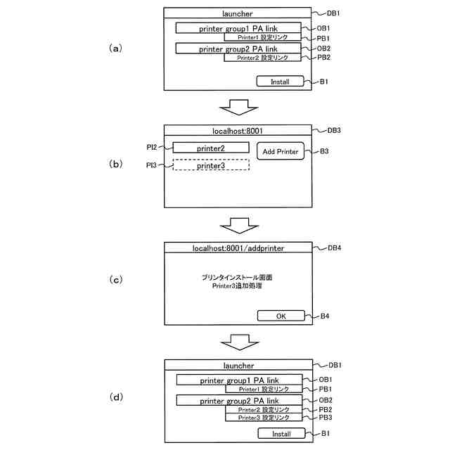
ユーザが所望のプリンタを選択して印刷設定画面を表示させる際に、ランチャーにより端末装置の表示部に表示されるダイアログボックスの一例を表す図である。
ランチャーが起動された場合に実行される制御手順の一例を表すフローチャートである。
インストールボタンのクリックイベントであるステップS100が発生した場合に、ランチャーが実行する制御手順の一例を表すフローチャートである。
プリンタアプリケーションのボタン選択イベントであるステップS200が発生した場合に、ランチャーが実行する制御手順の一例を表すフローチャートである。
プリンタアプリケーションのボタン選択イベントであるステップS300が発生した場合に、ランチャーが実行する制御手順の一例を表すフローチャートである。
ステップS310における処理対象のプリンタアプリケーションに対する処理において、ランチャーが実行する制御手順の一例を表すフローチャートである。
プリンタボタンのクリックイベントであるステップS400が発生した場合に、ランチャーが実行する制御手順の一例を表すフローチャートである。
端末装置及びプリンタのハードウェア構成の一例を表すブロック図である。
【発明を実施するための形態】
【0010】
<実施形態>
本発明の一実施形態を図面を参照しつつ説明する。
(【0011】以降は省略されています)
この特許をJ-PlatPat(特許庁公式サイト)で参照する
関連特許
個人
工程設計支援装置
1か月前
個人
地球保全システム
7日前
個人
為替ポイント伊達夢貯
1か月前
個人
冷凍食品輸出支援構造
1か月前
個人
残土処理システム
今日
個人
表変換編集支援システム
27日前
個人
結婚相手紹介支援システム
1か月前
個人
知的財産出願支援システム
1日前
個人
知財出願支援AIシステム
1か月前
個人
行動時間管理システム
29日前
個人
AIによる情報の売買の仲介
1か月前
個人
パスワード管理支援システム
27日前
株式会社アジラ
進入判定装置
1か月前
個人
システム及びプログラム
20日前
個人
海外支援型農作物活用システム
19日前
株式会社キーエンス
受発注システム
6日前
株式会社キーエンス
受発注システム
6日前
株式会社キーエンス
受発注システム
6日前
日本精機株式会社
施工管理システム
1か月前
個人
AIキャラクター制御システム
27日前
個人
食品レシピ生成システム
6日前
個人
パスポートレス入出国システム
1か月前
個人
人格進化型対話応答制御システム
27日前
サクサ株式会社
中継装置
27日前
個人
社会還元・施設向け供給支援構造
27日前
大同特殊鋼株式会社
疵判定方法
13日前
個人
帳票自動生成型SaaSシステム
1日前
大阪瓦斯株式会社
住宅設備機器
1か月前
個人
音声・通知・再配達UX制御構造
1日前
個人
冷凍加工連携型農場運用システム
1か月前
個人
SaaS型勤務調整支援システム
27日前
個人
音声対話型帳票生成支援システム
27日前
キヤノン株式会社
表示システム
6日前
個人
食事受注会計処理システム
1か月前
個人
未来型家系図構築システム
19日前
株式会社キーエンス
製品受発注システム
6日前
続きを見る
他の特許を見る