TOP
|
特許
|
意匠
|
商標
特許ウォッチ
Twitter
他の特許を見る
公開番号
2025138504
公報種別
公開特許公報(A)
公開日
2025-09-25
出願番号
2024037640
出願日
2024-03-11
発明の名称
樹脂管の寿命試験方法及び寿命試験装置
出願人
個人
,
株式会社栗本鐵工所
,
有限会社横島
代理人
弁理士法人共生国際特許事務所
主分類
G01N
3/30 20060101AFI20250917BHJP(測定;試験)
要約
【課題】短期間での試験により樹脂管の長期特性を算出できる寿命試験方法及び寿命試験装置を提供する。
【解決手段】本発明による樹脂管の寿命試験装置は、円筒状の樹脂管を切り出した短管を試験体として上下方向に引っ張る引張載荷治具と、断熱材からなり、引張載荷治具の前後左右と上部を覆い、内側に放熱板が取り付けられる保温装置と、引張載荷治具の下端に設けられ、試験体に機械的な引張り荷重を与える荷重負荷装置と、保温装置内の空気を温める発熱装置と、発熱装置を制御して、保温装置内の温度を一定に維持する温度コントローラと、試験体の変形量を測定する変位計と、引張載荷治具を吊り上げる昇降装置を備えた支持具と、が備えられる。他の実施例では変位計に替えて歪ゲージが備えられ、さらに他の実施例では、変位計に替えて荷重計が備えられる。
【選択図】図1
特許請求の範囲
【請求項1】
円筒状の樹脂管を切り出した短管を試験体とし、前記試験体を保温装置内にセットし、前記保温装置内の空気を前記樹脂管が埋設される基準温度(T
0
)よりも高温の状態として前記試験体に機械的な引張り力を加え、樹脂管の寿命を予測する樹脂管の寿命試験方法であって、
基準温度(T
0
)よりも高い少なくとも2つの温度(T
1
、T
2
)のそれぞれで、前記試験体の変形量が所定値(λ)に達する時間(m
1
、m
2
)を測定して変形速度(k
1
、k
2
)をそれぞれ求めた後、前記2つの温度(T
1
、T
2
)における変形速度(k
1
、k
2
)から基準温度(T
0
)での変形速度(k
0
)を外挿し、外挿した変形速度(k
0
)に基づいて基準温度(T
0
)での変形に要する時間(m
0
=λ/k
0
)を算出することを特徴とする樹脂管の寿命試験方法。
続きを表示(約 2,000 文字)
【請求項2】
円筒状の樹脂管を切り出した短管を試験体とし、前記試験体を保温装置内にセットし、前記保温装置内の空気を前記樹脂管が埋設される基準温度(T
0
)よりも高温の状態として前記試験体に機械的な引張り力を加え、樹脂管の寿命を予測する樹脂管の寿命試験方法であって、
基準温度(T
0
)よりも高い少なくとも2つの温度(T
1
、T
2
)のそれぞれで、前記試験体の歪量が所定値(λ)に達する時間(m
1
、m
2
)を測定して歪速度(k
1
、k
2
)をそれぞれ求めた後、前記2つの温度(T
1
、T
2
)における歪速度(k
1
、k
2
)から基準温度(T
0
)での歪速度(k
0
)を外挿し、外挿した歪速度(k
0
)に基づいて基準温度(T
0
)での歪に要する時間(m
0
=λ/k
0
)を算出することを特徴とする樹脂管の寿命試験方法。
【請求項3】
円筒状の樹脂管を切り出した短管を試験体とし、前記試験体を保温装置内にセットし、前記保温装置内の空気を前記樹脂管が埋設される基準温度(T
0
)よりも高温の状態として前記試験体に機械的な引張り力を加え、樹脂管の寿命を予測する樹脂管の寿命試験方法であって、
基準温度(T
0
)よりも高い少なくとも2つの温度(T
1
、T
2
)のそれぞれで、前記試験体の破壊応力(σ)に達する時間(m
1
、m
2
)を測定して破壊速度(k
1
、k
2
)をそれぞれ求めた後、前記2つの温度(T
1
、T
2
)における破壊速度(k
1
、k
2
)から基準温度(T
0
)での破壊速度(k
0
)を外挿し、外挿した破壊速度(k
0
)に基づいて基準温度(T
0
)での破壊応力(σ)に要する時間(m
0
=σ/k
0
)を算出することを特徴とする樹脂管の寿命試験方法。
【請求項4】
前記機械的な引張り力は、前記試験体を吊り上げて加えることを特徴とする請求項1乃至3のいずれか1項に記載の樹脂管の寿命試験方法。
【請求項5】
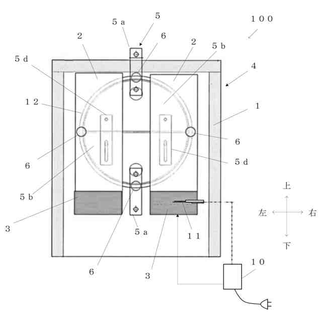
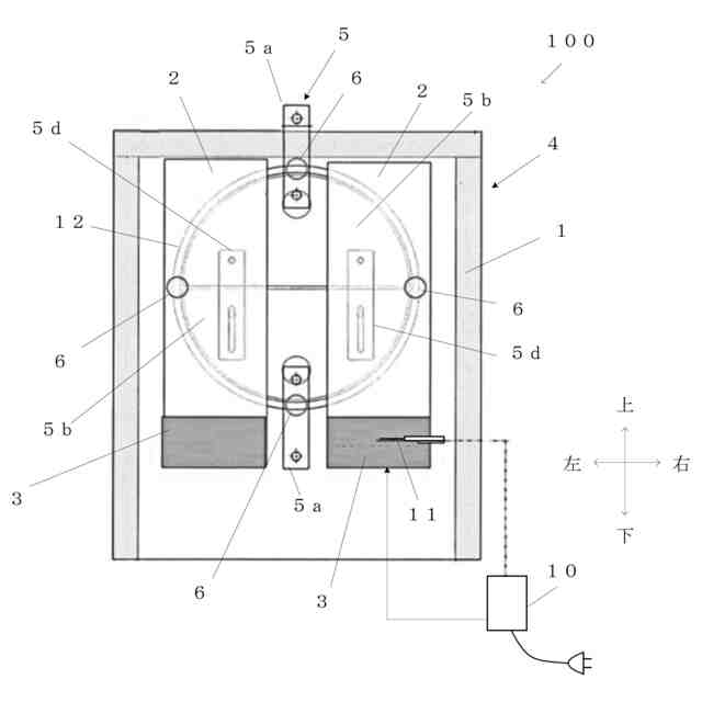
円筒状の樹脂管を切り出した短管を試験体として上下方向に引っ張る引張載荷治具と、
断熱材からなり、前記引張載荷治具の前後左右と上部を覆い、内側に放熱板が取り付けられる保温装置と、
前記引張載荷治具の下端に設けられ、前記試験体に機械的な引張り荷重を与える荷重負荷装置と、
前記保温装置内の空気を温める発熱装置と、
前記発熱装置を制御して、前記保温装置内の温度を一定に維持する温度コントローラと、
前記試験体の変形量を測定する変位計と、
前記引張載荷治具を吊り上げる昇降装置を備えた支持具と、が備えられることを特徴とする樹脂管の寿命試験装置。
【請求項6】
円筒状の樹脂管を切り出した短管を試験体として上下方向に引っ張る引張載荷治具と、
断熱材からなり、前記引張載荷治具の前後左右と上部を覆い、内側に放熱板が取り付けられる保温装置と、
前記引張載荷治具の下端に設けられ、前記試験体に機械的な引張り荷重を与える荷重負荷装置と、
前記保温装置内の空気を温める発熱装置と、
前記発熱装置を制御して、前記保温装置内の温度を一定に維持する温度コントローラと、
前記試験体の歪量を測定する歪ゲージと、
前記引張載荷治具を吊り上げる昇降装置を備えた支持具と、が備えられることを特徴とする樹脂管の寿命試験装置。
【請求項7】
円筒状の樹脂管を切り出した短管を試験体として上下方向に引っ張る引張載荷治具と、
断熱材からなり、前記引張載荷治具の前後左右と上部を覆い、内側に放熱板が取り付けられる保温装置と、
前記引張載荷治具の下端に設けられ、前記試験体に機械的な引張り荷重を与える荷重負荷装置と、
前記保温装置内の空気を温める発熱装置と、
前記発熱装置を制御して、前記保温装置内の温度を一定に維持する温度コントローラと、
前記試験体に与えた荷重を計測する荷重計と、
前記引張載荷治具を吊り上げる昇降装置を備えた支持具と、が備えられることを特徴とする樹脂管の寿命試験装置。
発明の詳細な説明
【技術分野】
【0001】
本発明は、樹脂管の寿命試験方法及び寿命試験装置に関し、簡単に高温の環境下での加速試験ができる樹脂管の寿命試験方法及び寿命試験装置に関する。
続きを表示(約 2,500 文字)
【背景技術】
【0002】
樹脂材料で製造された農業用水や下水道に供用される樹脂管は、長年月の間に材料に劣化を生じてその耐久性が低下するとともに、その剛性も大きく変化することが知られている。近年では、この長期的な劣化現象によって、樹脂管が突発的に破壊して用水の供給停止と共に、道路や周辺施設の崩壊など2次被害が頻繁に発生している。
【0003】
樹脂管の設計基準や管更生マニアルでは、使用する樹脂管の50年後の耐荷重とその時の剛性を提示することが規定されている。樹脂管の長期特性を求める試験方法としては、2種類の特性評価方法があり、一つはパイプの曲げ強度・変形に対する外圧試験(図14)で、もう一つは、引張耐力に対する特性を把握するための内圧試験(図15)である。両試験ともパイプが破壊するまで所定の載荷状態を維持し続ける。簡単には水槽を基準温度の23℃に保ち、荷重や圧力を10,000時間(約1.2年)に渡って試験を行なう。
【0004】
そのため、樹脂管の試験には長期間を要し、異なる荷重での破壊荷重も求めるので試験コストが極めて高騰する。しかも水槽を一定温度に維持する恒温設備を用いることにより大掛かりな設備となる。そのため、新たな樹脂管の開発の障害になっていた。一連の試験方法は、試験体材料の長期特性を把握する方法として受け入れられるものであるが、農業用水や上下水道に供用される樹脂管の実証的に評価する観点から、時間と経済性の面で利用可能な試験方法とはなっていない。このため、樹脂管の長期特性を短期間で把握する技術が求められている。
【先行技術文献】
【特許文献】
【0005】
特開2005-299734号公報
【発明の概要】
【発明が解決しようとする課題】
【0006】
本発明の目的は、短期間での試験により樹脂管の長期特性を算出できる樹脂管の寿命試験方法及び寿命試験装置を提供することにある。
【課題を解決するための手段】
【0007】
本発明による第1の樹脂管の寿命試験方法は、円筒状の樹脂管を切り出した短管を試験体とし、前記試験体を保温装置内にセットし、前記保温装置内の空気を前記樹脂管が埋設される基準温度(T
0
)よりも高温の状態として前記試験体に機械的な引張り力を加え、樹脂管の寿命を予測する樹脂管の寿命試験方法であって、基準温度(T
0
)よりも高い少なくとも2つの温度(T
1
、T
2
)のそれぞれで、前記試験体の変形量が所定値(λ)に達する時間(m
1
、m
2
)を測定して変形速度(k
1
、k
2
)をそれぞれ求めた後、前記2つの温度(T
1
、T
2
)における変形速度(k
1
、k
2
)から基準温度(T
0
)での変形速度(k
0
)を外挿し、外挿した変形速度(k
0
)に基づいて基準温度(T
0
)での変形に要する時間(m
0
=λ/k
0
)を算出することを特徴とする。
【0008】
本発明による第2の樹脂管の寿命試験方法は、円筒状の樹脂管を切り出した短管を試験体とし、前記試験体を保温装置内にセットし、前記保温装置内の空気を前記樹脂管が埋設される基準温度(T
0
)よりも高温の状態として前記試験体に機械的な引張り力を加え、樹脂管の寿命を予測する樹脂管の寿命試験方法であって、基準温度(T
0
)よりも高い少なくとも2つの温度(T
1
、T
2
)のそれぞれで、前記試験体の歪量が所定値(λ)に達する時間(m
1
、m
2
)を測定して歪速度(k
1
、k
2
)をそれぞれ求めた後、前記2つの温度(T
1
、T
2
)における歪速度(k
1
、k
2
)から基準温度(T
0
)での歪速度(k
0
)を外挿し、外挿した歪速度(k
0
)に基づいて基準温度(T
0
)での歪に要する時間(m
0
=λ/k
0
)を算出することを特徴とする。
【0009】
本発明による第3の樹脂管の寿命試験方法は、円筒状の樹脂管を切り出した短管を試験体とし、前記試験体を保温装置内にセットし、前記保温装置内の空気を前記樹脂管が埋設される基準温度(T
0
)よりも高温の状態として前記試験体に機械的な引張り力を加え、樹脂管の寿命を予測する樹脂管の寿命試験方法であって、基準温度(T
0
)よりも高い少なくとも2つの温度(T
1
、T
2
)のそれぞれで、前記試験体の破壊応力(σ)に達する時間(m
1
、m
2
)を測定して破壊速度(k
1
、k
2
)をそれぞれ求めた後、前記2つの温度(T
1
、T
2
)における破壊速度(k
1
、k
2
)から基準温度(T
0
)での破壊速度(k
0
)を外挿し、外挿した破壊速度(k
0
)に基づいて基準温度(T
0
)での破壊に要する時間(m
0
=σ/k
0
)を算出することを特徴とする。
【0010】
前記機械的な引張り力は、前記試験体を吊り上げて加えることを特徴とする。
(【0011】以降は省略されています)
この特許をJ-PlatPat(特許庁公式サイト)で参照する
関連特許
日本精機株式会社
位置検出装置
1日前
日本精機株式会社
位置検出装置
1日前
日本精機株式会社
位置検出装置
1日前
大和製衡株式会社
組合せ秤
6日前
大和製衡株式会社
組合せ秤
6日前
アズビル株式会社
圧力センサ
今日
株式会社東芝
センサ
6日前
トヨタ自動車株式会社
検査装置
3日前
エイブリック株式会社
磁気センサ回路
今日
トヨタ自動車株式会社
表示装置
15日前
株式会社ユーシン
操作検出装置
3日前
株式会社東芝
センサ
6日前
株式会社ナリス化粧品
角層細胞採取用具
13日前
個人
粘塑性を用いた有限要素法の定式化
15日前
TDK株式会社
ガスセンサ
今日
東レエンジニアリング株式会社
計量装置
3日前
三菱マテリアル株式会社
温度センサ
13日前
株式会社熊谷組
RI計測装置
1日前
株式会社関電工
検相器用治具
21日前
TDK株式会社
磁気計測装置
14日前
成田空港給油施設株式会社
保持治具
14日前
中国電力株式会社
異常箇所検出装置
14日前
富士電機株式会社
エンコーダ
今日
三菱マテリアル株式会社
温度センサ
13日前
アズビル株式会社
動粘度測定システム
1日前
アンリツ株式会社
物品検査装置
3日前
戸田建設株式会社
測量機
14日前
株式会社精工技研
光電界センサヘッド
今日
アンリツ株式会社
物品検査装置
6日前
株式会社豊田自動織機
制御装置
6日前
株式会社アイシン
回転角検出装置
今日
学校法人東海大学
試験装置
13日前
大和ハウス工業株式会社
試験方法
13日前
オンキヨー株式会社
検出装置、及び、判定装置
2日前
TDK株式会社
温度センサ
14日前
株式会社イシダ
X線検査装置
今日
続きを見る
他の特許を見る