TOP
|
特許
|
意匠
|
商標
特許ウォッチ
Twitter
他の特許を見る
10個以上の画像は省略されています。
公開番号
2025149851
公報種別
公開特許公報(A)
公開日
2025-10-08
出願番号
2024200012
出願日
2024-11-15
発明の名称
画像形成装置
出願人
ブラザー工業株式会社
代理人
弁理士法人第一テクニカル国際特許事務所
主分類
G03G
21/16 20060101AFI20251001BHJP(写真;映画;光波以外の波を使用する類似技術;電子写真;ホログラフイ)
要約
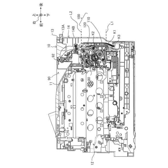
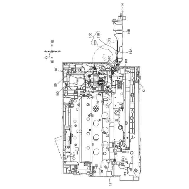
【課題】定着器を容易に着脱できるとともに、搬送詰まりが生じてもユーザ処理の労力負担を少なくする。
【解決手段】画像形成装置1は、本体筐体10と、画像形成部30と、開口13Aを通して本体筐体10に着脱可能に構成された定着器80と、開口13Aを閉じる閉位置と開口13Aを開く開位置とに切替可能な外装カバー14と、定着器80と外装カバー14との間に設けられ、定着器80から排出されたシートPを画像形成部30に案内するシートガイド100と、を備え、シートガイド100は、第1ガイド軸心K1を中心に本体筐体10に回動可能に支持され、定着器80に近接した使用位置と使用位置から本体筐体10の外側に回動した退避位置とに切替可能であり、外装カバー14が開位置にあるときにシートガイド100が退避位置に位置するように、シートガイド100を付勢する第1バネ510を本体筐体10に設ける。
【選択図】図4
特許請求の範囲
【請求項1】
開口を有する本体筐体と、
シートに現像剤像を形成する画像形成部と、
前記開口を通して前記本体筐体に着脱可能に構成され、前記シートに前記現像剤像を定着させる定着器と、
前記開口を閉じる閉位置と前記開口を開く開位置とに切替可能な外装カバーと、
前記定着器と前記外装カバーとの間に設けられ、前記定着器から排出された前記シートを前記画像形成部に案内するシートガイドと、
を備え、
前記シートガイドは、第1ガイド軸心を中心に前記本体筐体に回動可能に支持され、前記定着器に近接した使用位置と前記使用位置から前記本体筐体の外側に回動した退避位置とに切替可能であり、
前記外装カバーが前記開位置にあるときに前記シートガイドが退避位置に位置するように、前記シートガイドを付勢する第1バネを設けた
ことを特徴とする画像形成装置。
続きを表示(約 1,200 文字)
【請求項2】
前記外装カバーは、
前記閉位置にあるとき、前記シートガイドを前記使用位置に位置させるよう押圧する押圧部を有し、
前記シートガイドは、
前記押圧部に接する被押圧部を有する
ことを特徴とする請求項1記載の画像形成装置。
【請求項3】
前記シートガイドは、
前記使用位置にあるとき前記外装カバー側を向き、前記定着器から排出された前記シートに接して前記画像形成部へと案内する案内領域を備えた外側ガイド面をさらに有し、
前記被押圧部は、
前記シートの幅方向において前記シートガイドのうち前記案内領域の外側に位置する
ことを特徴とする請求項2記載の画像形成装置。
【請求項4】
前記被押圧部は、
前記外装カバーに向かう突出形状を備えている
ことを特徴とする請求項3記載の画像形成装置。
【請求項5】
前記外装カバーは、カバー軸心を中心に前記本体筐体に回動可能に支持され、
前記第1ガイド軸心と前記カバー軸心とは互いに平行であり、かつ、前記第1ガイド軸心に直交する平面視において前記定着器に対して互いに同じ側に位置している
ことを特徴とする請求項1記載の画像形成装置。
【請求項6】
前記カバー軸心から前記定着器までの距離は、前記第1ガイド軸心から前記定着器までの距離よりも長く、
前記シートガイドの前記使用位置から前記退避位置までの回動角度は、前記外装カバーの前記閉位置から前記開位置までの回動角度よりも大きい
ことを特徴とする請求項5記載の画像形成装置。
【請求項7】
前記シートガイドは、
前記退避位置において、前記開位置にある前記外装カバーに接触する
ことを特徴とする請求項1記載の画像形成装置。
【請求項8】
前記外装カバーの外側面は、
前記開位置において、前記本体筐体の底面と略平行である
ことを特徴とする請求項6記載の画像形成装置。
【請求項9】
前記本体筐体は、
前記定着器の着脱を案内する定着ガイドをさらに有し、
前記定着ガイドと、前記開位置にあるときの前記外装カバーの外側面とは、互いに略平行である
ことを特徴とする請求項1記載の画像形成装置。
【請求項10】
前記シートガイドは、
前記使用位置にあるとき前記定着器側を向く内側ガイド面と前記外装カバー側を向く外側ガイド面とを有し、
前記内側ガイド面は、前記定着器から第1方向へ排出された前記シートを案内し、
前記外側ガイド面は、前記定着器から第1方向へ排出された後に搬送方向が逆転され前記第1方向と逆の第2方向へ搬送された前記シートを前記画像形成部へと案内する
ことを特徴とする請求項1記載の画像形成装置。
(【請求項11】以降は省略されています)
発明の詳細な説明
【技術分野】
【0001】
本発明は、定着器から排出されたシートを案内するシートガイドを備えた画像形成装置に関する。
続きを表示(約 1,800 文字)
【背景技術】
【0002】
従来、例えば特許文献1に記載のように、装置本体に対して着脱可能な定着器を備えたレーザプリンタが知られている。定着器は開閉カバーを開けて装置本体に対して着脱される。
【先行技術文献】
【特許文献】
【0003】
特開2017-203944号公報
【発明の概要】
【発明が解決しようとする課題】
【0004】
特許文献1に記載のプリンタでは、両面印刷のための両面搬送ユニットが、開閉カバーの内側に一体的に設けられている。開閉カバーと一体に両面搬送ユニットが定着器の着脱経路から退避することによって、定着装置の着脱が可能となっている。
【0005】
しかしながら、上記構成において、仮に両面印刷の途中で両面搬送ユニットにおいて搬送詰まりが起こった場合、開閉カバーを開くとシートが詰まった状態のままの両面搬送ユニットも一緒に開かれることになる。そのため、シートの詰まり解消処理のためのユーザの労力負担が大きいという問題があった。
【0006】
本発明の目的は、定着器を容易に着脱できるとともに、搬送詰まりが生じてもユーザ処理の労力負担が少ない画像形成装置を提供することにある。
【課題を解決するための手段】
【0007】
上記した目的を達成するため、本発明の画像形成装置は、開口を有する本体筐体と、 シートに現像剤像を形成する画像形成部と、前記開口を通して前記本体筐体に着脱可能に構成され、前記シートに前記現像剤像を定着させる定着器と、前記開口を閉じる閉位置と前記開口を開く開位置とに切替可能な外装カバーと、前記定着器と前記外装カバーとの間に設けられ、前記定着器から排出された前記シートを前記画像形成部に案内するシートガイドと、を備える。前記シートガイドは、第1ガイド軸心を中心に前記本体筐体に回動可能に支持され、前記定着器に近接した使用位置と前記使用位置から前記本体筐体の外側に回動した退避位置とに切替可能である。前記外装カバーが前記開位置にあるときに前記シートガイドが退避位置に位置するように、前記シートガイドを付勢する第1バネを設けている。
【0008】
本願発明においては、シートガイドは、本体筐体に回動可能に支持されており、定着器に近接した使用位置と本体筐体の外側に回動した退避位置とに切替可能となっている。外装カバーが開位置となったときには、シートガイドは、第1バネの付勢によって上記退避位置に位置する。これにより、定着器を着脱するとき、シートガイドが退避位置にあり着脱の邪魔にならないため、定着器を容易に着脱することができる。また、シートガイドは、本体筐体に支持され、外装カバーに一体に設けられるものではない。そのため、搬送詰まりの発生時においてユーザは外装カバーのみを開けば足りるので、労力負担が少なくて済む。
【0009】
さらに、前記外装カバーは、前記閉位置にあるとき、前記シートガイドを前記使用位置に位置させるよう押圧する押圧部を有していてもよい。また、前記シートガイドは、前記押圧部に接する被押圧部を有していてもよい。
前述のように、第1バネは、外装カバーが開位置にあるときにシートガイドが退避位置に位置するようにシートガイドへの付勢力を作用させる。定着器が装着された状態で印刷が行われる場合には、外装カバーは閉位置とされ、シートガイドは使用位置に位置する必要がある。そこで本願発明においては、外装カバーに押圧部を設け、この押圧部がシートガイドの被押圧部を押圧する。これにより、第1バネの上記付勢力に抗してシートガイドを使用位置に位置させることができる。
【0010】
さらに、前記シートガイドは、前記使用位置にあるとき前記外装カバー側を向き、前記定着器から排出された前記シートに接して前記画像形成部へと案内する案内領域を備えた外側ガイド面をさらに有していてもよい。また、前記被押圧部は、前記シートの幅方向において前記シートガイドのうち前記案内領域の外側に位置していてもよい。
本願発明においては、シートガイドの被押圧部は、外側ガイド面における案内領域よりも外側に位置している。これにより、被押圧部が外側ガイド面の案内領域におけるシートの搬送に影響を与えることがない。
(【0011】以降は省略されています)
この特許をJ-PlatPat(特許庁公式サイト)で参照する
関連特許
ブラザー工業株式会社
ボビン
1日前
ブラザー工業株式会社
固定具
1日前
ブラザー工業株式会社
空調機
今日
ブラザー工業株式会社
結紮装置
今日
ブラザー工業株式会社
制御装置
今日
ブラザー工業株式会社
制御装置
今日
ブラザー工業株式会社
印刷装置
1日前
ブラザー工業株式会社
搬送装置
8日前
ブラザー工業株式会社
制御装置
10日前
ブラザー工業株式会社
縫製装置
1日前
ブラザー工業株式会社
結紮装置
今日
ブラザー工業株式会社
糸巻回装置
1日前
ブラザー工業株式会社
糸巻回装置
1日前
ブラザー工業株式会社
画像形成装置
1日前
ブラザー工業株式会社
画像形成装置
1日前
ブラザー工業株式会社
画像形成装置
1日前
ブラザー工業株式会社
画像形成装置
1日前
ブラザー工業株式会社
画像形成装置
1日前
ブラザー工業株式会社
画像形成装置
1日前
ブラザー工業株式会社
画像形成装置
1日前
ブラザー工業株式会社
画像形成装置
1日前
ブラザー工業株式会社
画像形成装置
1日前
ブラザー工業株式会社
液体吐出装置
1日前
ブラザー工業株式会社
画像形成装置
6日前
ブラザー工業株式会社
画像形成装置
6日前
ブラザー工業株式会社
画像形成装置
6日前
ブラザー工業株式会社
画像形成装置
6日前
ブラザー工業株式会社
画像形成装置
7日前
ブラザー工業株式会社
画像形成装置
10日前
ブラザー工業株式会社
画像形成装置
14日前
ブラザー工業株式会社
液体吐出装置
14日前
ブラザー工業株式会社
液体吐出装置
14日前
ブラザー工業株式会社
画像形成装置
20日前
ブラザー工業株式会社
画像形成装置
20日前
ブラザー工業株式会社
画像形成装置
1日前
ブラザー工業株式会社
液体吐出装置
2日前
続きを見る
他の特許を見る