TOP
|
特許
|
意匠
|
商標
特許ウォッチ
Twitter
他の特許を見る
10個以上の画像は省略されています。
公開番号
2025149734
公報種別
公開特許公報(A)
公開日
2025-10-08
出願番号
2024050555
出願日
2024-03-26
発明の名称
シート搬送装置及び画像形成装置
出願人
ブラザー工業株式会社
代理人
弁理士法人第一テクニカル国際特許事務所
主分類
B65H
5/06 20060101AFI20251001BHJP(運搬;包装;貯蔵;薄板状または線条材料の取扱い)
要約
【課題】シートを搬送するローラのローラ軸を保持する部材を外装カバーに設ける場合に、公差の影響による位置ずれが生じたとしてもローラ軸の変形を抑制する。
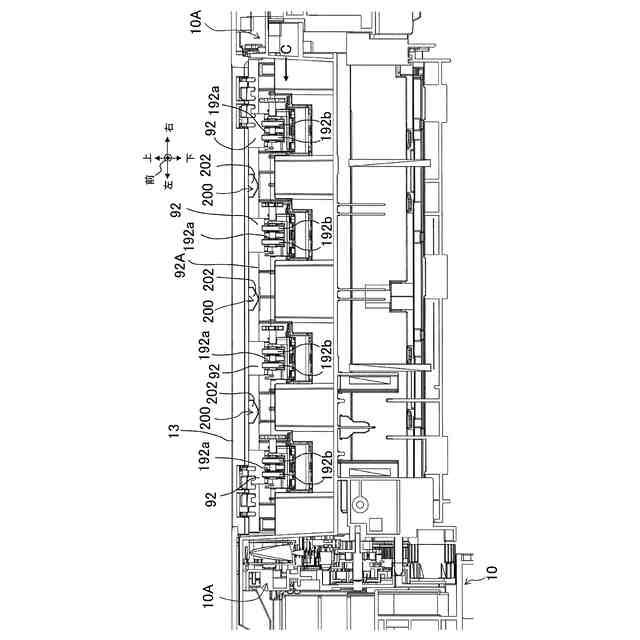
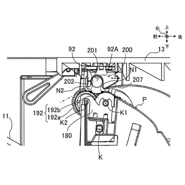
【解決手段】シート搬送装置は、シートPに接して回転する第1ローラ92と、第1ローラ92と一体に回転するローラ軸92Aと、第1ローラ92と反対側からシートPに接してニップを形成する第2ローラ192と、第1ローラ92をニップと反対側から覆う外装カバー13と、外装カバー13のローラ軸92A側の部位に支持され、ニップと反対側、シートPの搬送方向一方側、及び、シートPの搬送方向他方側からローラ軸92Aを保持する軸保持部材200と、を備え、軸保持部材200は、外装カバー13に、搬送方向一方側及び他方側に移動可能に支持されている。
【選択図】図6
特許請求の範囲
【請求項1】
シートに接して回転する第1ローラと、
前記第1ローラと一体に回転するローラ軸と、
前記第1ローラと反対側から前記シートに接してニップを形成する第2ローラと、
前記第1ローラを前記ニップと反対側から覆う外装カバーと、
前記外装カバーの前記ローラ軸側の部位に支持され、前記ニップと反対側、前記シートの搬送方向一方側、及び、前記シートの搬送方向他方側から前記ローラ軸を保持する軸保持部材と、
を備え、
前記軸保持部材は、前記外装カバーに、前記搬送方向一方側及び他方側に移動可能に支持されている
ことを特徴とするシート搬送装置。
続きを表示(約 1,000 文字)
【請求項2】
前記第1ローラは、
前記ローラ軸の軸方向に複数設けられており、
前記軸保持部材は、隣接する2つの前記第1ローラの間に配置されている
ことを特徴とする請求項1記載のシート搬送装置。
【請求項3】
前記軸保持部材は、
前記ニップよりも前記搬送方向に沿った上流側において当該搬送方向に対して傾斜して設けられ、前記ニップに近づくように前記シートを案内するシートガイド部を有する
ことを特徴とする請求項1記載のシート搬送装置。
【請求項4】
前記ローラ軸の軸方向の一端部に回転駆動力が入力される
ことを特徴とする請求項1記載のシート搬送装置。
【請求項5】
前記外装カバーに覆われる内部フレームをさらに有し、
前記ローラ軸は、前記内部フレームに回転可能に支持されている
ことを特徴とする請求項1記載のシート搬送装置。
【請求項6】
前記ローラ軸は、金属である
ことを特徴とする請求項1記載のシート搬送装置。
【請求項7】
前記第2ローラを前記第1ローラに向けて付勢する付勢部材をさらに有する
ことを特徴とする請求項1記載のシート搬送装置。
【請求項8】
前記第2ローラは、
前記搬送方向の上流側に位置する上流ローラと、
前記搬送方向の下流側に位置する下流ローラと、
を含み、
前記上流ローラと前記下流ローラとは、軸方向に互いにオフセットして配置されていることを特徴とする請求項1記載のシート搬送装置。
【請求項9】
前記上流ローラ及び前記下流ローラを一体的に保持するローラホルダをさらに有し、
前記ローラホルダは、前記上流ローラの軸心及び前記下流ローラの軸心から離れた軸心を中心に揺動可能である
ことを特徴とする請求項8記載のシート搬送装置。
【請求項10】
画像形成部と、
前記画像形成部により画像が形成された前記シートが排出されるシートトレイと、
請求項1乃至請求項9のいずれか1項記載の前記シート搬送装置と、
を有し、
前記第1ローラは、前記シートトレイに前記シートを排出するローラである
ことを特徴とする画像形成装置。
(【請求項11】以降は省略されています)
発明の詳細な説明
【技術分野】
【0001】
本発明は、画像が形成されるシートを搬送するシート搬送装置及び画像形成装置に関する。
続きを表示(約 1,700 文字)
【背景技術】
【0002】
従来、例えば特許文献1に記載のように、搬送ローラとともに原稿をニップして搬送する従動ローラの軸が、ADFカバーの内側に支持された軸受によって保持される構成が知られている。
【先行技術文献】
【特許文献】
【0003】
特開2009-161274号公報
【発明の概要】
【発明が解決しようとする課題】
【0004】
外装カバーと搬送ローラとが接触するのを抑制するために、搬送ローラのローラ軸を保持する部材を外装カバーに設ける場合があり得る。このような構成では、仮に、各部の製造時の公差等によりローラの軸とこれを保持する部材との相対位置関係にずれが生じた場合、ローラ軸が変形する可能性があるという問題があった。
【0005】
本発明の目的は、シートを搬送するローラのローラ軸を保持する部材が外装カバーに支持される場合に、公差の影響による位置ずれが生じたとしてもローラ軸の変形を抑制できるシート搬送装置及び画像形成装置を提供することにある。
【課題を解決するための手段】
【0006】
上記した目的を達成するため、本発明のシート搬送装置は、前記第1ローラと一体に回転するローラ軸と、前記第1ローラと反対側から前記シートに接してニップを形成する第2ローラと、前記第1ローラを前記ニップと反対側から覆う外装カバーと、前記外装カバーの前記ローラ軸側の部位に支持され、前記ニップと反対側、前記シートの搬送方向一方側、及び、前記シートの搬送方向他方側から前記ローラ軸を保持する軸保持部材と、を備えている。前記軸保持部材は、前記外装カバーに、前記搬送方向一方側及び他方側に移動可能に支持されている。
【0007】
本願発明においては、第1ローラと第2ローラとがシートを挟んでニップを形成する。第1ローラの反ニップ側には外装カバーが設けられる。外装カバーのローラ軸側の部位には、軸保持部材が支持されている。軸保持部材は、第1ローラのローラ軸を、搬送方向一方側、他方側、反ニップ側の3方向から保持する。これにより、外装カバーと第1ローラとが接触するのを抑制することができる。
このとき、軸保持部材は、搬送方向一方側及び他方側の両方に移動自在となるように外装カバーに設けられる。これにより、各部の製造時の公差等によりローラ軸と外装カバーとの相対位置関係にずれが生じたとしても、軸保持部材がローラ軸にならって搬送方向に沿って一方側又は他方側に移動するため、ローラ軸の搬送方向における変形を抑制できる。
【0008】
また、前記第1ローラは、前記ローラ軸の軸方向に複数設けられており、前記軸保持部材は、隣接する2つの前記第1ローラの間に配置されていてもよい。
本願発明においては、軸保持部材が、隣接する2つの第1ローラの間に配置される。これにより、隣り合う第1ローラどうしの間で外装カバーとローラ軸との間隔を保持することができる。
【0009】
また、前記軸保持部材は、前記ニップよりも前記搬送方向に沿った上流側において当該搬送方向に対して傾斜して設けられ、前記ニップに近づくように前記シートを案内するシートガイド部を有していてもよい。
本願発明においては、軸保持部材におけるシート搬送方向上流側の部位にシートガイド部が設けられる。これにより、搬送されてくるシートを第1ローラ及び第2ローラによるニップ位置へ誘い込むことができる。
【0010】
また、前記ローラ軸の軸方向の一端部に回転駆動力が入力されていてもよい。
本願発明においては、ローラ軸の軸方向一端部に適宜の駆動部からの回転駆動力が入力され、これによって第1ローラが回転駆動され、シートの搬送が行われる。そして、このように駆動される第1ローラのローラ軸に対して前述のように軸保持部材による保持が行われることにより、ローラ軸の変形を抑制した状態でシートに搬送力を与えることができる。
(【0011】以降は省略されています)
この特許をJ-PlatPat(特許庁公式サイト)で参照する
関連特許
ブラザー工業株式会社
インクジェット記録方法及び印刷物
今日
ブラザー工業株式会社
プリンタ
今日
個人
ゴミ箱
12か月前
個人
収容箱
3か月前
個人
コンベア
4か月前
個人
ゴミ収集器
6か月前
個人
容器
9か月前
個人
段ボール箱
6か月前
個人
段ボール箱
6か月前
個人
宅配システム
6か月前
個人
パウチ補助具
11か月前
個人
土嚢運搬器具
8か月前
個人
バンド
1か月前
個人
角筒状構造体
5か月前
個人
楽ちんハンド
4か月前
個人
コード類収納具
7か月前
個人
廃棄物収容容器
2か月前
個人
閉塞装置
9か月前
個人
包装容器
26日前
個人
お薬の締結装置
5か月前
個人
把手付米袋
4か月前
個人
ゴミ処理機
8か月前
株式会社バンダイ
物品
7日前
個人
貯蔵サイロ
6か月前
株式会社和気
包装用箱
8か月前
株式会社コロナ
梱包材
5か月前
個人
積み重ね用補助具
2か月前
個人
蓋閉止構造
3か月前
個人
蓋閉止構造
3か月前
個人
コード折り畳み器具
3か月前
個人
輸送積荷用動吸振器
5か月前
個人
包装箱
9か月前
三甲株式会社
蓋体
7か月前
三甲株式会社
容器
1か月前
株式会社新弘
容器
2か月前
株式会社イシダ
搬送装置
6か月前
続きを見る
他の特許を見る