TOP
|
特許
|
意匠
|
商標
特許ウォッチ
Twitter
他の特許を見る
公開番号
2025139372
公報種別
公開特許公報(A)
公開日
2025-09-26
出願番号
2024038277
出願日
2024-03-12
発明の名称
蓄電素子ユニットの設置方法、蓄電素子ユニット及び蓄電素子ユニット組合体
出願人
積水化学工業株式会社
代理人
個人
,
個人
,
個人
主分類
H01M
50/244 20210101AFI20250918BHJP(基本的電気素子)
要約
【課題】蓄電素子ユニットを容易に設置する。
【解決手段】
蓄電素子ユニット10は、上方に開口した筐体20と、筐体20に収容された蓄電素子モジュール30と、を含む。筐体20は、蓄電素子モジュール30を下方から支持する底壁部23を含む。底壁部23は、筐体20に蓄電素子モジュール30が収容された状態において、上面視で観察される観察領域50を含む。蓄電素子ユニット10の設置方法は、筐体20に蓄電素子モジュール30を収容する収容工程と、蓄電素子モジュール30を収容した筐体20を設置面10Xに固定する固定工程と、を含む。筐体20は、固定工程において、底壁部23の観察領域50を貫通する固定部材40によって設置面10Xに固定される。
【選択図】図3
特許請求の範囲
【請求項1】
上方に開口した筐体と、前記筐体に収容された蓄電素子モジュールと、を含む蓄電素子ユニットの設置方法であって、
前記筐体に前記蓄電素子モジュールを収容する収容工程と、
前記蓄電素子モジュールを収容した前記筐体を設置面に固定する固定工程と、を備え、
前記筐体は、前記蓄電素子モジュールを下方から支持する底壁部を含み、
前記底壁部は、前記筐体に前記蓄電素子モジュールが収容された状態において、上面視で観察される観察領域を含み、
前記筐体は、前記固定工程において、前記底壁部の前記観察領域を貫通する固定部材によって前記設置面に固定される、蓄電素子ユニットの設置方法。
続きを表示(約 1,100 文字)
【請求項2】
前記観察領域は、複数の領域要素を含み、
各領域要素の上面視における寸法は、10mm以上150mm以下であり、
前記複数の領域要素は互いから離れ、
前記固定部材は、前記複数の領域要素において、前記観察領域を貫通する、請求項1に記載の蓄電素子ユニットの設置方法。
【請求項3】
前記領域要素には、前記固定部材が通過可能な貫通穴が設けられる、請求項2に記載の蓄電素子ユニットの設置方法。
【請求項4】
前記筐体は、前記底壁部から延び上がる側壁部を含み、
前記側壁部は、上面視において前記観察領域を取り囲む、請求項1に記載の蓄電素子ユニットの設置方法。
【請求項5】
前記観察領域は、前記設置面の法線方向に直交する第1方向に互いから離れた第1部分及び第2部分を含み、
前記固定部材は、前記第1部分を貫通する第1部分用固定部材と、前記第2部分を貫通する第2部分用固定部材と、を含む、請求項1に記載の蓄電素子ユニットの設置方法。
【請求項6】
前記観察領域は、前記法線方向及び前記第1方向の両方向に直交する第2方向に互いから離れた第3部分及び第4部分を含み、
前記固定部材は、前記第3部分を貫通する第3部分用固定部材と、前記第4部分を貫通する第4部分用固定部材と、を含む、請求項5に記載の蓄電素子ユニットの設置方法。
【請求項7】
前記観察領域は、上面視において前記蓄電素子モジュールを取り囲む、請求項1に記載の蓄電素子ユニットの設置方法。
【請求項8】
上方に開口した筐体と、
前記筐体に収容された蓄電素子モジュールと、を備え、
前記筐体は、前記蓄電素子モジュールを下方から支持する底壁部を含み、
前記底壁部は、前記筐体に前記蓄電素子モジュールが収容された状態において、上面視で観察される観察領域を含み、
前記観察領域には、前記筐体を設置面に固定する固定部材が通過可能な貫通穴が設けられる、蓄電素子ユニット。
【請求項9】
前記観察領域は、複数の領域要素を含み、
各領域要素の上面視における寸法は、10mm以上150mm以下であり、
各領域要素に前記貫通穴が設けられ、
前記複数の領域要素は、互いから離れている、請求項8に記載の蓄電素子ユニット。
【請求項10】
前記筐体は、前記底壁部から延び上がる側壁部を含み、
前記側壁部は、前記観察領域を取り囲む、請求項8に記載の蓄電素子ユニット。
(【請求項11】以降は省略されています)
発明の詳細な説明
【技術分野】
【0001】
本発明は、蓄電素子ユニットの設置方法、蓄電素子ユニット及び蓄電素子ユニット組合体に関する。
続きを表示(約 1,600 文字)
【背景技術】
【0002】
特許文献1に開示されているように、二次電池として機能する蓄電素子ユニットが知られている。蓄電素子ユニットは、筐体と、筐体に収容された蓄電素子モジュールと、を含む。蓄電素子ユニットが設置されるとき、蓄電素子モジュールが筐体に収容される。
【先行技術文献】
【特許文献】
【0003】
特開2016-171061号公報
【発明の概要】
【発明が解決しようとする課題】
【0004】
特許文献1の蓄電素子ユニットが設置されるとき、蓄電素子モジュールは、側方から筐体に収容される。蓄電素子モジュールを収容するための空間を筐体の周囲に確保できないとき、特許文献1の蓄電素子ユニットの設置は、困難である。本発明は、蓄電素子ユニットの設置を容易とすることを目的とする。
【課題を解決するための手段】
【0005】
本発明の一実施の形態による蓄電素子ユニットの設置方法は、
上方に開口した筐体と、前記筐体に収容された蓄電素子モジュールと、を含む蓄電素子ユニットの設置方法であって、
前記筐体に前記蓄電素子モジュールを収容する収容工程と、
前記蓄電素子モジュールを収容した前記筐体を設置面に固定する固定工程と、を備え、
前記筐体は、前記蓄電素子モジュールを下方から支持する底壁部を含み、
前記底壁部は、前記筐体に前記蓄電素子モジュールが収容された状態において、上面視で観察される観察領域を含み、
前記筐体は、前記固定工程において、前記底壁部の前記観察領域を貫通する固定部材によって前記設置面に固定される。
【0006】
本発明の一実施の形態による蓄電素子ユニットは、
上方に開口した筐体と、
前記筐体に収容された蓄電素子モジュールと、を備え、
前記筐体は、前記蓄電素子モジュールを下方から支持する底壁部を含み、
前記底壁部は、前記筐体に前記蓄電素子モジュールが収容された状態において、上面視で観察される観察領域を含み、
前記観察領域には、前記筐体を設置面に固定する固定部材が通過可能な貫通穴が設けられる。
【発明の効果】
【0007】
本発明によれば、蓄電素子ユニットを容易に設置できる。
【図面の簡単な説明】
【0008】
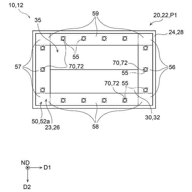
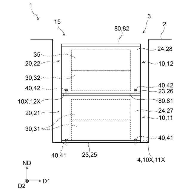
図1は、一実施の形態を説明する図であって、蓄電素子ユニット組合体の側面図である。
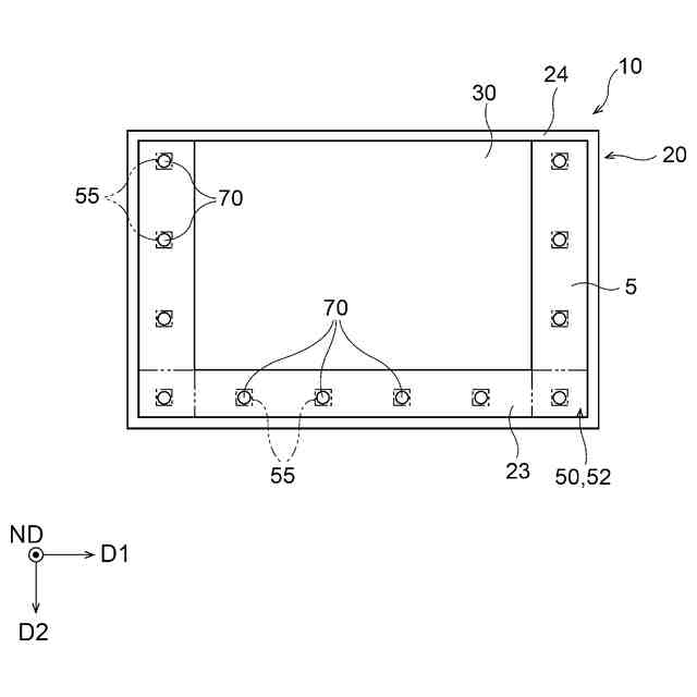
図2は、第1蓄電素子ユニットの分解斜視図である。
図3は、図2の第1蓄電素子ユニットを上面視したときの図である。
図4は、図2の第1蓄電素子ユニットを上面視したときの図である。
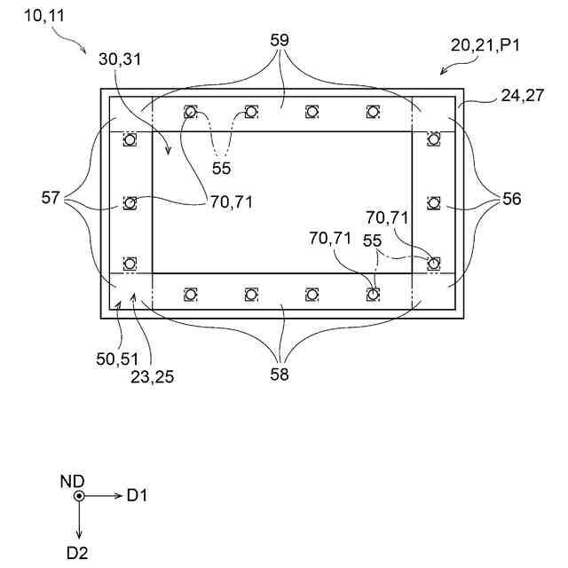
図5は、図2の第2蓄電素子ユニットを上面視したときの図である。
図6は、蓄電素子ユニットの一変形例を上面視したときの図である。
【発明を実施するための形態】
【0009】
本発明の一実施の形態は、以下の[1]~[15]に関する。
【0010】
[1] 上方に開口した筐体と、前記筐体に収容された蓄電素子モジュールと、を含む蓄電素子ユニットの設置方法であって、
前記筐体に前記蓄電素子モジュールを収容する収容工程と、
前記蓄電素子モジュールを収容した前記筐体を設置面に固定する固定工程と、を備え、
前記筐体は、前記蓄電素子モジュールを下方から支持する底壁部を含み、
前記底壁部は、前記筐体に前記蓄電素子モジュールが収容された状態において、上面視で観察される観察領域を含み、
前記筐体は、前記固定工程において、前記底壁部の前記観察領域を貫通する固定部材によって前記設置面に固定される、蓄電素子ユニットの設置方法。
(【0011】以降は省略されています)
この特許をJ-PlatPat(特許庁公式サイト)で参照する
関連特許
積水化学工業株式会社
複層管
5日前
積水化学工業株式会社
段ボール
13日前
積水化学工業株式会社
遺伝子導入方法
6日前
積水化学工業株式会社
螺旋管の製管装置
1日前
積水化学工業株式会社
螺旋管の製管装置
1日前
積水化学工業株式会社
ジオポリマー組成物
19日前
積水化学工業株式会社
熱伝導性樹脂組成物
5日前
積水化学工業株式会社
膜付き基材の製造方法及び粉体
1日前
積水化学工業株式会社
プログラム及び情報処理システム
1日前
積水化学工業株式会社
メタサーフェスシート及び窓構造
1日前
積水化学工業株式会社
接着性樹脂組成物、及び、仮固定材
1日前
積水化学工業株式会社
区画貫通処理構造及び区画貫通処理材
6日前
積水化学工業株式会社
区画貫通処理構造及び区画貫通処理材
6日前
積水化学工業株式会社
区画貫通処理構造及び区画貫通処理材
6日前
積水化学工業株式会社
支持部材、蓄電設備及び蓄電設備付き建物
9日前
積水化学工業株式会社
螺旋管製管用スペーサおよび螺旋管製管方法
19日前
積水化学工業株式会社
情報処理システム、情報処理方法及びプログラム
1日前
積水化学工業株式会社
情報処理システム、情報処理方法及びプログラム
1日前
積水化学工業株式会社
センサ一体型電磁誘導ケーブル及び電磁誘導システム
9日前
積水化学工業株式会社
管継手
19日前
積水化学工業株式会社
樹脂材料、積層フィルム、硬化物及び多層プリント配線板
13日前
積水化学工業株式会社
粘着テープ
5日前
積水化学工業株式会社
情報処理システム、情報処理方法、プログラム及び情報処理装置
1日前
積水化学工業株式会社
排水部材及び雨樋
27日前
積水化学工業株式会社
樹脂管の接続装置
27日前
積水化学工業株式会社
硬化性樹脂シート、車両及び車両部品、並びに車両及び車両部品の製造方法
27日前
積水化学工業株式会社
樹脂シート、車両及び車両部品並びに車両の製造方法及び車両部品の製造方法
今日
積水化学工業株式会社
還元剤およびガスの製造方法
13日前
積水化学工業株式会社
蓄電素子ユニットの設置方法、蓄電素子ユニット及び蓄電素子ユニット組合体
12日前
積水化学工業株式会社
蓄電素子ユニット、蓄電素子ユニット用の固定部材、及び蓄電素子ユニット付き建物
9日前
積水化学工業株式会社
ドレン部材、雨樋配管構造、及び建物
9日前
積水化学工業株式会社
合わせガラス用中間膜及び合わせガラス
5日前
積水化学工業株式会社
有機物質の製造方法及び有機物質製造装置
9日前
積水化学工業株式会社
ドレン部材及び雨樋配管構造、建物、屋根
9日前
積水化学工業株式会社
インクジェット用及びエアキャビティ形成用硬化性組成物、電子部品、及び電子部品の製造方法
1日前
積水化学工業株式会社
情報処理システム、情報処理方法及びプログラム
1日前
続きを見る
他の特許を見る