TOP
|
特許
|
意匠
|
商標
特許ウォッチ
Twitter
他の特許を見る
公開番号
2025139501
公報種別
公開特許公報(A)
公開日
2025-09-26
出願番号
2024038472
出願日
2024-03-12
発明の名称
主機制御システム及び航行支援装置
出願人
ナブテスコ株式会社
代理人
個人
主分類
B63H
21/21 20060101AFI20250918BHJP(船舶またはその他の水上浮揚構造物;関連艤装品)
要約
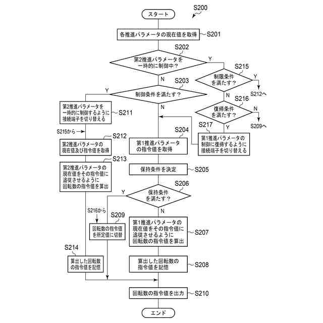
【課題】推進パラメータの追従性を向上させつつ外乱による主機の回転数の変動を抑制する。
【解決手段】主機制御システムは、船舶の推進速度に関する推進パラメータであって、船舶を推進させる主機の回転数と異なり且つ制御対象として選択された推進パラメータの指令値が入力される入力部と、推進パラメータの現在値を入力された推進パラメータの指令値に追従させるための主機の回転数の指令値を算出する算出部124と、算出した値を回転数の指令値として出力する出力部125と、回転数の現在値を出力された回転数の指令値に追従させるように主機を制御する主機制御部と、保持条件を満たすか否かを判断する判断部126と、保持条件が満たされた場合に、出力部125が出力する回転数の指令値を算出した値から所定値に切り替える回転数切替部127と、を備える。
【選択図】図3
特許請求の範囲
【請求項1】
船舶の推進速度に関する推進パラメータであって、前記船舶を推進させる主機の回転数と異なり且つ制御対象として選択された推進パラメータの指令値が入力される入力部と、
前記推進パラメータの現在値を、入力された前記推進パラメータの指令値に追従させるための、前記主機の回転数の指令値を算出する算出部と、
前記算出部が算出した値を前記回転数の指令値として出力する出力部と、
前記回転数の現在値を、前記出力部から出力された前記回転数の指令値に追従させるように、前記主機を制御する主機制御部と、
前記推進パラメータの現在値が、入力された前記推進パラメータの指令値を含む保持範囲内であることを含む保持条件を満たすか否かを判断する判断部と、
前記保持条件が満たされたと判断された場合に、前記出力部が出力する前記回転数の指令値を前記算出部が算出した値から所定値に切り替える回転数切替部と、
を備えることを特徴とする主機制御システム。
続きを表示(約 1,900 文字)
【請求項2】
前記保持条件が満たされていないときに前記出力部が出力している前記回転数の指令値を記憶する記憶部を更に備え、
前記回転数切替部は、前記保持条件が満たされたと判断すると、前記出力部が出力する前記回転数の指令値を、前記記憶部に記憶された前記回転数の指令値に切り替える、
請求項1に記載の主機制御システム。
【請求項3】
前記推進パラメータは、前記船舶の対地船速、前記船舶の対水船速、前記主機の馬力、及び前記主機の燃料消費量の少なくとも1つを含む、
請求項1又は2に記載の主機制御システム。
【請求項4】
船舶の推進速度に関する推進パラメータであって、前記船舶を推進させる主機の回転数と異なる複数の前記推進パラメータ内の制御対象として選択された第1推進パラメータの指令値が入力される入力部と、
前記第1推進パラメータの現在値を、入力された前記第1推進パラメータの指令値に追従させるための、前記主機の回転数の指令値を算出する第1算出部と、
前記第1算出部が算出した値を前記回転数の指令値として出力する出力部と、
前記回転数の現在値を、前記出力部から出力された前記回転数の指令値に追従させるように、前記主機を制御する主機制御部と、
複数の前記推進パラメータの内の前記制御対象でない第2推進パラメータの現在値が上限値以上であることを含む制限条件を満たすか否かを判断する判断部と、
前記第2推進パラメータの現在値を前記上限値以下の値に追従させるための、前記主機の回転数の指令値を算出する第2算出部と、
前記制限条件が満たされたと判断されると、前記出力部が出力する前記回転数の指令値を、前記第1算出部が算出した値から前記第2算出部が算出した値に切り替える切替部と、
を備えることを特徴とする主機制御システム。
【請求項5】
前記主機は、圧縮空気を前記主機に供給することにより前記主機の回転動作を加勢する加勢装置により加勢され、
前記第1推進パラメータは、前記船舶の対地船速又は対水船速であり、
前記第2推進パラメータは、前記主機の馬力又は燃料消費量である、
請求項4に記載の主機制御システム。
【請求項6】
前記判断部は、前記制限条件が満たされた後に、前記第2推進パラメータの現在値が前記上限値よりも小さい復帰値以下であるか否かを含む復帰条件が満たされるか否かを判断し、
前記切替部は、前記第2算出部が算出した値を前記出力部が前記回転数の指令値として出力している際に前記復帰条件が満たされたと判断されると、前記出力部が出力する前記回転数の指令値を、前記第1算出部が算出した値に切り替える、
請求項4に記載の主機制御システム。
【請求項7】
前記復帰条件は、前記第2推進パラメータの現在値が減少傾向にあることをさらに含む、請求項6に記載の主機制御システム。
【請求項8】
前記切替部は、前記制限条件が満たされてから前記復帰条件が満たされるまでの間、前記出力部が出力する前記回転数の指令値を所定値に切り替える、
請求項6又は7に記載の主機制御システム。
【請求項9】
前記制限条件が満たされたときに前記出力部が出力している前記回転数の指令値を記憶する記憶部を更に備え、
前記所定値は、前記記憶部に記憶されている前記回転数の指令値である、
請求項8に記載の主機制御システム。
【請求項10】
船舶の推進速度に関する推進パラメータであって、前記船舶を推進させる主機の回転数と異なる制御対象として選択された推進パラメータの指令値が入力される入力部と、
前記推進パラメータの現在値を、入力された前記推進パラメータの指令値に追従させるための、前記主機の回転数の指令値を算出する算出部と、
前記回転数の現在値を前記回転数の指令値に追従させるように前記主機を制御する主機制御装置に、前記算出部が算出した値を前記回転数の指令値として出力する出力部と、
を備える航行支援装置であって、
前記推進パラメータの現在値が、入力された前記推進パラメータの指令値を含む保持範囲内であることを含む保持条件を満たすか否かを判断する判断部と、
前記保持条件が満たされたと判断すると、前記出力部が前記主機制御装置に出力する前記回転数の指令値を前記算出部が算出した値から所定値に切り替える切替部と、
を備えることを特徴とする航行支援装置。
(【請求項11】以降は省略されています)
発明の詳細な説明
【技術分野】
【0001】
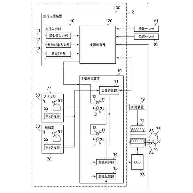
本発明は、主機制御システム及び航行支援装置に関する。
続きを表示(約 2,700 文字)
【背景技術】
【0002】
特許文献1には、船舶の船速及び燃料消費量を制御する技術が開示されている。特許文献1に記載の技術では、船速または燃料消費量の現在値をその指令値に追従させるように主機の回転数が制御される。
【先行技術文献】
【特許文献】
【0003】
特表2018-514459号公報
【発明の概要】
【発明が解決しようとする課題】
【0004】
船舶の船速及び燃料消費量などの主機回転数とは異なる船舶の推進に関する推進パラメータの制御時に、船舶が向かい風、追い風、逆潮、追い潮などの気海象による外乱を受けると、制御対象の実船速や実燃料消費量は刻々と変化してしまうため、主機の回転数が大きく変動する。したがって、推進パラメータの追従制御において推進パラメータの追従性を高め過ぎると、主機回転数が小刻みに変化してハンチングし、例えば、主機の損傷を招くことがある。また、気海象条件が非常に良好な場合には(例えば、追い風、追い潮など)主機の回転数が減少し、その結果、圧縮空気を利用して主機の回転動作を加勢する加勢装置が想定外のタイミングで起動して電力を消費してしまい、燃料消費量の増大を招くことがある。
【0005】
上記課題を鑑み、本発明は、推進パラメータの追従制御において、推進パラメータの追従性を向上させつつ、外乱による主機の回転数の変動を抑制するための技術を提供することを目的とする。
【課題を解決するための手段】
【0006】
上記課題を解決するために、本発明のある態様の主機制御システムは、船舶の推進速度に関する推進パラメータであって、前記船舶を推進させる主機の回転数と異なり且つ制御対象として選択された推進パラメータの指令値が入力される入力部と、前記推進パラメータの現在値を、入力された前記推進パラメータの指令値に追従させるための、前記主機の回転数の指令値を算出する算出部と、前記算出部が算出した値を前記回転数の指令値として出力する出力部と、前記回転数の現在値を、前記出力部から出力された前記回転数の指令値に追従させるように、前記主機を制御する主機制御部と、前記推進パラメータの現在値が、入力された前記推進パラメータの指令値を含む保持範囲内であることを含む保持条件を満たすか否かを判断する判断部と、前記保持条件が満たされたと判断された場合に、前記出力部が出力する前記回転数の指令値を前記算出部が算出した値から所定値に切り替える回転数切替部と、を備えることを特徴とする。
【0007】
本発明の他の態様の主機制御システムは、船舶の推進速度に関する推進パラメータであって、前記船舶を推進させる主機の回転数と異なる複数の前記推進パラメータ内の制御対象として選択された第1推進パラメータの指令値が入力される入力部と、前記第1推進パラメータの現在値を、入力された前記第1推進パラメータの指令値に追従させるための、前記主機の回転数の指令値を算出する第1算出部と、前記第1算出部が算出した値を前記回転数の指令値として出力する出力部と、前記回転数の現在値を、前記出力部から出力された前記回転数の指令値に追従させるように、前記主機を制御する主機制御部と、複数の前記推進パラメータの内の前記制御対象でない第2推進パラメータの現在値が上限値以上であることを含む制限条件を満たすか否かを判断する判断部と、前記第2推進パラメータの現在値を前記上限値以下の値に追従させるための、前記主機の回転数の指令値を算出する第2算出部と、前記制限条件が満たされたと判断されると、前記出力部が出力する前記回転数の指令値を、前記第1算出部が算出した値から前記第2算出部が算出した値に切り替える切替部と、を備えることを特徴とする。
【0008】
本発明の他の態様の航行支援装置は、船舶の推進速度に関する推進パラメータであって、前記船舶を推進させる主機の回転数と異なる制御対象として選択された推進パラメータの指令値が入力される入力部と、前記推進パラメータの現在値を、入力された前記推進パラメータの指令値に追従させるための、前記主機の回転数の指令値を算出する算出部と、前記回転数の現在値を前記回転数の指令値に追従させるように前記主機を制御する主機制御装置に、前記算出部が算出した値を前記回転数の指令値として出力する出力部と、を備える航行支援装置であって、前記推進パラメータの現在値が、入力された前記推進パラメータの指令値を含む保持範囲内であることを含む保持条件を満たすか否かを判断する判断部と、前記保持条件が満たされたと判断すると、前記出力部が前記主機制御装置に出力する前記回転数の指令値を前記算出部が算出した値から所定値に切り替える切替部と、を備えることを特徴とする。
【0009】
本発明のさらに他の態様の航行支援装置は、船舶の推進速度に関する推進パラメータであって、前記船舶を推進させる主機の回転数と異なる複数の前記推進パラメータ内の制御対象として選択された第1推進パラメータの指令値が入力される入力部と、前記第1推進パラメータの現在値を、入力された前記第1推進パラメータの指令値に追従させるための、前記主機の回転数の指令値を算出する第1算出部と、前記回転数の現在値を前記回転数の指令値に追従させるように前記主機を制御する主機制御装置に、前記第1算出部が算出した値を前記回転数の指令値として出力する出力部と、を備える航行支援装置であって、複数の前記推進パラメータの内の前記制御対象でない第2推進パラメータの現在値が上限値以上であることを含む制限条件を満たすか否かを判断する判断部と、前記第2推進パラメータの現在値を前記制限範囲内の値に追従させるための、前記主機の回転数の指令値を算出する第2算出部と、前記制限条件が満たされたと判断されると、前記出力部が前記主機制御装置に出力する前記回転数の指令値を、前記第1算出部が算出した値から前記第2算出部が算出した値に切り替える切替部と、を備えることを特徴とする。
【0010】
なお、以上の任意の組み合わせや、本発明の構成要素や表現を方法、装置、プログラム、プログラムを記録した一時的なまたは一時的でない記憶媒体、システムなどの間で相互に置換したものもまた、本発明の態様として有効である。
【発明の効果】
(【0011】以降は省略されています)
この特許をJ-PlatPat(特許庁公式サイト)で参照する
関連特許
ナブテスコ株式会社
主機制御システム
6日前
ナブテスコ株式会社
駆動装置及び位置調整装置
13日前
ナブテスコ株式会社
主機制御システム及び航行支援装置
6日前
ナブテスコ株式会社
推進装置制御システム、航行支援装置
6日前
ナブテスコ株式会社
推進装置制御システムおよび航行支援装置
6日前
ナブテスコ株式会社
推進装置制御システムおよび航行支援装置
6日前
個人
水上遊具
4か月前
個人
洋上研究所
2か月前
個人
川下り用船
10か月前
個人
発電船
11か月前
個人
船用横揺防止具
7か月前
個人
補助機構
6か月前
個人
津波防災ウエア
1か月前
個人
コンパクトシティ船
6か月前
個人
渦流動力推進構造
6か月前
個人
セールのバテンガイド装置
2か月前
炎重工株式会社
浮標
8か月前
炎重工株式会社
浮標
8か月前
個人
水質浄化・集熱昇温システム
3か月前
炎重工株式会社
移動体
11か月前
住友重機械工業株式会社
船舶
3か月前
株式会社フルトン
水中捕捉装置
6か月前
個人
スクリュープロペラ
6か月前
個人
船舶
8か月前
株式会社ラフティ
サーフボード
3か月前
オーケー工業株式会社
係留フック
7か月前
個人
回転式による流体流出防止タンカー
6か月前
常石造船株式会社
メタノール燃料船
9か月前
スズキ株式会社
船外機
6か月前
株式会社アカデミー出版
船舶
2か月前
スズキ株式会社
船外機
5か月前
スズキ株式会社
船外機
5か月前
ヤマハ発動機株式会社
船外機
8か月前
スズキ株式会社
船外機
6か月前
朝日電装株式会社
船外機用照明装置
1か月前
藤倉コンポジット株式会社
架台
9か月前
続きを見る
他の特許を見る