TOP
|
特許
|
意匠
|
商標
特許ウォッチ
Twitter
他の特許を見る
公開番号
2025139505
公報種別
公開特許公報(A)
公開日
2025-09-26
出願番号
2024038476
出願日
2024-03-12
発明の名称
推進装置制御システム、航行支援装置
出願人
ナブテスコ株式会社
代理人
個人
主分類
B63B
79/40 20200101AFI20250918BHJP(船舶またはその他の水上浮揚構造物;関連艤装品)
要約
【課題】本発明の目的は、推進装置の負荷上げに係る操作負担を軽減することにある。
【解決手段】航行支援装置10は、推進パラメータを選択する選択操作と、推進パラメータの指令値を入力する第1入力操作と、を受け付ける第1操作部12と、推進パラメータの現在値を、推進パラメータの指令値に追従させるための回転数の指令値を算出する第1算出部14と、を備える。遠隔操縦装置40は、回転数の指令値を受け付ける第2操作部41と、航行支援モードの場合には第1算出部14の回転数の指令値M1を取得し、通常航行モードの場合には第2操作部41の回転数の指令値M3を取得する取得部46と、回転数の現在値を、回転数の指令値に追従させるように、推進装置97を制御する制御部48と、を備える。取得部46は、航行支援モードに設定されている際に負荷上げモードに変更された場合、指令値M2を取得する。
【選択図】図2
特許請求の範囲
【請求項1】
航行支援装置と、遠隔操縦装置と、を備える推進装置制御システムであって、
前記航行支援装置は、
船舶の船速と、前記船舶が有する推進装置が出力する馬力とを含む複数のパラメータの中から制御対象とする推進パラメータを選択する選択操作と、前記推進パラメータの指令値を入力する第1入力操作と、を少なくとも受け付ける第1操作部と、
前記推進パラメータの現在値を、前記第1操作部が受け付けた前記推進パラメータの指令値に追従させるための、前記推進装置の回転数の指令値を算出する第1算出部と、を備え、
前記遠隔操縦装置は、
前記推進装置の回転数の指令値を入力する第2入力操作を受け付ける第2操作部と、
現在の操縦モードが航行支援モードに設定されている場合には前記第1算出部が算出した前記回転数の指令値を取得し、現在の操縦モードが通常航行モードに設定されている場合には前記第2操作部が受け付けた前記回転数の指令値を取得する取得部と、
前記回転数の現在値を、前記取得部が取得した前記回転数の指令値に追従させるように、前記推進装置を制御する制御部と、を備え、
前記取得部は、現在の前記操縦モードが前記航行支援モードに設定されている際に負荷上げモードに変更された場合、所定値である前記回転数の指令値を取得する、推進装置制御システム。
続きを表示(約 1,900 文字)
【請求項2】
前記推進装置は、主機であり、
前記複数のパラメータは、前記主機の燃料消費量を含む、
請求項1に記載の推進装置制御システム。
【請求項3】
前記第1操作部は、現在の前記操縦モードを、前記通常航行モード、前記航行支援モード、及び前記負荷上げモードのいずれかに設定する設定操作をさらに受け付ける、
請求項1に記載の推進装置制御システム。
【請求項4】
所定期間が経過すると前記操縦モードを前記負荷上げモードから前記航行支援モードに復帰する、
請求項1及び3のいずれかに記載の推進装置制御システム。
【請求項5】
前記航行支援装置は、
現在の前記操縦モードが前記航行支援モードに設定されている場合に前記第1算出部が算出した回転数の指令値を前記取得部に出力し、
現在の前記操縦モードが前記負荷上げモードに設定されている場合に前記所定値である回転数の指令値を前記取得部に出力する出力部を備える、請求項1及び3のいずれかに記載の推進装置制御システム。
【請求項6】
前記選択操作は、複数の前記推進パラメータの内の制御対象とする第1推進パラメータを選択する操作であり、
前記第1入力操作は、前記制御対象として選択された第1推進パラメータの指令値を入力する操作であり、
前記第1算出部は、前記第1推進パラメータの現在値を、前記第1推進パラメータの指令値に追従させるための、前記主機の回転数の指令値を算出し、
前記航行支援装置は、
複数の前記推進パラメータの内の前記制御対象として選択されていない第2推進パラメータの現在値が上限値以上であることを含む制限条件を満たすか否かを判断する制限判断部と、
前記第2推進パラメータの現在値を前記上限値未満に制限するための前記主機の回転数の指令値を算出する第2算出部と、
前記回転数の指令値を前記取得部に出力する出力部と、を更に備え、
前記出力部は、前記制限条件が満たされた場合には、前記第2算出部が算出した値を出力し、前記制限条件が満たされていない場合には、前記第1算出部が算出した値を出力し、
前記出力部は、現在の前記操縦モードが前記負荷上げモードに設定されている場合、前記所定値に前記主機の回転数の現在値を追従させることによって前記制限条件が満たされる場合でも無視して、前記所定値の出力を継続する、請求項2に記載の推進装置制御システム。
【請求項7】
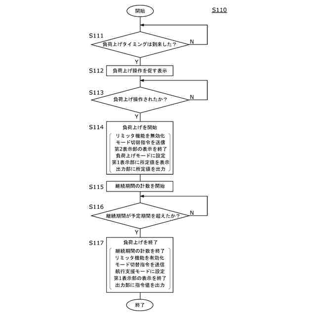
前記航行支援装置は、現在の前記操縦モードが前記負荷上げモードに設定されている場合に、前記所定値を表示させる第1表示部を更に備える、請求項1及び6のいずれかに記載の推進装置制御システム。
【請求項8】
前記航行支援装置は、
前記取得部が取得した前記回転数の指令値の時系列データを記憶する記憶部と、
前記記憶部に記憶された前記時系列データを用いて前記負荷上げモードによる運転を実行すべきタイミングを判断する負荷上げタイミング判断部と、
前記タイミングが到来したと判断された場合に、前記操縦モードを前記負荷上げモードに設定する設定操作を促す情報を表示させる第2表示部を更に備える、請求項1及び6のいずれかに記載の推進装置制御システム。
【請求項9】
船舶が有する主機の回転数を、入力された回転数の指令値に追従させるように前記主機を制御する遠隔操縦装置と通信可能な航行支援装置であって、
前記船舶の船速、前記主機が出力する馬力、及び前記主機の燃料消費量の中から制御対象とする推進パラメータを選択する選択操作と、前記推進パラメータの指令値を入力する第1入力操作と、現在の操縦モードを、通常航行モード、航行支援モード、及び負荷上げモードのいずれかに設定する設定操作と、を受け付ける第1操作部と、
前記推進パラメータの現在値を、前記第1操作部が受け付けた前記推進パラメータの指令値に追従させるための、前記主機の回転数の指令値を算出する第1算出部と、
前記現在の前記操縦モードが前記航行支援モードに設定されている場合に前記第1算出部が算出した回転数の指令値を前記遠隔操縦装置に出力し、現在の前記操縦モードが前記負荷上げモードに設定されている場合に所定値である前記回転数の指令値を前記遠隔操縦装置に出力する出力部と、
を備える航行支援装置。
発明の詳細な説明
【技術分野】
【0001】
本発明は、推進装置制御システム及び航行支援装置に関する。
続きを表示(約 2,100 文字)
【背景技術】
【0002】
テレグラフ装置の操作ハンドルが操作されて、船舶の推進力を生じさせる主機の回転数とプロペラの翼角の制御が行われる技術が知られている(例えば、特許文献1参照)。また、主機各部に堆積した煤などの付着物を除去するため、主機の定期的な負荷上げが実施されている。主機のシリンダライナやピストンリングなどは負荷上げによって摩耗するため、負荷上げは必要最小限に留めることが望ましい。そこで、特許文献1には、主機の回転数の目標値が閾値よりも小さい低負荷状態の継続時間に応じて主機の負荷上げの実施可否を判定し、負荷上げを実施すると判定された場合に主機の回転数の目標値を変更して負荷上げを実施する技術が開示されている。
【0003】
また、特許文献2には、目標設定部で定められた目標船速と、船速検出部で検出された船舶の実船速との差分に基づいて主機関における回転速度等を制御する船速制御部を備えた船速設定システムが記載されている。このシステムは、表示部からの操作により船速制御部による船速制御の有効/無効を切り替えることができる。
【先行技術文献】
【特許文献】
【0004】
特開2023-183568号公報
特開2023-177880号公報
【発明の概要】
【発明が解決しようとする課題】
【0005】
特許文献2に記載の技術では、主機関の回転数を所定の回転数以上に上げる負荷上げを実施するためには、所定の操作により船速制御部による船速制御を無効にしてテレグラフ操縦ハンドルから入力された目標回転数に実回転数を追従させる回転数制御に切り替えて、テレグラフ操縦ハンドルを操作して目標回転数を設定する必要があるため、操船者に負担がかかるという問題があった。
【0006】
上記課題を鑑みて、本発明の目的は、推進装置の負荷上げに係る操作負担を軽減することが可能な推進装置制御システムの技術を提供することにある。
【課題を解決するための手段】
【0007】
上記課題を解決するために、本発明のある態様の推進装置制御システムは、航行支援装置と、遠隔操縦装置と、を備える推進装置制御システムであって、航行支援装置は、船舶の船速と、船舶が有する推進装置が出力する馬力とを含む複数のパラメータの中から制御対象とする推進パラメータを選択する選択操作と、推進パラメータの指令値を入力する第1入力操作と、を少なくとも受け付ける第1操作部と、推進パラメータの現在値を、第1操作部が受け付けた推進パラメータの指令値に追従させるための、推進装置の回転数の指令値を算出する第1算出部と、を備える。遠隔操縦装置は、推進装置の回転数の指令値を入力する第2入力操作を受け付ける第2操作部と、現在の操縦モードが航行支援モードに設定されている場合には第1算出部が算出した回転数の指令値を取得し、現在の操縦モードが通常航行モードに設定されている場合には第2操作部が受け付けた回転数の指令値を取得する取得部と、回転数の現在値を、取得部が取得した回転数の指令値に追従させるように、推進装置を制御する制御部と、を備える。取得部は、現在の操縦モードが航行支援モードに設定されている際に負荷上げモードに変更された場合、所定値である回転数の指令値を取得する。
【0008】
本発明の別の態様は、航行支援装置である。この装置は、船舶が有する主機の回転数を、入力された回転数の指令値に追従させるように主機を制御する遠隔操縦装置と通信可能な航行支援装置であって、船舶の船速、主機が出力する馬力、及び主機の燃料消費量の中から制御対象とする推進パラメータを選択する選択操作と、推進パラメータの指令値を入力する第1入力操作と、現在の操縦モードを、通常航行モード、航行支援モード、及び負荷上げモードのいずれかに設定する設定操作と、を受け付ける第1操作部と、推進パラメータの現在値を、第1操作部が受け付けた推進パラメータの指令値に追従させるための、主機の回転数の指令値を算出する第1算出部と、現在の操縦モードが航行支援モードに設定されている場合に第1算出部が算出した回転数の指令値を遠隔操縦装置に出力し、現在の操縦モードが負荷上げモードに設定されている場合に所定値である回転数の指令値を遠隔操縦装置に出力する出力部と、を備える。
【0009】
なお、以上の任意の組み合わせや、本発明の構成要素や表現を方法、装置、プログラム、プログラムを記録した一時的なまたは一時的でない記憶媒体、システムなどの間で相互に置換したものもまた、本発明の態様として有効である。
【発明の効果】
【0010】
本発明によれば、推進装置の負荷上げに係る操作負担を軽減することが可能な推進装置制御システムの技術を提供できる。
【図面の簡単な説明】
(【0011】以降は省略されています)
この特許をJ-PlatPat(特許庁公式サイト)で参照する
関連特許
ナブテスコ株式会社
主機制御システム
6日前
ナブテスコ株式会社
駆動装置及び位置調整装置
13日前
ナブテスコ株式会社
主機制御システム及び航行支援装置
6日前
ナブテスコ株式会社
推進装置制御システム、航行支援装置
6日前
ナブテスコ株式会社
推進装置制御システムおよび航行支援装置
6日前
ナブテスコ株式会社
推進装置制御システムおよび航行支援装置
6日前
ナブテスコ株式会社
ワークポジショナ及びワークポジショナの設置方法
1か月前
個人
水上遊具
4か月前
個人
洋上研究所
2か月前
個人
川下り用船
10か月前
個人
発電船
11か月前
個人
船用横揺防止具
7か月前
個人
補助機構
6か月前
個人
津波防災ウエア
1か月前
個人
コンパクトシティ船
6か月前
個人
渦流動力推進構造
6か月前
個人
セールのバテンガイド装置
2か月前
炎重工株式会社
浮標
8か月前
炎重工株式会社
浮標
8か月前
個人
水質浄化・集熱昇温システム
3か月前
炎重工株式会社
移動体
11か月前
住友重機械工業株式会社
船舶
3か月前
株式会社フルトン
水中捕捉装置
6か月前
個人
スクリュープロペラ
6か月前
個人
船舶
8か月前
株式会社ラフティ
サーフボード
3か月前
オーケー工業株式会社
係留フック
7か月前
個人
回転式による流体流出防止タンカー
6か月前
常石造船株式会社
メタノール燃料船
9か月前
スズキ株式会社
船外機
6か月前
株式会社アカデミー出版
船舶
2か月前
スズキ株式会社
船外機
5か月前
スズキ株式会社
船外機
5か月前
ヤマハ発動機株式会社
船外機
8か月前
スズキ株式会社
船外機
6か月前
朝日電装株式会社
船外機用照明装置
1か月前
続きを見る
他の特許を見る