TOP
|
特許
|
意匠
|
商標
特許ウォッチ
Twitter
他の特許を見る
公開番号
2025139824
公報種別
公開特許公報(A)
公開日
2025-09-29
出願番号
2024038873
出願日
2024-03-13
発明の名称
頭皮洗浄器用ノズル及び頭皮洗浄器
出願人
株式会社岩田鉄工所
代理人
個人
主分類
A45D
19/00 20060101AFI20250919BHJP(手持品または旅行用品)
要約
【課題】毛穴に詰まった皮脂汚れ等を有効に除去することができ、毛根を露出させることができる頭皮洗浄器用ノズルを提供する。
【解決手段】ノズル1は、第一平板部11と、第二平板部21と、第一平板部と第二平板部との間に貯留空間Sを形成している第一周壁部12及び第二周壁部22と、第一平板部から筒状に突出している継手部13と、第一平板部において継手部の基部を構成している部分の一部を貫通している導入孔15と、第二平板部から筒状に突出している複数の突起部23と、第二平板部において複数の突起部それぞれの基部を構成している部分それぞれの一部を貫通している噴出孔25とを備えており、複数の噴出孔の断面積の合計は、導入孔の断面積より小さい。
【選択図】図3
特許請求の範囲
【請求項1】
平板状の第一平板部と、
平板状の第二平板部と、
前記第一平板部と前記第二平板部との間に貯留空間を形成している周壁部と、
前記第一平板部から、前記第二平板部とは反対の方向に筒状に突出している継手部と、
前記第一平板部において前記継手部の基部を構成している部分の一部を貫通している導入孔と、
前記第二平板部から、前記第一平板部とは反対の方向に筒状に突出している複数の突起部と、
前記第二平板部において複数の前記突起部それぞれの基部を構成している部分それぞれの一部を貫通している噴出孔と、を備えており、
複数の前記噴出孔の断面積の合計は、前記導入孔の断面積より小さい
ことを特徴とする頭皮洗浄器用ノズル。
続きを表示(約 370 文字)
【請求項2】
複数の前記突起部は円周上に配置されており、
前記第二平板部において複数の前記突起部それぞれの基部を構成している部分を円形につないだ部分の厚さは、前記第二平板部におけるその他の部分の厚さより小さい
ことを特徴とする請求項1に記載の頭皮洗浄器用ノズル。
【請求項3】
前記第二平板部を貫通している洗浄用開口と、
該洗浄用開口を開閉する蓋体と、を更に備える
ことを特徴とする請求項1または請求項2に記載の頭皮洗浄器用ノズル。
【請求項4】
請求項1に記載の頭皮洗浄器用ノズルと、
該頭皮洗浄器用ノズルの前記継手部に接続された導入管と、
外部から吸引した湯水を前記導入管に吐出するポンプと、を備える
ことを特徴とする頭皮洗浄器。
発明の詳細な説明
【技術分野】
【0001】
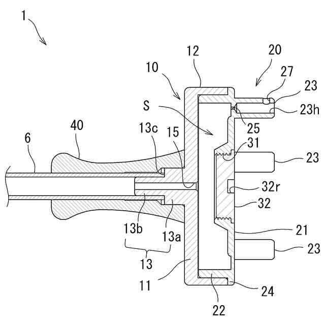
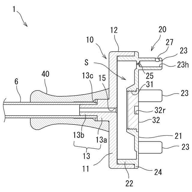
本発明は、頭皮を洗浄すると共に、毛穴に詰まった皮脂汚れ等を除去して毛根を露出させる頭皮洗浄器用ノズル、及び、該頭皮洗浄器用ノズルを備える頭皮洗浄器に関するものである。
続きを表示(約 2,000 文字)
【背景技術】
【0002】
頭皮に付着した汚れを洗浄することを目的として、微細な泡を発生することを謳ったシャワーヘッドが実施されている。かかるシャワーヘッドに関しては、微細な泡が毛穴に入り込むことにより、毛穴に詰まった皮脂汚れ等を除去することができると、その効果が主張されている。
【0003】
しかしながら、シャワーヘッドから噴出される湯水は、毛髪に当たって散乱してしまうことにより、毛穴まで到達する湯水が大幅に減少してしまうという問題があった。また、シャワーヘッドから噴出される湯水は、毛髪に当たることによって水圧が低下してしまうため、湯水が毛穴まで到達したとしても、毛穴に詰まった皮脂汚れ等を除去する力が弱いという問題があった。
【0004】
一つの毛穴からは複数本の毛髪が生えており、それぞれの毛髪において表皮より深い部分は「毛根」と称されている。毛根は毛根鞘で包まれており、毛根の基部では内部にある毛母細胞が毛乳頭を介して毛細血管から栄養分を取り込み、毛髪を成長させる。従って、毛母細胞の働きが低下すると毛髪の成長が不十分となり、毛髪一本の太さが細くなったり、毛髪の本数が低減したりすることにより、所謂“毛髪が薄くなる”という事態が生じる。毛母細胞を活性化させる育毛剤も市販されているが、毛穴には皮脂腺が開口しているため、皮脂腺から分泌される皮脂によって毛穴が詰まってしまうことがある。毛穴が皮脂汚れで詰まってしまうと、育毛剤を使用したとしても、育毛剤の成分が毛根の基部まで到達せず、その成分を毛母細胞に作用させることが不十分となる。毛穴に詰まった皮脂汚れ等をしっかりと除去することができれば、毛根が基部まで露出するため、毛髪の成長に資する成分を毛根の基部まで到達させ、毛母細胞に作用させることができると考えられる。
【0005】
従って、頭皮を洗浄するに当たり、毛穴に詰まった皮脂汚れ等を有効に除去することができ、毛根を露出させることができる手段が要請されていた。
【発明の概要】
【発明が解決しようとする課題】
【0006】
そこで、本発明は、上記の実情に鑑み、毛穴に詰まった皮脂汚れ等を有効に除去することができ、毛根を露出させることができる頭皮洗浄器用ノズルの提供、及び、該頭皮洗浄器用ノズルを備える頭皮洗浄器の提供を、課題とするものである。
【課題を解決するための手段】
【0007】
上記の課題を解決するため、本発明にかかる頭皮洗浄器用ノズルは、
「平板状の第一平板部と、
平板状の第二平板部と、
前記第一平板部と前記第二平板部との間に貯留空間を形成している周壁部と、
前記第一平板部から、前記第二平板部とは反対の方向に筒状に突出している継手部と、
前記第一平板部において前記継手部の基部を構成している部分の一部を貫通している導入孔と、
前記第二平板部から、前記第一平板部とは反対の方向に筒状に突出している複数の突起部と、
前記第二平板部において複数の前記突起部それぞれの基部を構成している部分それぞれの一部を貫通している噴出孔と、を備えており、
複数の前記噴出孔の断面積の合計は、前記導入孔の断面積より小さい」ものである。
【0008】
ここで、「前記第一平板部において前記継手部の基部を構成している部分」は、第一平板部において筒状の継手部の側周面との接続部で囲まれている部分、を指している。また、「前記第二平板部において複数の前記突起部それぞれの基部を構成している部分」は、複数の突起部それぞれについて、第二平板部において筒状の突起部の側周面との接続部で囲まれている部分、を指している。
【0009】
継手部に湯水を導入すると、湯水は継手部の内部空間を流通し、第一平板部において継手部の基部を構成している部分を貫通している導入孔から貯留空間に流入する。貯留空間が湯水で満たされると、湯水は複数の噴出孔から噴出し、筒状の突起部を通ってその先端から噴出する。従って、突起部の先端を頭皮に近づけて、或いは、突起部の先端が頭皮に当たるようにして、頭皮洗浄器用ノズルを頭皮に沿って移動させることにより、突起部から噴出した湯水で頭皮を洗浄することができる。
【0010】
このとき、貯留空間から湯水を噴出させる複数の噴出孔の断面積の合計は、貯留空間に湯水を導入する導入孔の断面積より小さい。このような断面積の関係により、噴出孔から噴出する湯水は加圧され、高圧の湯水となって噴出孔から噴出する。従って、高圧の湯水で頭皮を洗浄することができ、毛穴に皮脂汚れ等が詰まっていたとしても、高圧の湯水によって効果的に除去することができる。
(【0011】以降は省略されています)
この特許をJ-PlatPat(特許庁公式サイト)で参照する
関連特許
株式会社岩田鉄工所
頭皮洗浄器用ノズル及び頭皮洗浄器
12日前
個人
包み箱
1か月前
個人
傘
1か月前
個人
杖
3か月前
個人
傘
6か月前
個人
折り畳み傘
3か月前
個人
財布
4か月前
個人
二重把手袋
6か月前
個人
眼鏡ホルダー
2か月前
個人
バッグ
3か月前
個人
シール
5か月前
個人
シート状パック
6か月前
個人
刺抜き具
7か月前
個人
美容用具
2か月前
個人
肩ベルトカバー
1か月前
個人
傘
8か月前
個人
傘の先端キャップ
5か月前
個人
補助持ち手付き傘
4か月前
個人
滑らないヘアピン
8か月前
ベス工業株式会社
整髪具
4か月前
個人
電動爪削り器
9か月前
個人
香りカプセル
10か月前
株式会社文殊
巾着袋
2か月前
個人
リュックサック
10か月前
個人
手提げ袋携帯ホルダー
7か月前
個人
折りたたみ式提げ手。
6か月前
大忠株式会社
バッグ
7か月前
個人
スマートフォンカバー
6か月前
コクヨ株式会社
バッグ
6か月前
株式会社イケテイ
袋物
4か月前
株式会社バンビ
長財布
7か月前
個人
傘の折り畳み式滴受け具
11か月前
個人
エクステプレート
1か月前
個人
髪処理装置
11か月前
個人
傘巻き取り補助具
16日前
株式会社バンビ
長財布
1日前
続きを見る
他の特許を見る