TOP
|
特許
|
意匠
|
商標
特許ウォッチ
Twitter
他の特許を見る
10個以上の画像は省略されています。
公開番号
2025139857
公報種別
公開特許公報(A)
公開日
2025-09-29
出願番号
2024038922
出願日
2024-03-13
発明の名称
照明装置
出願人
東芝ライテック株式会社
代理人
個人
,
個人
主分類
F21V
33/00 20060101AFI20250919BHJP(照明)
要約
【課題】光源からカメラ部への熱影響を低減できる照明装置を提供する。
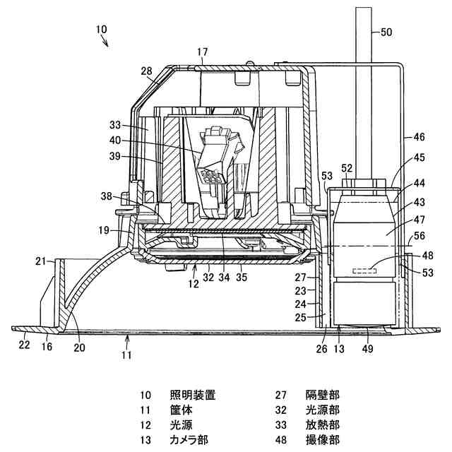
【解決手段】照明装置10は、筐体11と、光源12と、カメラ部13とを備える。筐体11は、円筒状に設けられる。光源12は、光源部32と、光源部32の上側に配設される放熱部33とを有し、筐体11内に配置される。カメラ部13は、撮像部48を有し、撮像部48が光源12の少なくとも放熱部33よりも下側に位置されて筐体11内に配置される。
【選択図】図5
特許請求の範囲
【請求項1】
円筒状の筐体と;
光源部と、前記光源部の上側に配設される放熱部とを有し、前記筐体内に配置される光源と;
撮像部を有し、前記撮像部が前記光源の少なくとも前記放熱部よりも下側に位置されて前記筐体内に配置されるカメラ部と;
を備えることを特徴とする照明装置。
続きを表示(約 69 文字)
【請求項2】
前記光源と前記カメラ部との間に配置される隔壁部を備える
ことを特徴とする請求項1に記載の照明装置。
発明の詳細な説明
【技術分野】
【0001】
本発明の実施形態は、照明装置に関する。
続きを表示(約 1,100 文字)
【背景技術】
【0002】
従来、同じ筐体内に光源とカメラ部とを配置した照明装置がある。このような照明装置では、光源が熱を発生するため、この光源の熱をカメラ部が受けて動作に影響が生じる懸念がある。
【先行技術文献】
【特許文献】
【0003】
特開2015-60832号公報
【発明の概要】
【発明が解決しようとする課題】
【0004】
本発明が解決しようとする課題は、光源からカメラ部への熱影響を低減できる照明装置を提供することにある。
【課題を解決するための手段】
【0005】
実施形態の照明装置は、筐体と、光源と、カメラ部とを備える。筐体は、円筒状に設けられる。光源は、光源部と、光源部の上側に配設される放熱部とを有し、筐体内に配置される。カメラ部は、撮像部を有し、撮像部が光源の少なくとも放熱部よりも下側に位置されて筐体内に配置される。
【発明の効果】
【0006】
実施形態によれば、光源からカメラ部への熱影響を低減可能な照明装置を提供することが期待できる。
【図面の簡単な説明】
【0007】
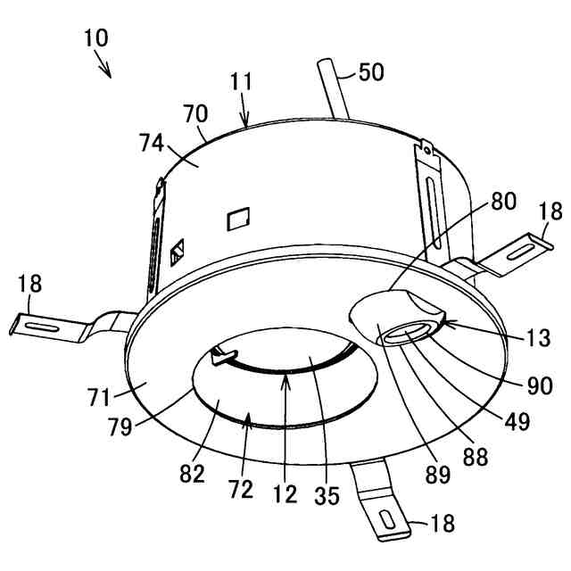
第1の実施形態を示す照明装置の底面図である。
同上照明装置の斜視図である。
同上照明装置の斜視図である。
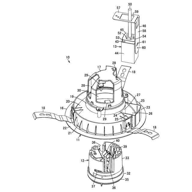
同上照明装置の分解斜視図である。
同上照明装置の断面図である。
同上照明装置のカメラ部の斜視図である。
第2の実施形態を示す照明装置の底面図である。
同上照明装置の斜視図である。
同上照明装置の斜視図である。
同上照明装置の分解斜視図である。
同上照明装置の断面図である。
同上照明装置のカメラ部の斜視図である。
【発明を実施するための形態】
【0008】
以下、第1の実施形態を、図1ないし図6を参照して説明する。
【0009】
図1ないし図5に照明装置10を示す。照明装置10は、照明機能とカメラ機能を有するカメラ付ダウンライトである。照明装置10は、設置面である例えば天井板に設けられた埋込孔に埋め込み設置される。
【0010】
照明装置10は、円筒状の筐体11と、この筐体11の中央に配置される光源ユニットである光源12と、筐体11の周辺部で光源12に対して径方向に並んで配置されるカメラ部13とを備え、同じ筐体11内に光源12とカメラ部13とが配置される。第1の実施形態の筐体11は、上面開放形の器具構造を有する。
(【0011】以降は省略されています)
この特許をJ-PlatPat(特許庁公式サイト)で参照する
関連特許
個人
車載機器の通気構造
1か月前
株式会社遠藤照明
照明装置
21日前
株式会社小糸製作所
車両用灯具
3日前
能美防災株式会社
表示灯
1か月前
株式会社小糸製作所
車両用灯具
3日前
株式会社小糸製作所
誘導装置
14日前
スタンレー電気株式会社
照射用光源
7日前
アクア株式会社
冷蔵庫
2か月前
株式会社小糸製作所
投光装置
1か月前
フルトラム株式会社
光学機器
2日前
株式会社小糸製作所
投光装置
1か月前
株式会社小糸製作所
表示用灯具
7日前
株式会社小糸製作所
表示用灯具
7日前
株式会社小糸製作所
車両用前照灯
14日前
株式会社ユーシン
表示・照明装置
3日前
株式会社北井地所
照明装置
14日前
スタンレー電気株式会社
照明装置
7日前
三協立山株式会社
照明付きポール
1か月前
株式会社ルミカ
発光具
1か月前
スタンレー電気株式会社
車両用灯具
7日前
株式会社小糸製作所
車両用前照灯ユニット
15日前
市光工業株式会社
車両用灯具
1か月前
ニチレイマグネット株式会社
磁着式電飾装置
21日前
ネグロス電工株式会社
取付金具
1日前
東芝ライテック株式会社
照明装置
11日前
能美防災株式会社
携帯型電灯
7日前
東芝ライテック株式会社
照明装置
14日前
東芝ライテック株式会社
照明装置
1日前
日亜化学工業株式会社
車両用灯具
1か月前
東芝ライテック株式会社
照明装置
11日前
豊田合成株式会社
発光エンブレム
1か月前
瀚宇彩晶股ふん有限公司
光源モジュール
11日前
東芝ライテック株式会社
航空障害灯
3日前
シチズン電子株式会社
レンズ及び照明装置
2か月前
クロイ電機株式会社
表示装置
11日前
スタンレー電気株式会社
自動二輪車用前照灯
2か月前
続きを見る
他の特許を見る