TOP
|
特許
|
意匠
|
商標
特許ウォッチ
Twitter
他の特許を見る
公開番号
2025139920
公報種別
公開特許公報(A)
公開日
2025-09-29
出願番号
2024039010
出願日
2024-03-13
発明の名称
運搬台車および運搬方法
出願人
鹿島建設株式会社
,
株式会社横河ブリッジ
代理人
個人
主分類
B62B
3/02 20060101AFI20250919BHJP(鉄道以外の路面車両)
要約
【課題】板状の運搬物の建築現場等での運搬作業を容易に行うことができる運搬台車等を提供する。
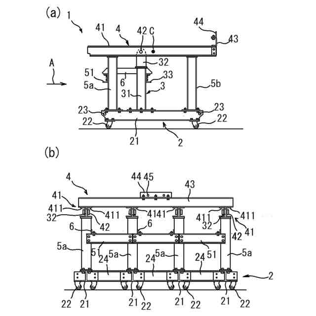
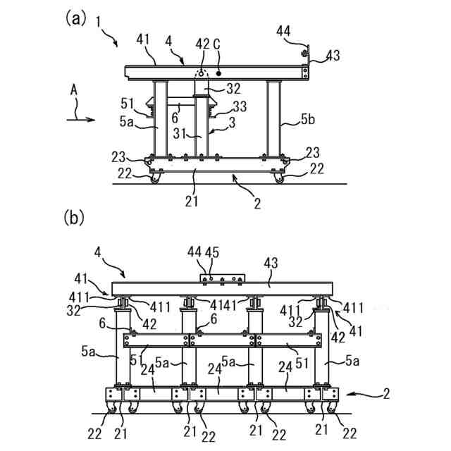
【解決手段】運搬台車1は、板状の運搬物を運搬するためのものである。運搬台車1は、台車2と、台車2上に設けられた柱材3と、柱材3の上部に、鉛直面内で回転可能に取り付けられた荷台4と、を有する。上記の鉛直面を見た時に、荷台4の回転軸42は、荷台4の両端部を除く中間部であって、且つ荷台4の重心から離れた位置にある。
【選択図】図1
特許請求の範囲
【請求項1】
板状の運搬物を運搬するための運搬台車であって、
台車と、
前記台車上に設けられた柱材と、
前記柱材の上部に、鉛直面内で回転可能に取り付けられた荷台と、
を有し、
前記鉛直面を見た時に、前記荷台の回転軸は、前記荷台の両端部を除く中間部であって、且つ前記荷台の重心から離れた位置にあることを特徴とする運搬台車。
続きを表示(約 450 文字)
【請求項2】
前記台車に対して着脱可能な支柱をさらに有し、
前記台車に取り付けた前記支柱によって、水平方向に配置された前記荷台が支持されることを特徴とする請求項1記載の運搬台車。
【請求項3】
前記運搬台車を吊り上げるための吊部を有することを特徴とする請求項1記載の運搬台車。
【請求項4】
前記荷台は、
前記鉛直面の直交方向に間隔を空けて配置された複数の桁材と、
前記複数の桁材の、前記回転軸から見て前記重心側に位置する端部に設けられた前記運搬物の受け材と、
を有し、
前記桁材の上面に前記運搬物が載置されることを特徴とする請求項1記載の運搬台車。
【請求項5】
請求項1記載の運搬台車を用いた板状の運搬物の運搬方法であって、
前記荷台を水平とした状態で前記運搬物を前記荷台上に載せる工程と、
前記荷台が傾斜した状態で前記台車を走行させる工程と、
を有することを特徴とする運搬方法。
発明の詳細な説明
【技術分野】
【0001】
本発明は、板状の運搬物の運搬を行う運搬台車等に関する。
続きを表示(約 1,400 文字)
【背景技術】
【0002】
特許文献1には、建築現場において板状の運搬物の運搬を行う運搬台車として、運搬物を載せる荷台を傾斜させたものが記載されている。また特許文献2には、斜め方向の荷台の傾斜角度を可変とした箱詰め台について記載されており、箱受け台は主フレーム上に設けられ、主フレームはコマ足等の脚により下から支持される。
【先行技術文献】
【特許文献】
【0003】
特開2017-81386号公報
特開2018-198588号公報
【発明の概要】
【発明が解決しようとする課題】
【0004】
建築現場においては、1tを超えるような板状の運搬物を運搬台車に積み込んで建物内の通路や乗用エレベータのような狭隘な空間で運搬した後、荷降ろしを行うことが求められる。これら一連の作業を容易に行うためには、荷台の傾斜角度をそれぞれの作業に合わせて可変とすることが望ましい。
【0005】
しかしながら、特許文献1のような従来の運搬台車や特許文献2の箱詰め台では、荷台が下端部を中心として回転し、その傾斜角度が制限される構成となっており、上記した一連の作業を容易に行うことが難しかった。
【0006】
本発明は上記の問題に鑑みてなされたものであり、板状の運搬物の建築現場等での運搬作業を容易に行うことができる運搬台車等を提供することを目的とする。
【課題を解決するための手段】
【0007】
前述した課題を解決するための第1の発明は、板状の運搬物を運搬するための運搬台車であって、台車と、前記台車上に設けられた柱材と、前記柱材の上部に、鉛直面内で回転可能に取り付けられた荷台と、を有し、前記鉛直面を見た時に、前記荷台の回転軸は、前記荷台の両端部を除く中間部であって、且つ前記荷台の重心から離れた位置にあることを特徴とする運搬台車である。
【0008】
本発明の運搬台車は、回転軸を中心として荷台を回転させることで荷台を傾斜状態とし、建物内の通路や乗用エレベータのような狭隘な空間でも荷台上の運搬物を容易に運搬でき、回転軸が荷台の重心から離れた位置にあることで、荷台が傾斜状態で安定する。しかも、柱材の上部の回転軸が荷台の中間部に配置されるので、荷台を一定の高さで水平状態とすることができ、フォークリフト等を用い、荷台上に板状の運搬物を載置して積み込みを行いやすい。また運搬物の吊り上げと並行して荷台を傾斜状態から水平状態に徐々に移行させることで、運搬物の荷降ろしも確実に行うことができる。結果、本発明の運搬台車により、板状の運搬物を建築現場等で容易に運搬できる。
【0009】
第1の発明の運搬台車は、前記台車に対して着脱可能な支柱をさらに有し、前記台車に取り付けた前記支柱によって、水平方向に配置された前記荷台が支持されることが望ましい。
これにより、荷台を水平状態で安定させることができる。
【0010】
また第1の発明の運搬台車は、前記運搬台車を吊り上げるための吊部を有することが望ましい。
これにより、運搬台車を上階等から揚重しての移動が可能になる。
(【0011】以降は省略されています)
この特許をJ-PlatPat(特許庁公式サイト)で参照する
関連特許
鹿島建設株式会社
壁体
1か月前
鹿島建設株式会社
端末
1か月前
鹿島建設株式会社
積層体
1か月前
鹿島建設株式会社
接合構造
1か月前
鹿島建設株式会社
定着構造
1か月前
鹿島建設株式会社
熱回収方法
21日前
鹿島建設株式会社
部材形成方法
1か月前
鹿島建設株式会社
空調システム
今日
鹿島建設株式会社
壁体の構築方法
1か月前
鹿島建設株式会社
トンネル掘削機
24日前
鹿島建設株式会社
柱建て込み方法
7日前
鹿島建設株式会社
土壌の浄化方法
1か月前
鹿島建設株式会社
形状検出システム
1か月前
鹿島建設株式会社
高度測位システム
27日前
鹿島建設株式会社
シール部材診断方法
1か月前
鹿島建設株式会社
計測装置及び計測方法
24日前
鹿島建設株式会社
グラウチングシステム
14日前
鹿島建設株式会社
グラウチングシステム
14日前
鹿島建設株式会社
計測装置及び計測方法
1か月前
鹿島建設株式会社
接続方法および接続構造
13日前
鹿島建設株式会社
ワイヤレス給電システム
3日前
鹿島建設株式会社
運搬台車および運搬方法
3日前
鹿島建設株式会社
壁体の構築方法および壁体
1か月前
鹿島建設株式会社
グレーチング用ドアストッパ
1か月前
鹿島建設株式会社
植栽設置部付きベランダ構造
1か月前
鹿島建設株式会社
水処理システムおよび水処理方法
13日前
鹿島建設株式会社
環境制御システム及び環境制御方法
1か月前
鹿島建設株式会社
型枠固定機構および壁体の構築方法
1か月前
鹿島建設株式会社
帯水層蓄熱システム及び帯水層蓄熱方法
1か月前
鹿島建設株式会社
支保工の支持構造およびスラブの構築方法
1か月前
鹿島建設株式会社
鉱物含有量測定方法及び鉱物含有量測定装置
13日前
鹿島建設株式会社
測定装置、測定方法及び測定装置の校正方法
1か月前
鹿島建設株式会社
施工工程設定方法及び施工工程設定プログラム
1か月前
鹿島建設株式会社
仮設部材割付方法及び仮設部材割付プログラム
1か月前
鹿島建設株式会社
作業効率化支援方法及び作業効率化支援プログラム
1か月前
鹿島建設株式会社
洗掘防止部材設置システム、洗掘防止部材設置方法
1か月前
続きを見る
他の特許を見る