TOP
|
特許
|
意匠
|
商標
特許ウォッチ
Twitter
他の特許を見る
公開番号
2025122256
公報種別
公開特許公報(A)
公開日
2025-08-21
出願番号
2024017543
出願日
2024-02-08
発明の名称
グレーチング用ドアストッパ
出願人
鹿島建設株式会社
代理人
個人
主分類
E05C
17/54 20060101AFI20250814BHJP(錠;鍵;窓または戸の付属品;金庫)
要約
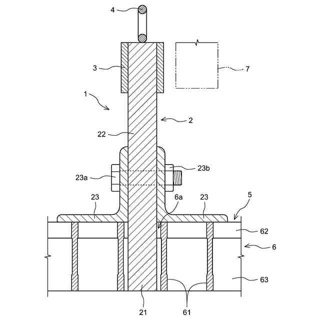
【課題】グレーチング床の上側を開閉するドアを開放状態に維持するために使用されるドアストッパを簡素な構造でありながら、グレーチング床に適した形態にする。
【解決手段】グレーチング床5を構成するグレーチング6の開口6a内に上方から挿入される挿入部21を有する本体部2の、挿入部21よりグレーチング床5上に位置する突出部22に、グレーチング床5の上面に下向きに係止する係止部23を一体化させる。特に挿入部21の少なくとも軸方向の一部を本体部2の厚さ方向と幅方向の少なくともいずれか一方に、開口6aの内周面に接触し得る形状にする。
【選択図】図1
特許請求の範囲
【請求項1】
グレーチング床の上を開閉するドアを開放状態に維持するためのストッパであり、
前記グレーチング床を構成するグレーチングの開口内に上方から挿入される挿入部を有する本体部と、この本体部の、前記挿入部より前記グレーチング床上に位置する突出部に一体化し、前記グレーチング床の上面に下向きに係止する係止部とを備えることを特徴とするグレーチング用ドアストッパ。
続きを表示(約 390 文字)
【請求項2】
前記挿入部の少なくとも軸方向の一部は前記本体部の厚さ方向と幅方向の少なくともいずれか一方に、前記開口の内周面に接触し得る形状をしていることを特徴とする請求項1に記載のグレーチング用ドアストッパ。
【請求項3】
前記係止部は前記突出部の厚さ方向両側、または幅方向両側に配置されていることを特徴とする請求項1に記載のグレーチング用ドアストッパ。
【請求項4】
前記突出部の、開放状態にあるときの前記ドアの側面が接触する部分に緩衝材が装着されていることを特徴とする請求項1乃至請求項3のいずれかに記載のグレーチング用ドアストッパ。
【請求項5】
前記突出部の、開放状態にあるときの前記ドアが接触しない部分に把手が装着されていることを特徴とする請求項1乃至請求項3のいずれかに記載のグレーチング用ドアストッパ。
発明の詳細な説明
【技術分野】
【0001】
本発明はグレーチング床の上側を開閉するドアを開放状態に維持する目的で使用されるグレーチング用ドアストッパに関するものである。
続きを表示(約 1,300 文字)
【背景技術】
【0002】
床面上に設置され、開閉時に床面上を通過する開き戸式のドアを開放状態に維持するドアストッパは開放したドアがドアクローザーの復元力に抗するように設置されるため、単純な構造では開放状態にあるドアの下面か閉鎖する側の側面に係止する形態を有する(特許文献1~3参照)。
【0003】
この種のドアストッパは主に、床面とドア下面との間に挟持されることでドアを開放状態に保つ楔形と(特許文献1、2)、床面に固定され、ドアの開放側の表面に接触し得る接触部と接触部に軸支され、ドアの開放時にドアの閉鎖側の背面に係止する係止部を有する形に大別される(特許文献3)。前者の例は単に床面上に置くだけの手軽さがあるが、後者の例は前者の例より部品数が多い。
【0004】
一方、床がグレーチングから構成されるグレーチング床である場合、グレーチングには水平二方向に開口が配列しているため、ストッパが開口を通じて落下しないことが必要であるが、楔形のドアストッパでは落下し易い。
【0005】
またグレーチングは開口を有しながらも、鉛直荷重に対する強度と曲げ剛性を確保するだけの厚さが必要であるが、床に固定される形のドアストッパではグレーチングの厚さに追従させるための追加の工夫が必要になる。
【0006】
グレーチングに特有の定着装置としては、グレーチングの上下にボルトとナット等の対になる部品を組み合わせる形態がある(特許文献4、5参照)。
【先行技術文献】
【特許文献】
【0007】
実開昭55-156158号マイクロフィルム(第1図、第2図)
特開2018-35523号公報(図1~図4)
特開2018-178585号公報(図1~図5)
特開平1-131310号公報(第1図~第4図)
特開2020-112009号公報(図1~図6)
【発明の概要】
【発明が解決しようとする課題】
【0008】
但し、特許文献4、5の例ではグレーチング上を通過するドアのストッパとして使用するにはドア用に改良が必要であり、改良したとしても、楔形のドアストッパのような形態上、並びに取り扱い上の手軽さはない。
【0009】
本発明は上記背景より、簡素な構造でありながら、グレーチング床に適した形態のドアストッパを提案するものである。
【課題を解決するための手段】
【0010】
請求項1に記載のグレーチング用ドアストッパは、グレーチング床の上を開閉するドアを開放状態に維持するためのストッパであり、
前記グレーチング床を構成するグレーチングの開口内に上方から挿入される挿入部を有する本体部と、この本体部の、前記挿入部より前記グレーチング床上に位置する突出部に一体化し、前記グレーチング床の上面に下向きに係止する係止部とを備えることを構成要件とする。
(【0011】以降は省略されています)
この特許をJ-PlatPat(特許庁公式サイト)で参照する
関連特許
鹿島建設株式会社
制震架構
1日前
鹿島建設株式会社
過重力施設
1日前
鹿島建設株式会社
空調システム
13日前
鹿島建設株式会社
シールド掘進機
6日前
鹿島建設株式会社
柱建て込み方法
20日前
鹿島建設株式会社
接続方法および接続構造
1日前
鹿島建設株式会社
ワイヤレス給電システム
16日前
鹿島建設株式会社
運搬台車および運搬方法
16日前
鹿島道路株式会社
コンクリート舗装の養生方法
7日前
鹿島道路株式会社
コンクリート舗装の養生方法
7日前
ケイミューシポレックス株式会社
軽量気泡コンクリートの製造方法
6日前
鹿島建設株式会社
生物生息場構造体、生物生息場構造、生物生息場構造体の引き上げ方法
16日前
Haloworld株式会社
マップ作成システム及び自動走行システム
8日前
個人
物品保管箱
2か月前
個人
防犯用ドア装置
2か月前
個人
ピンシリンダー錠。
3か月前
個人
二重ロック機能付小物入れ
2か月前
個人
顔認証による入室システム
3か月前
個人
ポスト機能付き手提げ金庫
1か月前
ミサワホーム株式会社
錠受具
3か月前
三協立山株式会社
開口部装置
1か月前
個人
無人貸金庫システム
19日前
株式会社アルファ
電気錠
2か月前
リョービ株式会社
ドアクローザ
2か月前
リョービ株式会社
ドアクローザ
2か月前
積水ハウス株式会社
引き戸
28日前
有限会社シティング
引き戸
26日前
株式会社榮伸
カバン蓋の係止装置
1か月前
株式会社ベスト
開き扉の開閉装置
1か月前
積水ハウス株式会社
引き戸
16日前
株式会社ベスト
扉及び個室
16日前
ミネベアショウワ株式会社
ドア装置
1か月前
美和ロック株式会社
IDキー
2か月前
ミネベアショウワ株式会社
ドア装置
1か月前
スズキ株式会社
車両用乗員保護装置
1か月前
コイト電工株式会社
蝶番の取付構造
5日前
続きを見る
他の特許を見る