TOP
|
特許
|
意匠
|
商標
特許ウォッチ
Twitter
他の特許を見る
公開番号
2025140543
公報種別
公開特許公報(A)
公開日
2025-09-29
出願番号
2024040009
出願日
2024-03-14
発明の名称
画像処理プログラム、情報処理装置、及び画像処理方法
出願人
ブラザー工業株式会社
代理人
名古屋国際弁理士法人
主分類
G06F
3/12 20060101AFI20250919BHJP(計算;計数)
要約
【課題】複数のラベル画像を印刷する際の利便性を向上させるのが望ましい。
【解決手段】画像処理プログラムは、情報処理装置の制御部に、生成処理と、編集処理と、連続印刷処理と、を実行させる。生成処理は、ラベルプリンタでの印刷に用いられるラベル画像を編集するためのシートを生成する。編集処理は、生成処理により生成された複数のシートのうちのいずれかを選択し、選択されたシートに対応するラベル画像を表示部に表示すると共に、表示されているラベル画像を編集する。連続印刷処理は、ラベルプリンタに、複数のシートに対応する複数のラベル画像を連続的に印刷させる。
【選択図】図4
特許請求の範囲
【請求項1】
表示部と、
入力部と、
ラベルプリンタと通信を行うよう構成された通信部と、
制御部と、
を備える情報処理装置における前記制御部が実行可能な画像処理プログラムであって、
前記画像処理プログラムは、前記制御部に、
前記入力部を介して受け付けた操作に従い、前記ラベルプリンタでの印刷に用いられるラベル画像を編集するためのシートを生成する生成処理と、
前記入力部を介して受け付けた操作に従い、前記生成処理により生成された複数の前記シートのうちのいずれかを選択し、選択された前記シートに対応する前記ラベル画像を前記表示部に表示すると共に、表示されている前記ラベル画像を編集する編集処理と、
前記通信部を介して前記ラベルプリンタと通信を行うことで、前記ラベルプリンタに、複数の前記シートに対応する複数の前記ラベル画像を連続的に印刷させる連続印刷処理と、
を実行させる画像処理プログラム。
続きを表示(約 1,300 文字)
【請求項2】
請求項1に記載の画像処理プログラムであって、
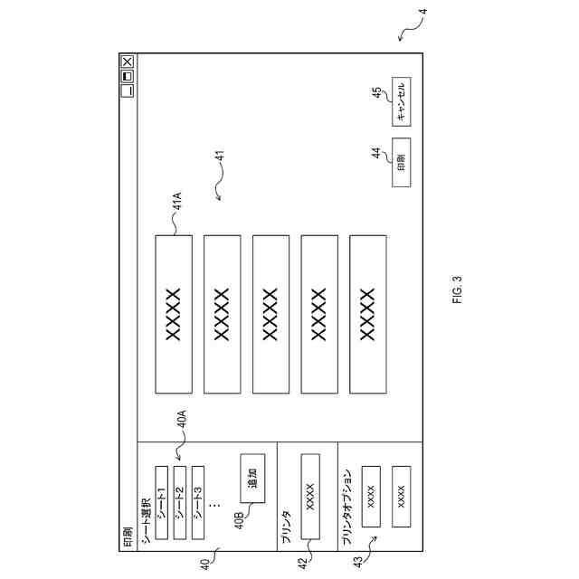
前記連続印刷処理にて印刷する前記ラベル画像に対応する前記シートの選択を受け付ける選択処理を、前記制御部にさらに実行させ、
前記連続印刷処理は、前記選択処理にて選択された前記シートを含む複数の前記シートに対応する前記ラベル画像を、前記ラベルプリンタに連続的に印刷させる
画像処理プログラム。
【請求項3】
請求項2に記載の画像処理プログラムであって、
前記連続印刷処理にて印刷される複数の前記シートに対応するそれぞれの前記ラベル画像を表示するよう構成されたプレビュー画面を、前記表示部に表示するプレビュー処理を、前記制御部にさらに実行させ、
前記プレビュー処理は、前記選択処理により新たな前記シートが選択されると、該シートに対応する前記ラベル画像が表示されるよう前記プレビュー画面を更新する
画像処理プログラム。
【請求項4】
請求項1から請求項3のうちのいずれか1項に記載の画像処理プログラムであって、
前記ラベル画像の印刷に用いられる前記ラベルプリンタを、該ラベル画像を編集する前記シートに対応して設定する設定処理と、
前記連続印刷処理の際、前記ラベルプリンタの制御が不可能であることにより前記ラベル画像の印刷が中断すると、前記ラベルプリンタを制御可能とすることを促す画像を前記表示部に表示する表示処理と、
を前記制御部にさらに実行させる画像処理プログラム。
【請求項5】
表示部と、
入力部と、
ラベルプリンタと通信を行うよう構成された通信部と、
制御部と、
を備える情報処理装置であって、
前記制御部は、
前記入力部を介して受け付けた操作に従い、前記ラベルプリンタでの印刷に用いられるラベル画像を編集するためのシートを生成する生成処理と、
前記入力部を介して受け付けた操作に従い、前記生成処理により生成された複数の前記シートのうちのいずれかを選択し、選択された前記シートに対応する前記ラベル画像を前記表示部に表示すると共に、表示されている前記ラベル画像を編集する編集処理と、
前記通信部を介して前記ラベルプリンタと通信を行うことで、前記ラベルプリンタに、複数の前記シートに対応する複数の前記ラベル画像を連続的に印刷させる連続印刷処理と、
を実行するよう構成される情報処理装置。
【請求項6】
ラベルプリンタと通信を行うよう構成された情報処理装置が実行可能な画像処理方法であって、
入力部を介して受け付けた操作に従い、前記ラベルプリンタでの印刷に用いられるラベル画像を編集するためのシートを生成することと、
前記入力部を介して受け付けた操作に従い、生成された複数の前記シートのうちのいずれかを選択し、選択された前記シートに対応する前記ラベル画像を表示部に表示すると共に、表示されている前記ラベル画像を編集することと、
前記ラベルプリンタと通信を行うことで、前記ラベルプリンタに、複数の前記シートに対応する複数の前記ラベル画像を連続的に印刷させることと、
を備える画像処理方法。
発明の詳細な説明
【技術分野】
【0001】
本開示は、ラベルプリンタで印刷を行う技術に関する。
続きを表示(約 1,600 文字)
【背景技術】
【0002】
特許文献1に記載されているように、ラベルプリンタにより被印字テープに印刷するラベル画像を、PC等の操作端末で編集する技術が知られている。特許文献1の操作端末には、ラベル画像を編集するためのアプリケーションがインストールされており、該アプリケーションにより表示される編集表示画面を介してラベル画像が編集される。
【先行技術文献】
【特許文献】
【0003】
特開2019-51657号公報
【発明の概要】
【発明が解決しようとする課題】
【0004】
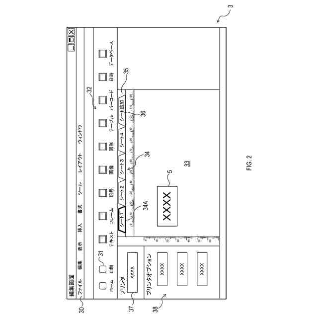
さらに、この種のアプリケーションにおいて、編集表示画面上に、異なるラベル画像を編集するための複数のシートを設ける機能を有するものが知られている。該アプリケーションは、ユーザからの操作に応じて複数のシートを生成可能であり、複数のシートのうち、ユーザから選択されたシートに対応するラベル画像を表示すると共に、該ラベル画像を編集する。
【0005】
このようなアプリケーションによれば、複数のシートに対応する複数のラベル画像を並行して編集できるため、作業効率が向上すると共に、これらのラベル画像の一覧性が向上する。しかし、該アプリケーションでは、編集中のシートのラベル画像しか印刷できない。このため、複数のシートで作成された各ラベル画像を印刷する際には、編集対象としてシートを選択する操作と、選択中のシートのラベル画像の印刷を指示する操作とを交互に行う必要があるため、操作の手数が多くなり、不便であった。
【0006】
本開示の一局面は、複数のラベル画像を印刷する際の利便性を向上させるのが望ましい。
【課題を解決するための手段】
【0007】
本開示の一態様は、表示部と、入力部と、ラベルプリンタと通信を行うよう構成された通信部と、制御部と、を備える情報処理装置における制御部が実行可能な画像処理プログラムである。画像処理プログラムは、制御部に、生成処理と、編集処理と、連続印刷処理と、を実行させる。生成処理は、入力部を介して受け付けた操作に従い、ラベルプリンタでの印刷に用いられるラベル画像を編集するためのシートを生成する。編集処理は、入力部を介して受け付けた操作に従い、生成処理により生成された複数のシートのうちのいずれかを選択し、選択されたシートに対応するラベル画像を表示部に表示すると共に、表示されているラベル画像を編集する。連続印刷処理は、通信部を介してラベルプリンタと通信を行うことで、ラベルプリンタに、複数のシートに対応する複数のラベル画像を連続的に印刷させる。
【0008】
上記構成によれば、連続印刷処理が一旦開始されると、シートを選択する操作や、選択したシートに対応するラベル画像の印刷を指示する操作を行うこと無く、複数のシートに対応する複数のラベル画像が連続的に印刷され得る。このため、複数のラベル画像を印刷する際の利便性が向上する。
【0009】
また、本開示の別の態様は、上記プログラムにより動作するコンピュータに相当する装置や、上記プログラムにより実現される方法である。このような態様によれば、複数のラベル画像を印刷する際の利便性が向上する。
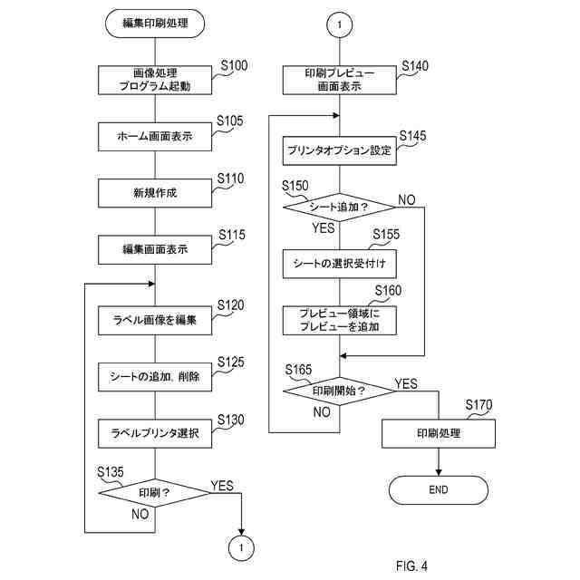
【図面の簡単な説明】
【0010】
情報処理装置及びラベルプリンタのブロック図である。
編集画面の説明図である。
印刷プレビュー画面の説明図である。
画像処理プログラムにより行われる編集印刷処理のフローチャートである。
画像処理プログラムにより行われる印刷処理のフローチャートである。
【発明を実施するための形態】
(【0011】以降は省略されています)
この特許をJ-PlatPat(特許庁公式サイト)で参照する
関連特許
ブラザー工業株式会社
空調機
12日前
ブラザー工業株式会社
複合機
22日前
ブラザー工業株式会社
空調機
12日前
ブラザー工業株式会社
空調機
12日前
ブラザー工業株式会社
空調機
12日前
ブラザー工業株式会社
空調機
12日前
ブラザー工業株式会社
カセット
12日前
ブラザー工業株式会社
カセット
12日前
ブラザー工業株式会社
カセット
12日前
ブラザー工業株式会社
制御装置
2日前
ブラザー工業株式会社
カセット
12日前
ブラザー工業株式会社
定着装置
14日前
ブラザー工業株式会社
工作機械
21日前
ブラザー工業株式会社
定着装置
21日前
ブラザー工業株式会社
定着装置
21日前
ブラザー工業株式会社
定着装置
21日前
ブラザー工業株式会社
搬送装置
今日
ブラザー工業株式会社
画像形成装置
22日前
ブラザー工業株式会社
画像形成装置
12日前
ブラザー工業株式会社
画像形成装置
12日前
ブラザー工業株式会社
画像形成装置
12日前
ブラザー工業株式会社
画像形成装置
21日前
ブラザー工業株式会社
画像形成装置
22日前
ブラザー工業株式会社
画像形成装置
22日前
ブラザー工業株式会社
画像形成装置
20日前
ブラザー工業株式会社
画像形成装置
21日前
ブラザー工業株式会社
画像形成装置
14日前
ブラザー工業株式会社
液体吐出装置
6日前
ブラザー工業株式会社
液体吐出装置
6日前
ブラザー工業株式会社
画像形成装置
22日前
ブラザー工業株式会社
画像形成装置
2日前
ブラザー工業株式会社
画像形成装置
6日前
ブラザー工業株式会社
シート搬送装置
21日前
ブラザー工業株式会社
液体吐出ヘッド
2日前
ブラザー工業株式会社
液体吐出ヘッド
14日前
ブラザー工業株式会社
液体吐出ヘッド
13日前
続きを見る
他の特許を見る