TOP
|
特許
|
意匠
|
商標
特許ウォッチ
Twitter
他の特許を見る
公開番号
2025140261
公報種別
公開特許公報(A)
公開日
2025-09-29
出願番号
2024039541
出願日
2024-03-14
発明の名称
印刷装置及び印刷装置の制御方法
出願人
株式会社FUJI
代理人
弁理士法人アイテック国際特許事務所
主分類
B29C
64/336 20170101AFI20250919BHJP(プラスチックの加工;可塑状態の物質の加工一般)
要約
【課題】複数種の液状物を塗布する複数のディスペンサにおいて、液状物をより適切に塗布する。
【解決手段】印刷装置は、第1の液状物を対象物に塗布する第1のディスペンサと第2の液状物を対象物に塗布する第2のディスペンサとを少なくとも含む複数のディスペンサを有し、退避位置と塗布位置との間で移動可能な塗布ヘッドと、第1の液状物に応じた第1の時間の経過に基づいて第1のディスペンサに対して清掃処理を実行し、第2の液状物に応じた第2の時間の経過に基づいて第2のディスペンサに対して清掃処理を実行し、塗布ヘッドが退避位置にあるときには清掃処理を実行せず、塗布ヘッドが退避位置から移動したときには時間経過したディスペンサに対して清掃処理を実行する制御部と、を備える。
【選択図】図1
特許請求の範囲
【請求項1】
第1の液状物を対象物に塗布する第1のディスペンサと第2の液状物を対象物に塗布する第2のディスペンサとを少なくとも含む複数のディスペンサを有し、退避位置と塗布位置との間で移動可能な塗布ヘッドと、
前記第1の液状物に応じた第1の時間の経過に基づいて前記第1のディスペンサに対して清掃処理を実行し、前記第2の液状物に応じた第2の時間の経過に基づいて前記第2のディスペンサに対して清掃処理を実行し、前記塗布ヘッドが前記退避位置にあるときには前記清掃処理を実行せず、前記塗布ヘッドが退避位置から移動したときには時間経過したディスペンサに対して前記清掃処理を実行する制御部と、
を備えた印刷装置。
続きを表示(約 1,600 文字)
【請求項2】
前記塗布ヘッドは、液状物を塗布する以外の作業を実行する作業部を更に有し、前記退避位置と前記塗布位置との間で移動可能であり、
前記制御部は、前記ディスペンサの塗布を実行しない場合においても、前記作業部の作業時に、時間経過した前記ディスペンサに対して前記清掃処理を実行する、請求項1に記載の印刷装置。
【請求項3】
前記制御部は、前記作業部の作業中に時間経過するディスペンサがあるときには、該作業前に該ディスペンサに対して前記清掃処理を実行する、請求項2に記載の印刷装置。
【請求項4】
前記第1の液状物と前記第2の液状物とは粘性が異なり、
前記制御部は、前記第1の時間及び前記第2の時間がそれぞれ前記液状物の粘性が低い程短い傾向で且つ前記ディスペンサの吐出口のサイズが大きい程短い傾向で、前記第1の時間の経過に基づいて前記第1のディスペンサに対して前記清掃処理を実行し、前記第2の時間の経過に基づいて前記第2のディスペンサに対して前記清掃処理を実行する、請求項1又は2に記載の印刷装置。
【請求項5】
請求項1又は2に記載の印刷装置であって、
前記第1及び第2のディスペンサを含む複数のディスペンサに接続され該複数のディスペンサへの圧力供給を実行する圧力調整部、を備え、
前記制御部は、前記ディスペンサの待機中には該ディスペンサ内が大気圧になるよう前記圧力調整部を制御する、印刷装置。
【請求項6】
請求項1に記載の印刷装置であって、
前記印刷装置は、流体を吐出して造形物を造形する3次元造形装置であり、
前記造形物を造形領域に載置するパレットを支持する支持部と、
前記造形領域上に前記造形物を構成する流体を吐出する第1吐出ヘッドを有する第1吐出ユニットと、
前記造形物上に回路を構成する流体を吐出する第2吐出ヘッドを有する第2吐出ユニットと、を備え、
前記塗布ヘッドは、前記造形物に対して前記液状物を塗布する、印刷装置。
【請求項7】
請求項6に記載の印刷装置であって、
前記支持部の近傍に配設され前記ディスペンサの清掃を行う清掃部と、
前記塗布ヘッドを退避位置と前記支持部によって支持されている前記パレットのある塗布位置との間で移動させる塗布移動部と、を備え、
前記制御部は、前記塗布ヘッドが前記塗布位置近傍にあるときに前記清掃部で前記清掃処理を実行する、印刷装置。
【請求項8】
前記塗布ヘッドは、液状物を塗布する以外の作業を実行する作業部を更に有し、
前記作業部には、前記パレット側を撮像する撮像部、前記造形物の高さを検出する検出部及び前記パレットを印刷通路外の領域へ移動させる搬送部のうち1以上を含み、
前記制御部は、前記ディスペンサの塗布を実行しない場合においても、前記作業部の作業時に、時間経過した前記ディスペンサに対して前記清掃処理を実行する、請求項6又は7に記載の印刷装置。
【請求項9】
第1の液状物を対象物に塗布する第1のディスペンサと第2の液状物を対象物に塗布する第2のディスペンサとを少なくとも含む複数のディスペンサを有し、退避位置と塗布位置との間で移動可能な塗布ヘッドを備えコンピュータが実行する印刷装置の制御方法であって、
前記第1の液状物に応じた第1の時間の経過に基づいて前記第1のディスペンサに対して清掃処理を実行し、前記第2の液状物に応じた第2の時間の経過に基づいて前記第2のディスペンサに対して清掃処理を実行し、前記塗布ヘッドが前記退避位置にあるときには前記清掃処理を実行せず、前記塗布ヘッドが退避位置から移動したときには時間経過したディスペンサに対して前記清掃処理を実行するステップ、
を含む印刷装置の制御方法。
発明の詳細な説明
【技術分野】
【0001】
本明細書は、印刷装置及び印刷装置の制御方法を開示する。
続きを表示(約 1,900 文字)
【背景技術】
【0002】
従来、印刷装置としては、電子部品の下面にペーストを塗布する際の塗布量の調整、塗布位置の修正のための試し塗布を、部品供給部の共通のフィーダベースに装着された計測用部材フィーダから取り出したダミーワークとしての計測用部材を対象として行い、試し塗布後の計測用部材を認識部によって認識し、認識結果に基づいて塗布量の調整、塗布位置の修正を行うものが提案されている(例えば、特許文献1参照)。この装置では、実際の電子部品を試し塗布に使用する従来技術と比較して、使用した後に廃棄される電子部品の無駄を排除するとともに、塗布量や塗布位置の微細な調整が可能となる、としている。
【先行技術文献】
【特許文献】
【0003】
特開2016-82084号公報
【発明の概要】
【発明が解決しようとする課題】
【0004】
しかしながら、この特許文献1に記載された印刷装置では、ペーストを塗布するノズルの清掃を行うが、複数種のペーストの塗布は考慮されていなかった。このように、印刷装置では、複数種の液状物を適切に塗布することが求められていた。
【0005】
本開示は、このような課題に鑑みなされたものであり、複数種の液状物を塗布する複数のディスペンサにおいて、液状物をより適切に塗布することができる印刷装置及び印刷装置の制御方法を提供することを主目的とする。
【課題を解決するための手段】
【0006】
本開示は、上述の主目的を達成するために以下の手段を採った。
【0007】
本開示の印刷装置は、
第1の液状物を対象物に塗布する第1のディスペンサと第2の液状物を対象物に塗布する第2のディスペンサとを少なくとも含む複数のディスペンサを有し、退避位置と塗布位置との間で移動可能な塗布ヘッドと、
前記第1の液状物に応じた第1の時間の経過に基づいて前記第1のディスペンサに対して清掃処理を実行し、前記第2の液状物に応じた第2の時間の経過に基づいて前記第2のディスペンサに対して清掃処理を実行し、前記塗布ヘッドが前記退避位置にあるときには前記清掃処理を実行せず、前記塗布ヘッドが退避位置から移動したときには時間経過したディスペンサに対して前記清掃処理を実行する制御部と、
を備えたものである。
【0008】
この印刷装置では、第1の液状物や第2の液状物を塗布するディスペンサにおいて、塗布ヘッドが退避位置にあるときには不要な移動や清掃処理をより抑制し、塗布ヘッドが退避位置から移動する際には必要に応じて清掃処理を実行する。このため、この印刷装置では、より適切な清掃処理を実行することができ、複数種の液状物を塗布する複数のディスペンサにおいて、液状物をより適切に塗布することができる。
【図面の簡単な説明】
【0009】
印刷システム10の一例を示す概略説明図。
前方から見た印刷装置11の構造の一例を示す概略説明図。
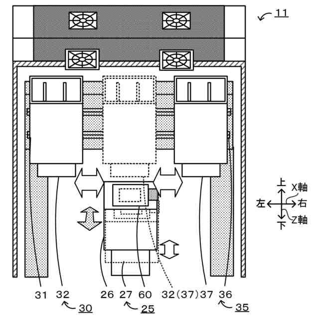
各吐出ユニット及び移動ユニット25の概略の一例を示す説明図。
支持部26及びパレット60の概略の一例を示す説明図。
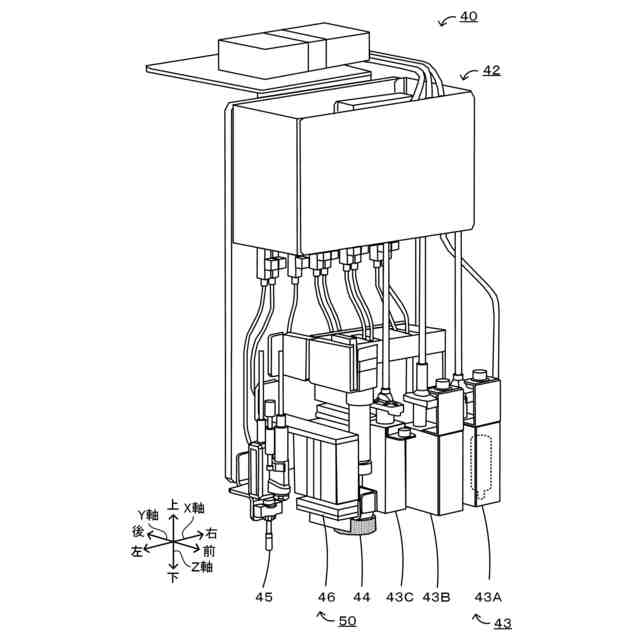
ディスペンサユニット40の概略の一例を示す説明図。
塗布駆動ユニット70の構成の一例を示す説明図。
造形物生産処理ルーチンの一例を示すフローチャート。
造形処理の概要の一例を示す説明図。
塗布ヘッド処理ルーチンの一例を示すフローチャート。
ディスペンサ43の清掃タイミングの一例の説明図。
【発明を実施するための形態】
【0010】
本実施形態を、図面を参照しながら以下に説明する。図1は、本開示の一例である印刷システム10の一例を示す概略説明図である。図2は、前方から見た印刷装置11の構造の一例を示す概略説明図である。図3は、第1吐出ユニット30、第2吐出ユニット35及び移動ユニット25の概略の一例を示す説明図である。図4は、支持部26及びパレット60の概略の一例を示す説明図である。図5は、ディスペンサユニット40の概略の一例を示す説明図である。図6は、塗布駆動ユニット70の構成の一例を示す説明図である。なお、本実施形態において、左右方向(X軸)、前後方向(Y軸)及び上下方向(Z軸)は、図1~5に示した通りとする。
(【0011】以降は省略されています)
この特許をJ-PlatPat(特許庁公式サイト)で参照する
関連特許
株式会社FUJI
制御盤
5日前
株式会社FUJI
工作機械
1日前
株式会社FUJI
対基板作業機
15日前
株式会社FUJI
測定値処理装置
5日前
株式会社FUJI
テープフィーダ
1か月前
株式会社FUJI
ストッカシステム
24日前
株式会社FUJI
フィーダ制御装置
5日前
株式会社FUJI
最適化装置および最適化方法
1か月前
株式会社FUJI
廃テープ搬送装置および実装装置
2か月前
株式会社FUJI
部品実装機及びテープ回収方法。
25日前
株式会社FUJI
印刷装置及び印刷装置の制御方法
5日前
株式会社FUJI
テープ剥離装置およびテープフィーダ
5日前
株式会社FUJI
交換装置
23日前
株式会社FUJI
作業装置
1か月前
株式会社FUJI
モータ制御装置、装着ヘッド及びモータ制御装置の制御方法
1か月前
株式会社FUJI
異物除去方法
1か月前
株式会社FUJI
実装システム
17日前
株式会社FUJI
印刷システム
2か月前
株式会社FUJI
部品実装機、部品実装機のためのコンピュータプログラム及び部品実装機の制御方法
29日前
株式会社FUJI
実装方法及び印刷関連部材交換方法
1か月前
株式会社FUJI
部品装着システムおよび情報管理方法
1か月前
個人
気泡緩衝材減容装置
10日前
東レ株式会社
吹出しノズル
10か月前
豊田鉄工株式会社
金型
2か月前
シーメット株式会社
光造形装置
9か月前
CKD株式会社
型用台車
9か月前
個人
射出ミキシングノズル
11か月前
東レ株式会社
フィルムの製造方法
3か月前
東レ株式会社
フィルムの製造方法
6か月前
東レ株式会社
フィルムの製造方法
2か月前
グンゼ株式会社
ピン
9か月前
株式会社日本製鋼所
押出機
12か月前
個人
樹脂可塑化方法及び装置
8か月前
日機装株式会社
加圧システム
5か月前
株式会社FTS
ロッド
8か月前
東レ株式会社
フィルムの製造方法。
2か月前
続きを見る
他の特許を見る