TOP
|
特許
|
意匠
|
商標
特許ウォッチ
Twitter
他の特許を見る
公開番号
2025144633
公報種別
公開特許公報(A)
公開日
2025-10-03
出願番号
2024044376
出願日
2024-03-21
発明の名称
工作機械
出願人
株式会社FUJI
代理人
個人
主分類
B23Q
11/12 20060101AFI20250926BHJP(工作機械;他に分類されない金属加工)
要約
【課題】スライド部材に対する給油間隔の設定の自由度を高めることが可能な工作機械を提供する。
【解決手段】工作機械は、ワークを加工する加工装置と、把持されたワークを搬送する搬送装置をスライド部材によりスライド可能に保持するワーク自動搬送機と、予め定められた給油間隔で、スライド部材に潤滑油を供給する給油装置と、操作を受け付け可能な操作表示装置と、制御装置と、を有している。制御装置は、操作表示装置で受付けた操作に応じて、給油装置によるスライド部材に対する給油間隔を設定する給油間隔設定部を有する。
【選択図】図2
特許請求の範囲
【請求項1】
ワークを加工する加工装置と、
把持されたワークを搬送する搬送装置をスライド部材によりスライド可能に保持するワーク自動搬送機と、
予め定められた給油間隔で、前記スライド部材に潤滑油を供給する給油装置と、
操作を受け付け可能な操作表示装置と、
制御装置と、を有し、
前記制御装置は、
前記操作表示装置で受付けた操作に応じて、前記給油装置による前記スライド部材に対する給油間隔を設定する給油間隔設定部を有する工作機械。
続きを表示(約 750 文字)
【請求項2】
前記給油間隔設定部は、
前記操作表示装置に、前記給油間隔を示す入力値の入力を受け付ける給油間隔設定画面を表示させ、
前記給油間隔設定画面で入力された入力値を前記給油間隔として設定する、請求項1に記載の工作機械。
【請求項3】
前記制御装置は、
前記搬送装置の使用状況を記憶する使用状況記憶部を有し、
前記給油間隔設定部は、
前記使用状況記憶部により記憶された前記搬送装置の使用状況に応じて、前記給油間隔の推奨値を算出し、算出された前記推奨値を前記操作表示装置に表示させる、請求項2に記載の工作機械。
【請求項4】
前記使用状況記憶部は、
前記搬送装置の使用状況として、前記搬送装置が所定期間で前記スライド部材を介して移動した移動距離の積算値を記憶し、
前記給油間隔設定部は、
記憶された前記移動距離の積算値に応じて、前記給油間隔の推奨値を算出する、請求項3に記載の工作機械。
【請求項5】
前記使用状況記憶部は、
前記搬送装置の使用状況として、所定期間での前記搬送装置の使用回数を記憶し、
前記給油間隔設定部は、
記憶された前記搬送装置の使用回数に応じて、前記給油間隔の推奨値を算出する、請求項3に記載の工作機械。
【請求項6】
前記給油間隔設定部は、
前記給油間隔設定画面に、前記給油間隔を示す入力値の入力を受け付ける第1アイコンと、前記給油間隔の推奨値を表示させるための第2アイコンとを表示させ、
前記第2アイコンが操作されると、前記給油間隔の推奨値を前記操作表示装置に表示させる、請求項3に記載の工作機械。
発明の詳細な説明
【技術分野】
【0001】
本発明は、潤滑油を給油可能な給油装置を有する工作機械に関する。
続きを表示(約 1,700 文字)
【背景技術】
【0002】
特許文献1には、ワークを機内や機外に搬送するためのワーク自動搬送機を有する工作機械が記載されている。ワーク自動搬送機は、搬送装置をスライド部材に沿って移動させることで、機内や機外へのワークの搬送を行う。
【先行技術文献】
【特許文献】
【0003】
2024-29974号公報
【発明の概要】
【発明が解決しようとする課題】
【0004】
工作機械では、ワーク自動搬送機の劣化を抑制するために給油装置から所定の給油間隔で給油が行われる。しかし、給油間隔が一定だと、例えば、急な生産計画の変更に伴うワーク自動搬送機の使用の増加や、潤滑油の性能のばらつき等に対応させて、給油間隔を柔軟に変更させることができず、機械の劣化を早めるおそれがある。
【0005】
そこで、本発明は、かかる課題を解決すべく、ワーク自動搬送機に対する給油間隔の設定の自由度を高めることが可能な工作機械を提供することを目的とする。
【課題を解決するための手段】
【0006】
上記課題を解決するため、本発明に係る工作機械は、ワークを加工する加工装置と、把持されたワークを搬送する搬送装置をスライド部材によりスライド可能に保持するワーク自動搬送機と、予め定められた給油間隔で、スライド部材に潤滑油を供給する給油装置と、操作を受け付け可能な操作表示装置と、制御装置と、を有し、制御装置は、操作表示装置で受付けた操作に応じて、給油装置によるスライド部材に対する給油間隔を設定する給油間隔設定部を有する。
【発明の効果】
【0007】
本発明に係る工作機械によれば、操作表示装置で受付けた操作に応じて、給油装置によるスライド部材への給油間隔が設定される。これにより、ユーザは、スライド部材に対する給油間隔を独自に設定することができ、スライド部材に対する給油間隔の設定の自由度を高めることができる。
【図面の簡単な説明】
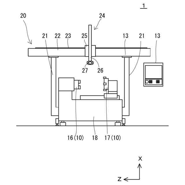
【0008】
工作機械の構成を説明する図である。
工作機械のブロック図である。
給油装置の給油間隔を変更する場合の処理を説明するフローチャートである。
間隔入力画面を説明する図である。
推奨値設定画面を説明する図である。
制御装置が実行する処理を説明するフローチャートである。
【発明を実施するための形態】
【0009】
(第1の実施形態)
本実施形態に係る工作機械1について、図面を参照しながら説明する。図1は、本実施形態に係る工作機械1を説明する図である。なお、図1では、説明の便宜のため、機体カバーを図示していない。工作機械1は、タレット型の旋盤であり、図1、図2に示すように、加工機10、制御装置11、ガントリーローダ20、操作表示装置13、給油装置14を主に備えている。
【0010】
加工機10は、主軸装置16とタレット装置17とを有している。主軸装置16は、その主軸の中心方向がベッド18の長手方向である機体幅方向となるよう構成されている。なお、主軸に平行な機体幅方向をZ軸とし、そのZ軸に直交する上下方向をX軸とする。主軸装置16にはワークを把持する主軸チャックが回転可能に設けられ、スピンドルモータの駆動によって主軸チャックに把持されたワークに回転が与えられるようになっている。タレット装置17は、刃物台に複数の工具が取り付けられ、加工内容に応じた旋回割出しによって特定の工具が選択できるようになっている。タレット装置17は、ベッド18に対して、X軸方向及びZ軸方向のそれぞれに摺動可能な装置に取り付けられている。タレット装置17は、加工時において、旋回割り出しされた工具をX軸方向、又はZ軸方向に移動させて、主軸チャックにより把持されたワークを工具により加工することが可能になっている。
(【0011】以降は省略されています)
この特許をJ-PlatPat(特許庁公式サイト)で参照する
関連特許
株式会社FUJI
制御盤
6日前
株式会社FUJI
工作機械
2日前
株式会社FUJI
対基板作業機
16日前
株式会社FUJI
テープフィーダ
1か月前
株式会社FUJI
測定値処理装置
6日前
株式会社FUJI
ストッカシステム
25日前
株式会社FUJI
フィーダ制御装置
6日前
株式会社FUJI
最適化装置および最適化方法
2か月前
株式会社FUJI
部品実装機及びテープ回収方法。
26日前
株式会社FUJI
廃テープ搬送装置および実装装置
2か月前
株式会社FUJI
印刷装置及び印刷装置の制御方法
6日前
株式会社FUJI
テープ剥離装置およびテープフィーダ
6日前
株式会社FUJI
交換装置
24日前
株式会社FUJI
作業装置
1か月前
株式会社FUJI
モータ制御装置、装着ヘッド及びモータ制御装置の制御方法
1か月前
株式会社FUJI
実装システム
18日前
株式会社FUJI
異物除去方法
1か月前
株式会社FUJI
部品実装機、部品実装機のためのコンピュータプログラム及び部品実装機の制御方法
1か月前
株式会社FUJI
実装方法及び印刷関連部材交換方法
1か月前
株式会社FUJI
部品装着システムおよび情報管理方法
1か月前
個人
タップ
5か月前
個人
フライス盤
25日前
個人
加工機
4か月前
麗豊実業股フン有限公司
ラクトバチルス・パラカセイNB23菌株及びそれを筋肉量の増加や抗メタボリック症候群に用いる用途
4か月前
株式会社不二越
ドリル
4か月前
日東精工株式会社
ねじ締め機
5か月前
株式会社北川鉄工所
回転装置
3か月前
日東精工株式会社
ねじ締め機
1か月前
日東精工株式会社
ねじ締め機
25日前
株式会社不二越
ドリル
5か月前
日東精工株式会社
ねじ締め機
4か月前
日東精工株式会社
ねじ締め装置
16日前
日東精工株式会社
ねじ締め装置
3か月前
株式会社ダイヘン
溶接電源装置
2か月前
株式会社ダイヘン
溶接電源装置
1か月前
株式会社ダイヘン
溶接電源装置
2か月前
続きを見る
他の特許を見る