TOP
|
特許
|
意匠
|
商標
特許ウォッチ
Twitter
他の特許を見る
公開番号
2025140561
公報種別
公開特許公報(A)
公開日
2025-09-29
出願番号
2024040033
出願日
2024-03-14
発明の名称
監視装置
出願人
株式会社豊田自動織機
代理人
弁理士法人ぱてな
主分類
B66F
9/24 20060101AFI20250919BHJP(巻上装置;揚重装置;牽引装置)
要約
【課題】運搬車両の監視能力に優れた監視装置を提供する。
【解決手段】本発明の監視装置1は、運搬車両3の監視を行う。運搬車両3は荷役装置3bを有している。監視装置1は、状態検出部11と、運動計測部12と、判断部15とを備えている。状態検出部11は、運搬車両3が静止状態にあるか否かを検出する。運動計測部12は、荷役装置3bの運動変化を計測する。判断部15は、状態検出部11及び運動計測部12と情報伝達可能に接続されている。判断部15は、運動計測部12が計測した運動変化が閾値を超えているか否かの判断を行う。そして、判断部15は、状態検出部11が静止状態を検出した場合において、運動計測部12が計測した運動変化が閾値を超えていると判断すれば、要注意状態であると判断する。
【選択図】図1
特許請求の範囲
【請求項1】
運搬車両の監視を行う監視装置であって、
前記運搬車両は、運搬物を前記運搬車両の高さ方向に運搬可能な荷役装置を有し、
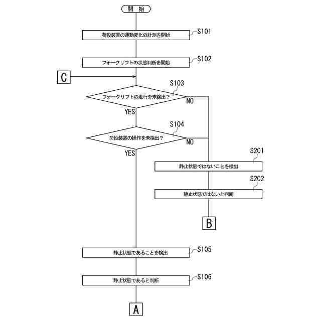
前記監視装置は、前記運搬車両に設けられて前記運搬車両が静止状態にあるか否かを検出する状態検出部と、
前記荷役装置に設けられ、前記荷役装置の運動変化を計測する運動計測部と、
前記状態検出部及び前記運動計測部と情報伝達可能に接続されるとともに、前記運動計測部が計測した前記運動変化が予め設定された閾値を超えているか否かの判断を行う判断部とを備え、
前記判断部は、前記状態検出部が前記静止状態を検出した場合において、前記運動計測部が計測した前記運動変化が前記閾値を超えていると判断すれば、前記荷役装置又は前記荷役装置の近傍に人間が存在する要注意状態であると判断することを特徴とする監視装置。
続きを表示(約 560 文字)
【請求項2】
前記状態検出部は、前記運搬車両の走行を検出する第1検出部と、
前記荷役装置に対する操作を検出する第2検出部とを有し、
前記状態検出部は、前記第1検出部が前記運搬車両の走行を未検出であり、かつ、前記第2検出部が前記荷役装置の操作を未検出であれば、前記運搬車両が前記静止状態にあることを検出する請求項1記載の監視装置。
【請求項3】
前記判断部が前記要注意状態であると判断することにより、少なくとも前記荷役装置又は前記荷役装置の近傍に存在する前記人間に対して警告を行う警告部を備えている請求項1又は2記載の監視装置。
【請求項4】
前記静止状態における前記運動変化の基準値を記憶する記憶部を備え、
前記判断部は、前記運動計測部が計測した前記運動変化と、前記基準値との比較に基づいて前記運動変化が前記閾値を超えているか否かを判断する請求項1又は2記載の監視装置。
【請求項5】
前記運搬車両はフォークリフトであり、
前記荷役装置は、前記フォークリフトの前記高さ方向に延びるマストと、前記運搬物を載置可能なフォークと、前記フォークを前記マストに沿って前記高さ方向に移動させる機構部とを有している請求項1又は2記載の監視装置。
発明の詳細な説明
【技術分野】
【0001】
本発明は監視装置に関する。
続きを表示(約 1,900 文字)
【背景技術】
【0002】
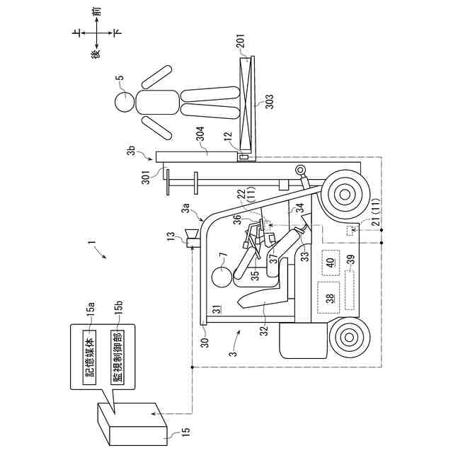
特許文献1に従来の監視装置が開示されている。この監視装置は運搬車両に設けられている。運搬車両は荷役装置を有している。荷役装置は運搬物を運搬車両の高さ方向に運搬可能である。なお、同文献において運搬車両は、具体的には操縦者によって操縦されるフォークリフトである。また、荷役装置はマスト及びフォーク等によって構成されており、運搬車両の前部に配置されている。
【0003】
監視装置は、カメラと、制御部とを備えている。カメラは運搬車両の上方後部に取り付けられており、運搬車両の後方を撮影した撮影画像を取得する。制御部は運搬車両に取り付けられており、カメラと接続されている。
【0004】
この監視装置では、カメラによって取得された撮影画像から制御部が人間の人画像を抽出する。また、制御部は、人画像の骨格を仮想骨格として推定するとともに、抽出した人画像に仮想骨格を対応付ける。さらに、制御部は、仮想骨格の一部の長さを測定する。そして、制御部は、測定した仮想骨格の一部の長さが閾値を超えた場合には、運搬車両の後方に人間が接近していると判断する。こうして、この監視装置では運搬車両の監視を行う。また、この監視装置では、運搬車両の後方に人間が接近していると判断した場合、運搬車両の操縦者に対し、運搬車両の後方に人間が接近していることの報知を行う。
【先行技術文献】
【特許文献】
【0005】
特開2022-96845号公報
【発明の概要】
【発明が解決しようとする課題】
【0006】
しかし、上記従来の監視装置では、カメラが運搬車両の後方を撮影するため、運搬車両の前部に配置されている荷役装置と、その荷役装置の近傍とは撮影時におけるカメラの死角となる。これにより、この監視装置では、荷役装置上や荷役装置の近傍に人間が存在している場合であっても、その人間は、カメラによって取得された撮影画像には含まれず、結果として、制御部は、荷役装置上や荷役装置の近傍に人間が存在している判断することができない。これにより、この監視装置は運搬車両の監視を十分に行うことができない。
【0007】
そこで、例えば、荷役装置を構成しているフォークの先端にカメラを取り付けることにより、運搬車両の前方を撮影させることが考えられる。しかし、この場合であっても、カメラよりも後方でフォーク上に人間が存在する場合には、その人間を撮影することができない。これにより、この場合にも、監視装置は運搬車両の監視を十分に行うことができない。また、荷役装置を構成しているマストにカメラを取り付けることも考えられるものの、この場合には、荷役装置によって運搬される運搬物等によってカメラの視界が妨げられ易くなることから、やはり、監視装置は運搬車両の監視を十分に行うことができない。
【0008】
本発明は、上記従来の実情に鑑みてなされたものであって、運搬車両の監視能力に優れた監視装置を提供することを解決すべき課題としている。
【課題を解決するための手段】
【0009】
本発明の監視装置は、運搬車両の監視を行う監視装置であって、
前記運搬車両は、運搬物を前記運搬車両の高さ方向に運搬可能な荷役装置を有し、
前記監視装置は、前記運搬車両に設けられて前記運搬車両が静止状態にあるか否かを検出する状態検出部と、
前記荷役装置に設けられ、前記荷役装置の運動変化を計測する運動計測部と、
前記状態検出部及び前記運動計測部と情報伝達可能に接続されるとともに、前記運動計測部が計測した前記運動変化が予め設定された閾値を超えているか否かの判断を行う判断部とを備え、
前記判断部は、前記状態検出部が前記静止状態を検出した場合において、前記運動計測部が計測した前記運動変化が前記閾値を超えていると判断すれば、前記荷役装置又は前記荷役装置の近傍に人間が存在する要注意状態であると判断することを特徴とする。
【0010】
本発明の監視装置では、運搬車両に状態検出部が設けられており、この状態検出部は、運搬車両が静止状態にあるか否かを検出する。ここで、運搬車両が走行している場合は静止状態に含まれない。この一方、静止状態には、エンジンの停止等で運搬車両が完全に停止しており、荷役装置の操作が不可能な状態の他、アイドリング中である等、運搬車両が走行していないものの、荷役装置の操作が可能な状態が含まれる。
(【0011】以降は省略されています)
この特許をJ-PlatPat(特許庁公式サイト)で参照する
関連特許
株式会社豊田自動織機
車両
23日前
株式会社豊田自動織機
耐熱部材
21日前
株式会社豊田自動織機
冷却装置
3日前
株式会社豊田自動織機
産業車両
21日前
株式会社豊田自動織機
制御装置
6日前
株式会社豊田自動織機
流体機械
15日前
株式会社豊田自動織機
流体機械
15日前
株式会社豊田自動織機
監視装置
3日前
株式会社豊田自動織機
電動圧縮機
23日前
株式会社豊田自動織機
電動圧縮機
23日前
株式会社豊田自動織機
燃料噴射弁
7日前
株式会社豊田自動織機
電動圧縮機
23日前
株式会社豊田自動織機
車両用機器
3日前
株式会社豊田自動織機
電力変換装置
14日前
株式会社豊田自動織機
インバータ装置
3日前
株式会社豊田自動織機
インバータ装置
22日前
株式会社豊田自動織機
フォークリフト
14日前
株式会社豊田自動織機
走行制御システム
15日前
株式会社豊田自動織機
燃料電池ユニット
24日前
株式会社豊田自動織機
燃料電池システム
3日前
株式会社豊田自動織機
燃料電池システム
3日前
株式会社豊田自動織機
燃料電池システム
3日前
株式会社豊田自動織機
パレット検知装置
1日前
株式会社豊田自動織機
シートベルト装置
14日前
株式会社豊田自動織機
燃料電池モジュール
3日前
株式会社豊田自動織機
トランスモジュール
13日前
株式会社豊田自動織機
燃料電池モジュール
24日前
株式会社豊田自動織機
蓄電装置の製造方法
13日前
株式会社豊田自動織機
蓄電装置の製造方法
13日前
株式会社豊田自動織機
燃料電池モジュール
24日前
株式会社豊田自動織機
燃料電池モジュール
24日前
株式会社豊田自動織機
位置姿勢検知システム
15日前
株式会社豊田自動織機
支持装置及び支持部材
13日前
株式会社豊田自動織機
電動機、及び電動圧縮機
24日前
株式会社豊田自動織機
内燃機関の排気浄化システム
14日前
株式会社豊田自動織機
キャパシタモジュールユニット
13日前
続きを見る
他の特許を見る