TOP
|
特許
|
意匠
|
商標
特許ウォッチ
Twitter
他の特許を見る
公開番号
2025140359
公報種別
公開特許公報(A)
公開日
2025-09-29
出願番号
2024039710
出願日
2024-03-14
発明の名称
車両用機器
出願人
株式会社豊田自動織機
代理人
個人
,
個人
主分類
H02M
7/48 20070101AFI20250919BHJP(電力の発電,変換,配電)
要約
【課題】安全面を確実に確保しつつも、部品点数を削減することができるとともに車両用機器の小型化を図ること。
【解決手段】重なり部40が、第2カバー24の外面24aに重なっているため、重なり部40における第2カバー24の外面24aに対する重なり方向において、第2カバー24における第2開口部21から離間する方向への移動が重なり部40によって規制される。さらに、規制部45が、第2締結部材25における第2ハウジング14に対する締結が解除された状態で、重なり部40における第2カバー24の外面24aに対する重なり方向以外の方向への第2カバー24の移動を規制する。したがって、第2締結部材25における第2ハウジング14に対する締結が解除されたとしても、第1カバー22を第1ハウジング13から取り外さない限り、第2カバー24を第2ハウジング14から取り外すことができない。
【選択図】図5
特許請求の範囲
【請求項1】
モータと、
前記モータを駆動するインバータと、
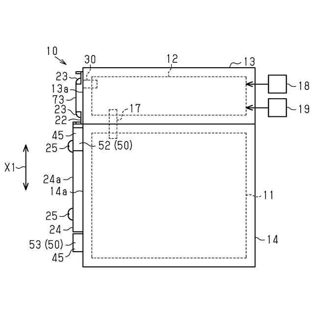
前記モータ及び前記インバータの一方を収容するとともに外部に開口する第1開口部を有する第1ハウジングと、
前記モータ及び前記インバータの他方を収容するとともに外部に開口する第2開口部を有する第2ハウジングと、
前記第1開口部を閉塞する第1カバーと、
前記第1カバーを前記第1ハウジングに対して脱着自在に締結する第1締結部材と、
前記第2開口部を閉塞する第2カバーと、
前記第2カバーを前記第2ハウジングに対して脱着自在に締結する第2締結部材と、
前記第1カバーにおける前記第1ハウジングに対する脱着状態に連動するインターロック機構と、を備え、
前記インターロック機構は、前記第1締結部材による前記第1ハウジングに対する前記第1カバーの締結が解除されて、前記第1カバーが前記第1ハウジングから取り外されることにより、前記インバータへの電力の供給を遮断する車両用機器であって、
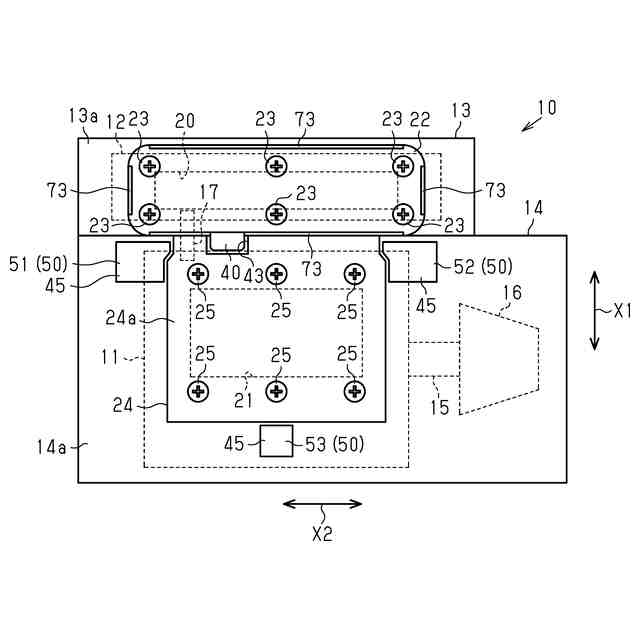
前記第1カバーに設けられるとともに前記第2カバーの外面に重なる重なり部と、
前記第2締結部材における前記第2ハウジングに対する締結が解除された状態で、前記重なり部における前記外面に対する重なり方向以外の方向への前記第2カバーの移動を規制する規制部と、を備えていることを特徴とする車両用機器。
続きを表示(約 860 文字)
【請求項2】
前記規制部は、前記第2ハウジングから突出する突起を含むことを特徴とする請求項1に記載の車両用機器。
【請求項3】
前記規制部は、前記第1カバーの縁部を折り曲げることにより形成されるリブを含むことを特徴とする請求項1又は請求項2に記載の車両用機器。
【請求項4】
前記外面は、
第1外面と、
前記第1外面よりも前記第2開口部寄りに位置する第2外面と、を有し、
前記重なり部は、前記第1外面よりも前記第2開口部寄りに配置された状態で前記第2外面に重なっていることを特徴とする請求項1又は請求項2に記載の車両用機器。
【請求項5】
前記規制部は、前記外面に設けられるとともに、前記重なり部を収める凹部を含み、前記第2外面は前記凹部の底面であることを特徴とする請求項4に記載の車両用機器。
【請求項6】
前記第2カバーを平面視したときに前記第1カバーと前記第2カバーとが隣り合う方向を第1方向とし、前記第2カバーを平面視したときに前記第1方向と直交する方向を第2方向とすると、
前記突起は、
前記第2カバーを前記第2方向で挟む位置にそれぞれ配置される第1突起及び第2突起と、
前記第1方向で前記第2カバーに対して前記第1カバーとは反対側に配置される第3突起と、を含むことを特徴とする請求項2に記載の車両用機器。
【請求項7】
前記第1突起及び前記第2突起は、
前記第1方向で前記第2カバーと対向する第1対向部と、
前記第2方向で前記第2カバーと対向する第2対向部と、を有していることを特徴とする請求項6に記載の車両用機器。
【請求項8】
前記インターロック機構は、前記インバータを収容する前記第1ハウジングの前記第1開口部を閉塞する前記第1カバーにおける前記第1ハウジングに対する脱着状態に連動することを特徴とする請求項1又は請求項2に記載の車両用機器。
発明の詳細な説明
【技術分野】
【0001】
本発明は、車両用機器に関する。
続きを表示(約 3,400 文字)
【背景技術】
【0002】
車両用機器は、モータと、インバータと、第1ハウジングと、第2ハウジングと、を備えている。インバータは、モータを駆動する。第1ハウジングは、モータ及びインバータの一方を収容する。第2ハウジングは、モータ及びインバータの他方を収容する。ここで、モータやインバータのメンテナンスを行う等、作業者が外部から第1ハウジングの内部や第2ハウジングの内部に手を入れて作業を行う場合がある。よって、第1ハウジングは、外部に開口する第1開口部を有するとともに、第2ハウジングは、外部に開口する第2開口部を有している場合がある。このような場合、車両用機器は、第1カバーと、第1締結部材と、第2カバーと、第2締結部材と、を備えている。第1カバーは、第1開口部を閉塞する。第1締結部材は、第1カバーを第1ハウジングに対して着脱自在に締結する。第2カバーは、第2開口部を閉塞する。第2締結部材は、第2カバーを第2ハウジングに対して着脱自在に締結する。
【0003】
そして、例えば、作業者が外部から第1ハウジングの内部に手を入れて作業を行う必要がある場合には、第1締結部材による第1ハウジングに対する第1カバーの締結を解除して、第1カバーを第1ハウジングから取り外す。これにより、作業者は、第1開口部を介して第1ハウジングの内部に手を入れて作業を行うことが可能となる。また、例えば、作業者が外部から第2ハウジングの内部に手を入れて作業を行う必要がある場合には、第2締結部材による第2ハウジングに対する第2カバーの締結を解除して、第2カバーを第2ハウジングから取り外す。これにより、作業者は、第2開口部を介して第2ハウジングの内部に手を入れて作業を行うことが可能となる。
【0004】
ここで、作業者が、第1開口部を介して第1ハウジングの内部に手を入れて作業を行う際や、第2開口部を介して第2ハウジングの内部に手を入れて作業を行う際には、安全面を確実に確保するために、インバータへの電力の供給が遮断されている必要がある。そこで、このような車両用機器においては、例えば特許文献1のようなインターロック機構が採用されている。車両用機器においては、第1カバーにおける第1ハウジングに対する脱着状態に連動するインターロック機構と、第2カバーにおける第2ハウジングに対する脱着状態に連動するインターロック機構と、をそれぞれ備えている場合がある。第1カバーにおける第1ハウジングに対する脱着状態に連動するインターロック機構は、第1締結部材による第1ハウジングに対する第1カバーの締結が解除されて、第1カバーが第1ハウジングから取り外されることにより、インバータへの電力の供給を遮断する。第2カバーにおける第2ハウジングに対する脱着状態に連動するインターロック機構は、第2締結部材による第2ハウジングに対する第2カバーの締結が解除されて、第2カバーが第2ハウジングから取り外されることにより、インバータへの電力の供給を遮断する。
【先行技術文献】
【特許文献】
【0005】
特開2007-113486号公報
【発明の概要】
【発明が解決しようとする課題】
【0006】
しかしながら、このように2つのインターロック機構を備えている車両用機器においては、部品点数が増大するとともに車両用機器の大型化の要因となってしまう。そこで、車両用機器において、例えば、第1カバーにおける第1ハウジングに対する脱着状態に連動するインターロック機構のみを備えることが考えられる。しかし、第1カバーが第1ハウジングから取り外されていないにもかかわらず、第2カバーが第2ハウジングから取り外されてしまう場合がある。すると、インバータへの電力の供給が遮断されていない状態で、作業者が、第2開口部を介して第2ハウジングの内部に手を入れて作業を行ってしまう虞がある。したがって、安全面を確実に確保しつつも、部品点数を削減することができるとともに車両用機器の小型化を図ることが望まれている。
【課題を解決するための手段】
【0007】
上記課題を解決する車両用機器は、モータと、前記モータを駆動するインバータと、前記モータ及び前記インバータの一方を収容するとともに外部に開口する第1開口部を有する第1ハウジングと、前記モータ及び前記インバータの他方を収容するとともに外部に開口する第2開口部を有する第2ハウジングと、前記第1開口部を閉塞する第1カバーと、前記第1カバーを前記第1ハウジングに対して脱着自在に締結する第1締結部材と、前記第2開口部を閉塞する第2カバーと、前記第2カバーを前記第2ハウジングに対して脱着自在に締結する第2締結部材と、前記第1カバーにおける前記第1ハウジングに対する脱着状態に連動するインターロック機構と、を備え、前記インターロック機構は、前記第1締結部材による前記第1ハウジングに対する前記第1カバーの締結が解除されて、前記第1カバーが前記第1ハウジングから取り外されることにより、前記インバータへの電力の供給を遮断する車両用機器であって、前記第1カバーに設けられるとともに前記第2カバーの外面に重なる重なり部と、前記第2締結部材における前記第2ハウジングに対する締結が解除された状態で、前記重なり部における前記外面に対する重なり方向以外の方向への前記第2カバーの移動を規制する規制部と、を備えている。
【0008】
これによれば、重なり部が、第2カバーの外面に重なっているため、重なり部における第2カバーの外面に対する重なり方向において、第2カバーにおける第2開口部から離間する方向への移動が重なり部によって規制される。さらに、規制部が、第2締結部材における第2ハウジングに対する締結が解除された状態で、重なり部における第2カバーの外面に対する重なり方向以外の方向への第2カバーの移動を規制する。したがって、第2締結部材における第2ハウジングに対する締結が解除されたとしても、第1カバーを第1ハウジングから取り外さない限り、第2カバーを第2ハウジングから取り外すことができない。よって、第1カバーが第1ハウジングから取り外されていないにもかかわらず、第2カバーが第2ハウジングから取り外されてしまうことが無い。したがって、第2カバーを第2ハウジングから取り外す際には、まず、第1カバーを第1ハウジングから取り外す必要があるため、第2カバーが第2ハウジングから取り外される前に、インターロック機構によってインバータへの電力の供給が遮断される。そして、インターロック機構によってインバータへの電力の供給が遮断された後に、第2カバーが第2ハウジングから取り外される。したがって、インバータへの電力の供給が遮断されていない状態で、作業者が、第2開口部を介して第2ハウジングの内部に手を入れて作業を行ってしまうといった問題が回避される。また、車両用機器は、第2カバーにおける第2ハウジングに対する脱着状態に連動するインターロック機構を備えていない。したがって、部品点数を削減することができるとともに車両用機器の小型化を図ることができる。以上により、安全面を確実に確保しつつも、部品点数を削減することができるとともに車両用機器の小型化を図ることができる。
【0009】
上記車両用機器において、前記規制部は、前記第2ハウジングから突出する突起を含むとよい。
このような突起は、第2締結部材における第2ハウジングに対する締結が解除された状態で、重なり部における第2カバーの外面に対する重なり方向以外の方向への第2カバーの移動を規制する規制部を構成する上で好適である。
【0010】
上記車両用機器において、前記規制部は、前記第1カバーの縁部を折り曲げることにより形成されるリブを含むとよい。
このようなリブは、第2締結部材における第2ハウジングに対する締結が解除された状態で、重なり部における第2カバーの外面に対する重なり方向以外の方向への第2カバーの移動を規制する規制部を構成する上で好適である。
(【0011】以降は省略されています)
この特許をJ-PlatPat(特許庁公式サイト)で参照する
関連特許
株式会社豊田自動織機
流体機械
15日前
株式会社豊田自動織機
流体機械
15日前
株式会社豊田自動織機
制御装置
6日前
株式会社豊田自動織機
監視装置
3日前
株式会社豊田自動織機
冷却装置
3日前
株式会社豊田自動織機
燃料噴射弁
7日前
株式会社豊田自動織機
車両用機器
3日前
株式会社豊田自動織機
電力変換装置
14日前
株式会社豊田自動織機
フォークリフト
14日前
株式会社豊田自動織機
インバータ装置
3日前
株式会社豊田自動織機
燃料電池システム
3日前
株式会社豊田自動織機
燃料電池システム
3日前
株式会社豊田自動織機
燃料電池システム
3日前
株式会社豊田自動織機
シートベルト装置
14日前
株式会社豊田自動織機
パレット検知装置
1日前
株式会社豊田自動織機
蓄電装置の製造方法
13日前
株式会社豊田自動織機
燃料電池モジュール
3日前
株式会社豊田自動織機
蓄電装置の製造方法
13日前
株式会社豊田自動織機
トランスモジュール
13日前
株式会社豊田自動織機
支持装置及び支持部材
13日前
株式会社豊田自動織機
内燃機関の排気浄化システム
14日前
株式会社豊田自動織機
キャパシタモジュールユニット
13日前
豊田合成株式会社
車両用内装品
1日前
株式会社豊田自動織機
電源装置及び電源装置の製造方法
7日前
豊田合成株式会社
車両用内装品
1日前
株式会社豊田中央研究所
燃料供給装置
3日前
豊田合成株式会社
コンソールボックス
1日前
株式会社豊田自動織機
燃料電池モジュール、及び発電システム
3日前
豊田合成株式会社
コンソールボックス
1日前
豊田合成株式会社
コンソールボックス
1日前
トヨタ自動車株式会社
電池の製造方法、電池
3日前
株式会社豊田自動織機
チェーンスプロケットおよびチェーン伝動装置
14日前
トヨタ自動車株式会社
作業分析装置
3日前
トヨタ自動車株式会社
作業解析システム
3日前
株式会社豊田中央研究所
電磁場発生装置、ウェアラブル装置、及び検知装置
3日前
個人
電源装置
14日前
続きを見る
他の特許を見る