TOP
|
特許
|
意匠
|
商標
特許ウォッチ
Twitter
他の特許を見る
公開番号
2025141136
公報種別
公開特許公報(A)
公開日
2025-09-29
出願番号
2024040920
出願日
2024-03-15
発明の名称
冷却装置
出願人
株式会社豊田自動織機
代理人
個人
,
個人
,
個人
,
個人
,
個人
主分類
H01L
23/36 20060101AFI20250919BHJP(基本的電気素子)
要約
【課題】コストを低減すると共に、冷却性能を確保することができる半導体モジュールの冷却装置を提供する。
【解決手段】複数の第1の突出部30は、底壁部20との間の角部に第1のフィレット33を有し、底壁部20及び第1の突出部30は鋳造によって形成される。第1の突出部30の第1のフィレット33は、隣り合う第1の突出部30の第1のフィレット33から底面20aにおいて離間している。従って、良好な鋳造を行うことができる。以上より、コストを低減すると共に、冷却性能を確保することができる。
【選択図】図4
特許請求の範囲
【請求項1】
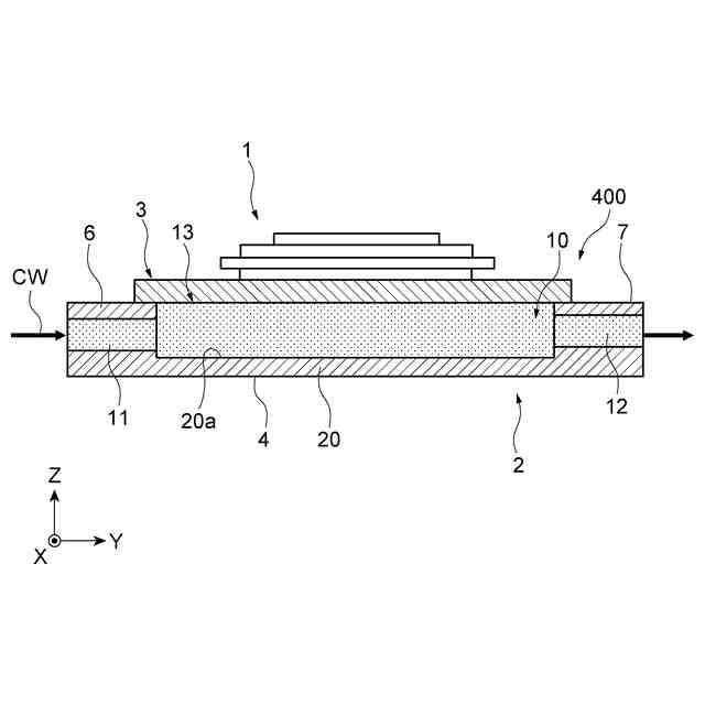
半導体モジュールと熱を伝達可能に接合するように配置され、内部に冷却流体が流れる冷却流路が設けられた半導体モジュールの冷却装置であって、
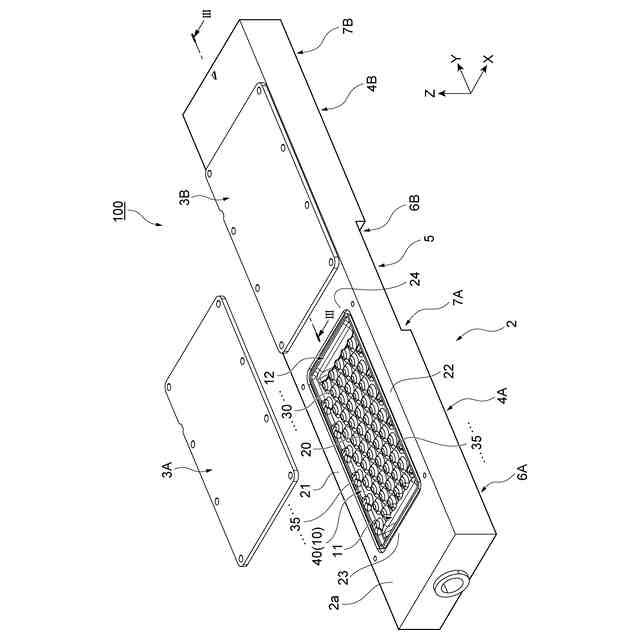
前記半導体モジュールが連結されると共に、前記冷却流体と熱交換を行うベース部材と、
前記ベース部材と第1の方向に離間して対向するように配置され、前記ベース部材との間で前記冷却流路を構成する底壁部と、を備え、
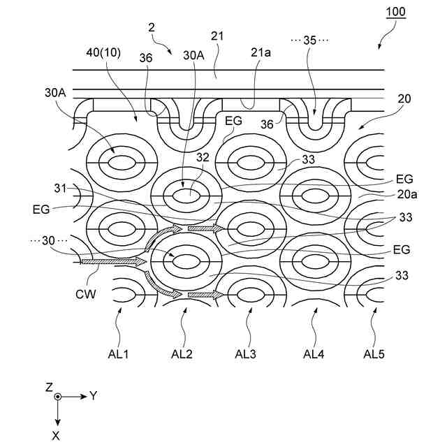
前記底壁部の底面には、前記第1の方向において前記ベース部材側へ突出する複数の第1の突出部が設けられ、
複数の前記第1の突出部は、前記底壁部との間の角部に第1のフィレットを有し、
前記第1の突出部の前記第1のフィレットは、隣り合う前記第1の突出部の前記第1のフィレットから前記底面において離間している、冷却装置。
続きを表示(約 570 文字)
【請求項2】
前記底壁部の縁部から前記ベース部材側へ向かって延びると共に、前記冷却流体が流れる第2の方向に沿って延びる側壁部を更に有し、
前記側壁部の側面には、前記第1の方向及び前記第2の方向と交差する第3の方向において、前記冷却流路へ突出する第2の突出部が設けられる、請求項1に記載の冷却装置。
【請求項3】
前記第1の突出部の前記第1の方向における高さは、前記冷却流路の前記第1の方向における高さの半分以上である、請求項1に記載の冷却装置。
【請求項4】
複数の前記第1の突出部は、前記第1の方向、及び前記冷却流体が流れる第2の方向と交差する第3の方向に並ぶように配列され、当該配列が前記第2の方向に複数列設けられ、
前記配列内の複数の前記第1の突出部は、前記第2の方向に隣り合う他の前記配列内の複数の前記第1の突出部に対して、千鳥状に配置される、請求項1に記載の冷却装置。
【請求項5】
前記第1の突出部は、前記第1の方向に延びる側面と、先端面との間の角部に第2のフィレットを有する、請求項1に記載の冷却装置。
【請求項6】
前記第1の突出部は、前記第1の方向から見て、前記冷却流体が流れる第2の方向に延びる楕円形状を有する、請求項1に記載の冷却装置。
発明の詳細な説明
【技術分野】
【0001】
本発明は、冷却装置に関する。
続きを表示(約 1,900 文字)
【背景技術】
【0002】
従来の冷却装置としては、例えば特許文献1に記載されている技術が知られている。特許文献1に記載の冷却装置は、インバータケースを備えている。インバータケースは、一方の面にインバータ回路が取り付けられるベース部を有する。ベース部には冷却水を流す流路が設けられ、流路には水路蓋部が設けられている。水路蓋部の上面にはインバータ回路が設けられている。水路蓋部の下面には放熱用の放熱部材が設けられている。
【先行技術文献】
【特許文献】
【0003】
特開2022-143711号公報
【発明の概要】
【発明が解決しようとする課題】
【0004】
ここで、上述の特許文献1では、水路蓋部の下面に放熱部材を設ける必要があるため製造するための半導体モジュール側のコストが高くなるという問題があった。その一方、半導体モジュール側にこのような放熱部材が設けられていない場合は、冷却装置の冷却性能が低下するという問題がある。従って、コストを低減すると共に、冷却性能を確保できる冷却装置が求められていた。
【0005】
従って、本発明は、コストを低減すると共に、冷却性能を確保することができる半導体モジュールの冷却装置を提供することを目的とする。
【課題を解決するための手段】
【0006】
本発明の一態様に係る冷却装置は、半導体モジュールと熱を伝達可能に接合するように配置され、内部に冷却流体が流れる冷却流路が設けられた半導体モジュールの冷却装置であって、半導体モジュールが連結されると共に、冷却流体と熱交換を行うベース部材と、ベース部材と第1の方向に離間して対向するように配置され、ベース部材との間で冷却流路を構成する底壁部と、を備え、底壁部の底面には、第1の方向においてベース部材側へ突出する複数の第1の突出部が設けられ、複数の第1の突出部は、底壁部との間の角部に第1のフィレットを有し、第1の突出部の第1のフィレットは、隣り合う第1の突出部の第1のフィレットから底面において離間している。
【0007】
この冷却装置は、半導体モジュールが連結されると共に、冷却流体と熱交換を行うベース部材と、ベース部材と第1の方向に離間して対向するように配置され、ベース部材との間で前記冷却流路を構成する底壁部と、を備える。これにより、冷却装置は、冷却流路に冷却流体を流すことで、ベース部材を介して半導体モジュールを冷却することができる。底壁部の底面には、第1の方向においてベース部材側へ突出する複数の第1の突出部が設けられている。冷却流路内では、第1の突出部の影響により、冷却流体に乱流が発生する。そのため、ベース部材に冷却流体が当たり易くなることで、半導体モジュールの効率的な冷却が可能となる。また、複数の第1の突出部は、底壁部との間の角部に第1のフィレットを有し、底壁部及び第1の突出部は鋳造によって形成される。第1の突出部の第1のフィレットは、隣り合う第1の突出部の第1のフィレットから底面において離間している。従って、良好な鋳造を行うことができる。以上より、コストを低減すると共に、冷却性能を確保することができる。
【0008】
底壁部の縁部からベース部材側へ向かって延びると共に、冷却流体が流れる第2の方向に沿って延びる側壁部を更に有し、側壁部の側面には、第1の方向及び第2の方向と交差する第3の方向において、冷却流路へ突出する第2の突出部が設けられてよい。この場合、側面付近においても冷却流体に乱流を発生させることができ、且つ、冷却流体を第1の突出部へ向かわせることができるため、冷却効率を上げることができる。
【0009】
第1の突出部の第1の方向における高さは、冷却流路の第1の方向における高さの半分以上であってよい。この場合、ベース部材付近で冷却流体に乱流を発生させることができる。
【0010】
複数の第1の突出部は、第1の方向、及び冷却流体が流れる第2の方向と交差する第3の方向に並ぶように配列され、当該配列が第2の方向に複数列設けられ、配列内の複数の第1の突出部は、第2の方向に隣り合う他の配列内の複数の第1の突出部に対して、千鳥状に配置されてよい。この場合、冷却流路内を第2の方向へ流れる冷却流体は、千鳥状に配列された第1の突出部により、冷却流体の流れを規制しながら流すことができるため、冷却流体でベース部材を良好に冷却することができる。
(【0011】以降は省略されています)
この特許をJ-PlatPat(特許庁公式サイト)で参照する
関連特許
株式会社豊田自動織機
排気管
5日前
株式会社豊田自動織機
回転圧縮機
1日前
株式会社豊田自動織機
電力変換器
1日前
株式会社豊田自動織機
回転圧縮機
1日前
株式会社豊田自動織機
自動運転車両
5日前
株式会社豊田自動織機
荷役制御装置
5日前
株式会社豊田自動織機
段積みケース構造
5日前
株式会社豊田自動織機
スクロール型圧縮機
5日前
株式会社豊田自動織機
回転電機のステータ
5日前
株式会社豊田自動織機
スクロール型圧縮機
今日
株式会社豊田自動織機
スクロール型圧縮機
今日
株式会社豊田自動織機
車両のリアシート構造
今日
株式会社豊田自動織機
屋外自動運転システム
5日前
株式会社豊田自動織機
両回転式スクロール型圧縮機
今日
株式会社豊田自動織機
両回転式スクロール型圧縮機
今日
株式会社豊田自動織機
両回転式スクロール型圧縮機
今日
株式会社豊田自動織機
両回転式スクロール型圧縮機
今日
株式会社豊田自動織機
両回転式スクロール型圧縮機
今日
株式会社豊田自動織機
両回転式スクロール型圧縮機
今日
株式会社豊田自動織機
両回転式スクロール型圧縮機
今日
トヨタ自動車株式会社
電池
1日前
豊田合成株式会社
車両用外装品
5日前
豊田合成株式会社
車両用内装品
7日前
トヨタ自動車株式会社
バイポーラ型電池
1日前
トヨタ自動車株式会社
ロールプレス装置
5日前
トヨタ自動車株式会社
電池の製造方法、及び、電池
6日前
株式会社豊田中央研究所
ハイブリッド車両の制御装置
6日前
トヨタ自動車株式会社
負極及びリチウムイオン二次電池
今日
トヨタ自動車株式会社
バイポーラ型蓄電装置の製造方法及びそれに用いられる治具
今日
株式会社豊田中央研究所
距離認識制御システム、電磁波信号発振装置、距離認識制御プログラム
5日前
個人
安全なNAS電池
1か月前
日本発條株式会社
積層体
9日前
東レ株式会社
多孔質炭素シート
28日前
ローム株式会社
半導体装置
7日前
エイブリック株式会社
半導体装置
1か月前
ローム株式会社
半導体装置
7日前
続きを見る
他の特許を見る