TOP
|
特許
|
意匠
|
商標
特許ウォッチ
Twitter
他の特許を見る
10個以上の画像は省略されています。
公開番号
2025140828
公報種別
公開特許公報(A)
公開日
2025-09-29
出願番号
2024040428
出願日
2024-03-14
発明の名称
車両制御装置
出願人
ダイハツ工業株式会社
代理人
弁理士法人酒井国際特許事務所
主分類
G01S
17/931 20200101AFI20250919BHJP(測定;試験)
要約
【課題】物標に属する点群が複数の点群に分裂して認識された場合に、物標が分裂しているか否かを容易に判別することができる車両制御装置を提供することができる車両の制御装置を提供する。
【解決手段】本発明に係る車両制御装置は、車両周辺の物標を点群データとして認識する認識手段と、認識された点群データを囲うようにボックスを設定する設定手段と、前記ボックスが複数の分裂ボックスに分裂した場合に、複数の分裂ボックスのうち一の分裂ボックスが示す物標が分裂しているか否かを判定する判定手段と、を備える。
【選択図】図4
特許請求の範囲
【請求項1】
車両周辺の物標を点群データとして認識する認識手段と、
認識された点群データを囲うようにボックスを設定する設定手段と、
前記ボックスが複数の分裂ボックスに分裂した場合に、複数の分裂ボックスのうち一の分裂ボックスが示す物標が分裂しているか否かを判定する判定手段と、
を備え、
判定手段は、分裂前のボックスを前記複数の分裂ボックスに重ねた場合に、前記分裂前のボックスと前記一の分裂ボックスとが重なる部分が所定の割合以上であれば、前記一の分裂ボックスが示す物標は分裂していないと判定する、車両制御装置。
続きを表示(約 740 文字)
【請求項2】
前記判定手段は、
前記複数の分裂ボックスのうち第1の分裂ボックスの頂点を基点として、前記分裂前のボックスを前記複数の分裂ボックスに重ねた場合に、
前記分裂前のボックスと前記複数の分裂ボックスのうち前記第1の分裂ボックス以外の第2の分裂ボックスが重なる部分が前記所定の割合以上であれば、前記第2の分裂ボックスが示す物標は分裂した物標ではないと判定する、
請求項1に記載の車両制御装置。
【請求項3】
前記判定手段は、
前記複数の分裂ボックスのうち第1の分裂ボックスの頂点を基点として、前記分裂前のボックスを前記複数の分裂ボックスに重ねた場合に、
前記分裂前のボックスと前記複数の分裂ボックスのうち前記第1の分裂ボックス以外の第2の分裂ボックスが重なる部分が前記所定の割合以上であれば、前記第2の分裂ボックスが示す物標は分裂した物標ではないと判定し、
前記複数の分裂ボックスのうち前記第1の分裂ボックス以外の第3の分裂ボックスの頂点を基点として、前記分裂前のボックスを前記複数の分裂ボックスに重ねた場合に、
前記分裂前のボックスと前記複数の分裂ボックスのうち前記第3の分裂ボックス以外の第4の分裂ボックスが重なる部分が前記所定の割合以上であれば、前記第4の分裂ボックスが示す物標は分裂した物標ではないと判定する、
請求項1に記載の車両制御装置。
【請求項4】
前記判定手段は、前記設定手段が分裂より前の所定回数の設定で設定したボックスの中で面積が最大のボックスを前記分裂前のボックスとして用いる、
請求項1乃至3のいずれか一項に記載の車両制御装置。
発明の詳細な説明
【技術分野】
【0001】
本発明は、車両制御装置に関する。
続きを表示(約 1,500 文字)
【背景技術】
【0002】
近年、車両をユーザの運転操作によらずに走行させる自動運転について研究が進められている。自動運転の制御では、例えば、車両に搭載されたライダ(LiDAR:Light Detection And Ranging)により物標を点群データとして認識し、認識した点群データから車両周辺に存在する物標を特定する車両制御装置に関する技術が開示されている。
【先行技術文献】
【特許文献】
【0003】
特開2023-32069号公報
【発明の概要】
【発明が解決しようとする課題】
【0004】
ところで、点群データから物標を特定する場合、例えば、物標表面からの反射光の強度変化等によって同一の物標に属する点群が複数の点群に分裂して認識される場合がある。このような場合に、従来の技術では、点群で特定される物標が実際に分裂しているか否かを判別することは困難であった。
【0005】
本発明の目的は、上述の課題に鑑みてなされたものであって、物標に属する点群が複数の点群に分裂して認識された場合に、物標が分裂しているか否かを容易に判別することができる車両制御装置を提供することである。
【課題を解決するための手段】
【0006】
上述した課題を解決し、目的を達成するために、本発明に係る車両制御装置は、車両周辺の物標を点群データとして認識する認識手段と、認識された点群データを囲うようにボックスを設定する設定手段と、前記ボックスが複数の分裂ボックスに分裂した場合に、複数の分裂ボックスのうち一の分裂ボックスが示す物標が分裂しているか否かを判定する判定手段と、を備える。
【発明の効果】
【0007】
本発明によれば、物標に属する点群が複数の点群に分裂して認識された場合に、物標が分裂しているか否かを容易に判別することができる。
【図面の簡単な説明】
【0008】
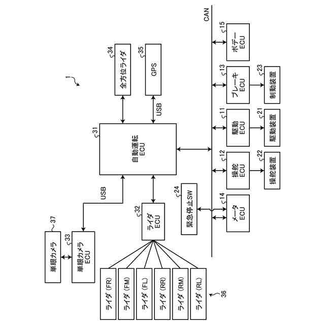
図1は、実施形態に係る車両制御装置が搭載される車両のシステム構成の一例を示すブロック図である。
図2は、実施形態に係る車両の自動運転ECUの機能構成の一例を示すブロック図である。
図3は、対象物標に当てはめられた直方体形状が複数に分裂した例を示す図である。
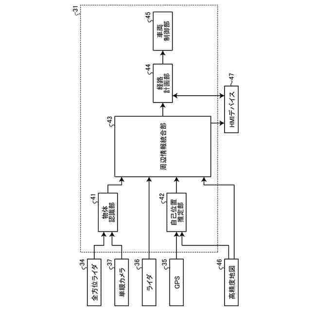
図4は、実施形態に係る物体認識部の機能構成の一例を示すブロック図である。
図5は、判定手段における判定の手順を示すフローチャートである。
図6は、分裂前のボックスと複数の分裂ボックスの関係を説明する図である。
図7は、分裂前のボックスを複数の分裂ボックスに重ねる様子を説明する図である。
図8は、分裂前のボックスと分裂ボックスとが重なる部分を説明する図である。
図9は、各分裂ボックスを基準にして判定を繰り返し行う場合の手順を示すフローチャートである。
【発明を実施するための形態】
【0009】
以下、本発明の実施形態について図面を参照して説明する。以下に記載する実施形態の構成、並びに当該構成によってもたらされる作用及び効果は一例であって、本発明は以下の記載内容に限定されるものではない。
【0010】
図1は、実施形態に係る車両制御装置が搭載される車両1のシステム構成の一例を示すブロック図である。車両1は、自動運転機能を搭載しており、ユーザ(運転者)の運転操作によらない自動運転による走行が可能である。なお、自動運転には、車両1の走行における操作の一部が自動化された(ユーザによる部分的な運転操作を要する)半自動運転が含まれる。
(【0011】以降は省略されています)
この特許をJ-PlatPat(特許庁公式サイト)で参照する
関連特許
ダイハツ工業株式会社
車両
22日前
ダイハツ工業株式会社
制御装置
21日前
ダイハツ工業株式会社
制御装置
21日前
ダイハツ工業株式会社
制御装置
21日前
ダイハツ工業株式会社
車両制御装置
3日前
ダイハツ工業株式会社
車両制御装置
3日前
ダイハツ工業株式会社
車両制御装置
6日前
ダイハツ工業株式会社
車両制御装置
6日前
ダイハツ工業株式会社
車両制御装置
6日前
ダイハツ工業株式会社
二酸化炭素分解装置
22日前
ダイハツ工業株式会社
樹脂製アウタパネル部材
今日
ダイハツ工業株式会社
樹脂製アウタパネル部材
1日前
ダイハツ工業株式会社
一酸化炭素製造システム
13日前
ダイハツ工業株式会社
ハイブリッド車両用制御装置
3日前
トヨタ自動車株式会社
電動車両
22日前
トヨタ自動車株式会社
電動車両
22日前
トヨタ自動車株式会社
電動車両
22日前
トヨタ自動車株式会社
バッテリケース
22日前
個人
計量スプーン
23日前
個人
微小振動検出装置
1か月前
株式会社イシダ
X線検査装置
1か月前
日本精機株式会社
位置検出装置
1日前
日本精機株式会社
位置検出装置
1日前
日本精機株式会社
位置検出装置
1日前
大和製衡株式会社
組合せ秤
6日前
大和製衡株式会社
組合せ秤
6日前
アズビル株式会社
圧力センサ
今日
株式会社東芝
センサ
6日前
アンリツ株式会社
分光器
29日前
トヨタ自動車株式会社
検査装置
3日前
株式会社東芝
センサ
6日前
ダイハツ工業株式会社
測定用具
27日前
トヨタ自動車株式会社
表示装置
15日前
エイブリック株式会社
磁気センサ回路
今日
株式会社東芝
センサ
1か月前
アンリツ株式会社
分光器
29日前
続きを見る
他の特許を見る