TOP
|
特許
|
意匠
|
商標
特許ウォッチ
Twitter
他の特許を見る
10個以上の画像は省略されています。
公開番号
2025141688
公報種別
公開特許公報(A)
公開日
2025-09-29
出願番号
2024041738
出願日
2024-03-15
発明の名称
ハイブリッド車両用制御装置
出願人
ダイハツ工業株式会社
代理人
弁理士法人太陽国際特許事務所
主分類
B60L
58/12 20190101AFI20250919BHJP(車両一般)
要約
【課題】バッテリのSOCが閾値以下であり且つ発電機として機能する電動モータが最大電力量の電力を発電しているときにバッテリの放電を抑制できるハイブリッド車両用制御装置を提供する。
【解決手段】バッテリのSOCが閾値以下であり、第1電動モータが最大電力量の電力を発電し、且つズレ量Wdfが発生しているときに、使用可能電力量及び補機電力の少なくとも一方からズレ量の少なくとも一部を引く。
【選択図】図8
特許請求の範囲
【請求項1】
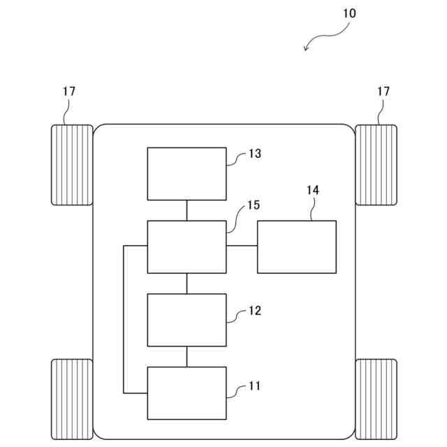
エンジン、前記エンジンによって回転させられる発電用の第1電動モータ、前記第1電動モータが発電した電力を蓄電可能なバッテリ、並びに、前記バッテリの電力及び前記第1電動モータが発電した電力を利用して駆動輪を回転させる駆動力を発生する第2電動モータ、を有するシリーズタイプのハイブリッド車両に設けられる制御装置であって、
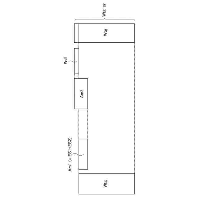
前記バッテリのSOCが閾値以下のとき、前記第2電動モータの要求電力量、補機電力の見積値である第1見積値、並びに前記第1電動モータ及び前記第2電動モータの損失電力の見積値である第2見積値の合計値である目標電力量の電力を発電するように前記第1電動モータを制御可能であり、前記SOCが前記閾値以下であり且つ前記第1見積値及び前記第2見積値の合計値である第1合計値より実際の前記補機電力及び前記損失電力の合計値である第2合計値が大きい場合に、前記第2合計値から前記第1合計値を引いた値であるズレ量を前記目標電力量に付加した電力量である補正目標電力量の電力を発電するように前記第1電動モータを制御可能な第1電動モータ制御部と、
前記SOCが前記閾値以下で且つ前記第1電動モータが発電可能な最大電力量の電力を発電していないときは、前記目標電力量から前記第1合計値を引いた値である使用可能電力量の電力を前記第2電動モータに供給可能な第2電動モータ制御部と、
を備え、
前記第2電動モータ制御部は、前記SOCが前記閾値以下であり、前記第1電動モータが前記最大電力量の電力を発電し、且つ前記ズレ量が発生しているときに、前記使用可能電力量及び前記補機電力の少なくとも一方から前記ズレ量の少なくとも一部を引くハイブリッド車両用制御装置。
続きを表示(約 230 文字)
【請求項2】
前記SOCが前記閾値以下の範囲で小さくなるほど大きくなる係数を前記ズレ量に乗じた値である補正ズレ量を、前記補機電力及び前記使用可能電力量の少なくとも一方から引く電力補正部を備える請求項1に記載のハイブリッド車両用制御装置。
【請求項3】
所定の特定条件が成立したときに、前記使用可能電力量に優先させて前記補機電力から前記ズレ量の少なくとも一部を引く電力補正部を備える請求項1又は請求項2に記載のハイブリッド車両用制御装置。
発明の詳細な説明
【技術分野】
【0001】
本発明は、ハイブリッド車両用制御装置に関する。
続きを表示(約 2,000 文字)
【背景技術】
【0002】
下記特許文献1のハイブリッド車両では、主に発電機として動作する電動機の入出力電力と、主に車両駆動力発生用の電動機として動作する電動機の入出力電力との和が、バッテリの出力可能電力Woutと入力可能電力Winとの間の大きさとなるように電力収支制御が行われる。
【0003】
下記特許文献2のハイブリッド車両では、バッテリが電力入出力を制限された入出力制限状態にある場合に、駆動輪を駆動可能なモータに供給する電力を生成する発電機の発電電力とモータの消費電力との差分が、バッテリの電力入出力制限内に収まるようにモータトルク指令が演算される。
【先行技術文献】
【特許文献】
【0004】
特開2008-247097号公報
特開2010-184514号公報
【発明の概要】
【発明が解決しようとする課題】
【0005】
上記特許文献1、2の発明は、バッテリのSOCが閾値以下であり且つ発電機として機能する電動モータが最大電力量の電力を発電しているときにバッテリの放電を抑制することに関して改善の余地がある。
【0006】
本発明は上記事実を考慮し、バッテリのSOCが閾値以下であり且つ発電機として機能する電動モータが最大電力量の電力を発電しているときにバッテリの放電を抑制できるハイブリッド車両用制御装置を得ることを目的とする。
【課題を解決するための手段】
【0007】
請求項1のハイブリッド車両用制御装置は、エンジン、前記エンジンによって回転させられる発電用の第1電動モータ、前記第1電動モータが発電した電力を蓄電可能なバッテリ、並びに、前記バッテリの電力及び前記第1電動モータが発電した電力を利用して駆動輪を回転させる駆動力を発生する第2電動モータ、を有するシリーズタイプのハイブリッド車両に設けられる制御装置であって、前記バッテリのSOCが閾値以下のとき、前記第2電動モータの要求電力量、補機電力の見積値である第1見積値、並びに前記第1電動モータ及び前記第2電動モータの損失電力の見積値である第2見積値の合計値である目標電力量の電力を発電するように前記第1電動モータを制御可能であり、前記SOCが前記閾値以下であり且つ前記第1見積値及び前記第2見積値の合計値である第1合計値より実際の前記補機電力及び前記損失電力の合計値である第2合計値が大きい場合に、前記第2合計値から前記第1合計値を引いた値であるズレ量を前記目標電力量に付加した電力量である補正目標電力量の電力を発電するように前記第1電動モータを制御可能な第1電動モータ制御部と、前記SOCが前記閾値以下で且つ前記第1電動モータが発電可能な最大電力量の電力を発電していないときは、前記目標電力量から前記第1合計値を引いた値である使用可能電力量の電力を前記第2電動モータに供給可能な第2電動モータ制御部と、を備え、前記第2電動モータ制御部は、前記SOCが前記閾値以下であり、前記第1電動モータが前記最大電力量の電力を発電し、且つ前記ズレ量が発生しているときに、前記使用可能電力量及び前記補機電力の少なくとも一方から前記ズレ量の少なくとも一部を引く。
【0008】
請求項1のハイブリッド車両用制御装置では、バッテリのSOCが閾値以下のときに、目標電力量から第1合計値を引いた値である使用可能電力量の電力が第2電動モータに供給される。さらにSOCが閾値以下であり、第1電動モータが最大電力量の電力を発電し、且つズレ量が発生しているときに、使用可能電力量及び補機電力の少なくとも一方からズレ量の少なくとも一部を引かれる。このように請求項1のハイブリッド車両用制御装置では、バッテリのSOCが閾値以下であり且つ発電機として機能する第1電動モータが最大電力量の電力を発電しているときに、バッテリの電力の第2電動モータ及び補機の少なくとも一方への供給が抑制される。従って、請求項1のハイブリッド車両用制御装置は、バッテリのSOCが閾値以下であり且つ第1電動モータが最大電力量の電力を発電しているときにバッテリの放電を抑制できる。
【0009】
請求項2のハイブリッド車両用制御装置は、請求項1において、前記SOCが前記閾値以下の範囲で小さくなるほど大きくなる係数を前記ズレ量に乗じた値である補正ズレ量を、前記補機電力及び前記使用可能電力量の少なくとも一方から引く。
【0010】
請求項2のハイブリッド車両用制御装置によれば、バッテリのSOCが閾値以下であり且つ第1電動モータが最大電力量の電力を発電しているときに第2電動モータの出力低下を抑制できる。
(【0011】以降は省略されています)
この特許をJ-PlatPat(特許庁公式サイト)で参照する
関連特許
ダイハツ工業株式会社
車両
22日前
ダイハツ工業株式会社
内燃機関
24日前
ダイハツ工業株式会社
電池装置
1か月前
ダイハツ工業株式会社
制御装置
21日前
ダイハツ工業株式会社
制御装置
21日前
ダイハツ工業株式会社
制御装置
21日前
ダイハツ工業株式会社
測定用具
27日前
ダイハツ工業株式会社
車両制御装置
3日前
ダイハツ工業株式会社
車両制御装置
3日前
ダイハツ工業株式会社
車両制御装置
6日前
ダイハツ工業株式会社
車両制御装置
6日前
ダイハツ工業株式会社
車両制御装置
6日前
ダイハツ工業株式会社
樹脂成形用金型
1か月前
ダイハツ工業株式会社
トランスファー装置
1か月前
ダイハツ工業株式会社
二酸化炭素分解装置
22日前
ダイハツ工業株式会社
一酸化炭素製造システム
13日前
ダイハツ工業株式会社
樹脂製アウタパネル部材
1日前
ダイハツ工業株式会社
樹脂製アウタパネル部材
今日
ダイハツ工業株式会社
車両における電力の制御方法
23日前
ダイハツ工業株式会社
ハイブリッド車両用制御装置
3日前
トヨタ自動車株式会社
電動車両
22日前
トヨタ自動車株式会社
電動車両
22日前
トヨタ自動車株式会社
電動車両
22日前
トヨタ自動車株式会社
電気自動車
22日前
トヨタ自動車株式会社
バッテリケース
22日前
トヨタ自動車株式会社
バッテリ搭載構造
22日前
トヨタ自動車株式会社
バッテリ搭載構造
22日前
トヨタ自動車株式会社
バッテリパックの搭載構造及び電気自動車
22日前
個人
カーテント
4か月前
個人
タイヤレバー
2か月前
個人
前輪キャスター
1か月前
個人
タイヤ脱落防止構造
1か月前
個人
ホイルのボルト締結
3か月前
個人
車輪清掃装置
4か月前
個人
ルーフ付きトライク
1か月前
個人
車両通過構造物
2か月前
続きを見る
他の特許を見る