TOP
|
特許
|
意匠
|
商標
特許ウォッチ
Twitter
他の特許を見る
公開番号
2025142887
公報種別
公開特許公報(A)
公開日
2025-10-01
出願番号
2024042487
出願日
2024-03-18
発明の名称
樹脂製アウタパネル部材
出願人
ダイハツ工業株式会社
,
株式会社豊田中央研究所
代理人
個人
,
個人
,
個人
主分類
B60J
5/10 20060101AFI20250924BHJP(車両一般)
要約
【課題】その形状によらずまたインナパネル部材との固定態様によらず熱歪による外観不良の発生を防止することのできる樹脂製アウタパネル部材を提供する。
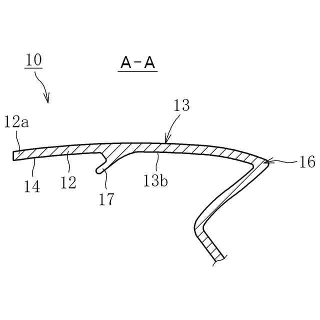
【解決手段】この樹脂製アウタパネル部材10は、インナパネル部材と共に車両の外観部を構成するもので、周縁部の一部がインナパネル部材の周縁部に固定された状態で表面に沿った向きの伸びが規制される規制領域13と、規制領域13の周縁部のうちインナパネル部材に固定された部分14と規制領域13の中央部13aを挟む位置に設けられ、規制領域13の中央部13aに向けて折り返した形状をなす折り返し部16とを有する。規制領域13の非意匠面13b側であってインナパネル部材に固定された部分14と折り返し部16との間に、折り返し部16の幅方向に延びる突条部17が設けられている。
【選択図】図2
特許請求の範囲
【請求項1】
インナパネル部材と共に車両の外観部を構成する樹脂製のアウタパネル部材であって、
周縁部の一部が前記インナパネル部材に固定された状態で表面に沿った向きの伸びが規制される規制領域と、
前記規制領域の周縁部のうち前記インナパネル部材に固定された部分と前記規制領域の中央部を挟む位置に設けられ、前記規制領域の中央部に向けて折り返した形状をなす折り返し部とを有し、
前記規制領域の非意匠面側であって前記インナパネル部材に固定された部分と前記折り返し部との間に、前記折り返し部の幅方向に延びる突条部が設けられている、樹脂製アウタパネル部材。
続きを表示(約 270 文字)
【請求項2】
前記樹脂製アウタパネル部材はバックドアアウタアッパーであって、前記規制領域は前記バックドアアウタアッパーの天面部に設けられ、
リアスポイラの後端部が前記折り返し部として前記天面部の後端側に設けられている、請求項1に記載の樹脂製アウタパネル部材。
【請求項3】
前記規制部材の周縁部のうち前記インナパネル部材としてのバックドアインナに固定された部分からの距離が前記天面部全体の前後方向寸法に対して10%以上となる位置に、前記突条部が設けられている、請求項2に記載の樹脂製アウタパネル部材。
発明の詳細な説明
【技術分野】
【0001】
本発明は、樹脂製アウタパネル部材に関し、特に熱応力による樹脂製アウタパネル部材の変形を抑制するための技術に関する。
続きを表示(約 2,400 文字)
【背景技術】
【0002】
近年、自動車などの車両用バックドアにおいては、燃費向上による環境負荷の低減化を図る取り組みの一環として、上記バックドアを構成するバックドアアウタとバックドアインナの少なくとも一方を金属に比べて軽い樹脂で形成している(例えば、特許文献1を参照)。
【0003】
また、この場合、シール構造と固定構造を同時に付与する目的で、バックドアアウタをバックドアインナの周縁部に接着固定することが行われている(例えば、特許文献2を参照)。
【先行技術文献】
【特許文献】
【0004】
特開2016-124346号公報
特開2018-167697号公報
【発明の概要】
【発明が解決しようとする課題】
【0005】
ところで、バックドアアウタは車両の外表面側に位置することから、バックドアインナに比べて高温となり易い。例えば真夏の炎天下に車両を長時間放置した場合、バックドアアウタ(特にバックドアアウタアッパーの天面部)の温度が80~100℃に達することがあり得る。このような高温状態になると、バックドアアウタは熱膨張しようとするが、上述のようにバックドアアウタがバックドアインナの周縁部に接着固定されている場合、バックドアアウタは接着固定により拘束された状態にあるため、平面に沿った向きの変形が規制され、熱応力が発生する。特にバックドアアウタを樹脂製とした場合には、金属製とした場合に比べて熱膨張量が増大する。また、バックドアアウタにリアスポイラを一体に形成した場合、バックドアアウタアッパーの天面部のうちリアスポイラを構成する後端部は前方側に折り返した形態となるが、このような部位は形状剛性(形状に起因した変形のし難さ)が高く応力集中の起点となり易い。そのため、バックドアアウタに生じる熱応力(熱歪)が所定の水準を超えて増大すると、例えばバックドアアウタアッパーの天面部がその幅方向に沿って波打つように凹む変形(外観不良)を招くおそれがある。
【0006】
以上の事情に鑑み、本明細書では、その形状によらずまたインナパネル部材との固定態様によらず熱歪による外観不良の発生を防止することのできる樹脂製アウタパネル部材を提供することを、解決すべき技術課題とする。
【課題を解決するための手段】
【0007】
前記課題の解決は、本発明に係る樹脂製アウタパネル部材によって達成される。すなわち、このアウタパネル部材は、インナパネル部材と共に車両の外観部を構成する樹脂製のアウタパネル部材であって、周縁部の一部がインナパネル部材に固定された状態で表面に沿った向きの伸びが規制される規制領域と、規制領域の周縁部のうちインナパネル部材に固定された部分と規制領域の中央部を挟む位置に設けられ、規制領域の中央部に向けて折り返した形状をなす折り返し部とを有し、規制領域の非意匠面側であってインナパネル部材に固定された部分と折り返し部との間に、折り返し部の幅方向に延びる突条部が設けられている点をもって特徴付けられる。なお、ここでいう『折り返し部の幅方向』とは、折り返し部の折り返し方向に対して直交する向きを指すものとする。また、ここでいう『幅方向に延びる』とは、幅方向に完全に平行な向きに延びる形態のみを指すわけではなく、幅方向とその直交方向のうち幅方向に近い向きに延びる形態を含む。
【0008】
本発明者らが、樹脂製のアウタパネル部材に対して所定の拘束条件下で熱応力解析を行ってその変形態様を検証した結果、インナパネル部材に固定された状態で表面に沿った向きの伸びが規制される領域の周縁部のうち、特に周縁部に沿ってインナパネル部材に固定される部分と、当該固定される部分と規制領域の中央部を挟んだ位置に設けられた折り返し部又はその近傍で応力集中が顕著となること、及び、双方の領域において応力が相互に影響し合う水準まで高まることで当該応力集中部位が規制領域の中央部を跨ぐように拡大した結果、凹状変形を招き得るレベルの熱歪が生じることが判明した。以上の知見に鑑み、本発明では、応力集中の起点となるインナパネル部材との固定部と折り返し部との間に、折り返し部の幅方向に延びる突条部を設けるようにした。このように構成することで、インナパネル部材との固定部と折り返し部との間に形状剛性の高い部位が介在することになるため、規制領域の中央部を跨ぐように双方の応力集中部位がつながる事態を可及的に防止(遮断)することができる。また、形状剛性の高い部位を新たに設けることによって、周縁部を含む規制領域全体の応力分布が均されるので、各応力集中部位(固定部、折り返し部)における応力集中を緩和することも可能となる。以上より、本発明によれば、規制領域の中央部における熱歪の増大を抑制して、外観不良となり得るレベルの規制領域の変形を防止することが可能となる。
【0009】
また、上記説明に係る樹脂製アウタパネル部材は、その形状によらずまたインナパネル部材との固定態様によらず熱歪による外観不良の発生を防止可能とするものであるから、例えば規制領域がバックドアアウタアッパーの天面部に設けられ、リアスポイラの後端部が折り返し部として天面部の後端側に設けられている樹脂製バックドアアウタアッパーとして好適に提供可能である。
【0010】
また、この場合、規制部材の周縁部のうちインナパネル部材としてのバックドアインナに固定された部分からの距離が天面部全体の前後方向寸法に対して10%以上となる位置に、突条部が設けられていることが好ましい。
(【0011】以降は省略されています)
この特許をJ-PlatPat(特許庁公式サイト)で参照する
関連特許
ダイハツ工業株式会社
制御装置
20日前
ダイハツ工業株式会社
車両制御装置
2日前
ダイハツ工業株式会社
車両制御装置
2日前
ダイハツ工業株式会社
車両制御装置
5日前
ダイハツ工業株式会社
車両制御装置
5日前
ダイハツ工業株式会社
車両制御装置
5日前
ダイハツ工業株式会社
樹脂製アウタパネル部材
今日
ダイハツ工業株式会社
一酸化炭素製造システム
12日前
ダイハツ工業株式会社
ハイブリッド車両用制御装置
2日前
個人
カーテント
4か月前
個人
タイヤレバー
2か月前
個人
前輪キャスター
1か月前
個人
車窓用防虫網戸
4か月前
個人
タイヤ脱落防止構造
1か月前
個人
ホイルのボルト締結
3か月前
個人
ルーフ付きトライク
1か月前
個人
車輪清掃装置
4か月前
日本精機株式会社
表示装置
2か月前
個人
マスタシリンダ
5日前
個人
車両通過構造物
2か月前
井関農機株式会社
作業車両
3か月前
日本精機株式会社
表示装置
1か月前
日本精機株式会社
表示装置
2か月前
井関農機株式会社
作業車両
3か月前
個人
キャンピングトライク
3か月前
日本精機株式会社
表示装置
2か月前
個人
乗合路線バスの客室装置
2か月前
個人
車両用スリップ防止装置
3か月前
個人
ワイパーゴム性能保持具
4か月前
個人
アクセルのソフトウェア
3か月前
個人
キャンピングトレーラー
3か月前
個人
円湾曲ホイール及び球体輪
2か月前
日本精機株式会社
車載表示装置
3か月前
日本精機株式会社
車載表示装置
13日前
井関農機株式会社
収穫作業車両
4か月前
株式会社ニフコ
保持装置
3か月前
続きを見る
他の特許を見る