TOP
|
特許
|
意匠
|
商標
特許ウォッチ
Twitter
他の特許を見る
10個以上の画像は省略されています。
公開番号
2025140858
公報種別
公開特許公報(A)
公開日
2025-09-29
出願番号
2024040468
出願日
2024-03-14
発明の名称
投影光学系
出願人
株式会社小糸製作所
代理人
弁理士法人シリウスIP
,
個人
主分類
F21S
41/26 20180101AFI20250919BHJP(照明)
要約
【課題】複数のレンズで所望の複数の配光パターンを形成できる新たな投影光学系を提供する。
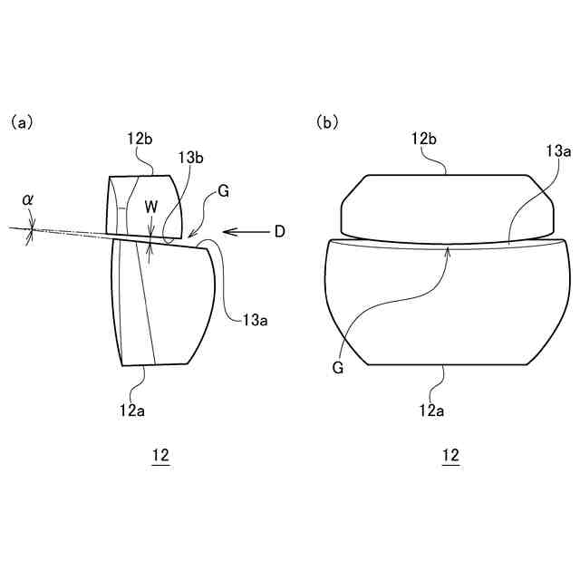
【解決手段】投影光学系は、第1の光源から出射された第1の光を車両前方の水平線より下方の第1の領域に投影する第1のレンズと、第2の光源から出射された第2の光を第1の領域の上方に隣接する第2の領域に投影する第2のレンズと、を備える。第2のレンズは、第1のレンズと隙間Gができるように該第1のレンズの上方に配置されている。
【選択図】図11
特許請求の範囲
【請求項1】
第1の光源から出射された第1の光を車両前方の水平線より下方の第1の領域に投影する第1のレンズと、
第2の光源から出射された第2の光を前記第1の領域の上方に隣接する第2の領域に投影する第2のレンズと、を備え、
前記第2のレンズは、前記第1のレンズと隙間ができるように該第1のレンズの上方に配置されていることを特徴とする投影光学系。
続きを表示(約 540 文字)
【請求項2】
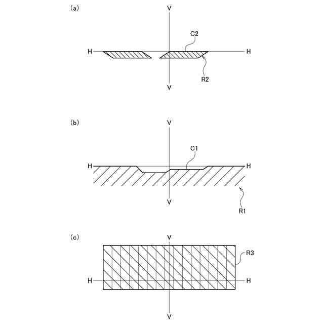
前記隙間は、前記第1のレンズの上面と前記第2のレンズの下面とが対向する長手領域に形成されていることを特徴とする請求項1に記載の投影光学系。
【請求項3】
前記第1のレンズ及び前記第2のレンズを車両前後方向と交差する側方から見た場合、前記第1のレンズの上面は車両前方に向かって下がる傾斜面であり、前記第2のレンズの下面は車両前方に向かって下がる傾斜面であることを特徴とする請求項2に記載の投影光学系。
【請求項4】
前記第1のレンズ及び前記第2のレンズを車両前後方向と交差する側方から見た場合、前記第1のレンズの上面と前記第2のレンズの下面とが成す角は5°以下であることを特徴とする請求項3に記載の投影光学系。
【請求項5】
車両前方から見た正面視において見える前記隙間の上下方向の幅が3mm以下であることを特徴とする請求項1乃至4のいずれか1項に記載の投影光学系。
【請求項6】
前記第1のレンズは、複数の発光素子がアレイ状に配置されている第3の光源から出射された第3の光を車両前方の水平線より上方の第3の領域に投影することを特徴とする請求項1乃至4のいずれか1項に記載の投影光学系。
発明の詳細な説明
【技術分野】
【0001】
本発明は、車両用灯具に用いられる投影光学系に関する。
続きを表示(約 1,300 文字)
【背景技術】
【0002】
従来、ロービーム用配光パターンを形成する光を出射する第1光源と、第1光源より下方に位置し、第1光源から出射する光とによってハイビーム用配光パターンを形成する光を出射する第2光源と、第1光源及び第2光源が搭載される基板と、基板より前方に配置されるリフレクタユニットと、リフレクタユニットより前方に配置される投影レンズと、を備えた車両用灯具が考案されている(特許文献1参照)。この車両用灯具は、2つの光源から出射する光を用いて1つの投影レンズで前方にロービーム用配光パターンやハイビーム用配光パターンを形成するように構成されている。
【先行技術文献】
【特許文献】
【0003】
国際公開第2023/068153号
【発明の概要】
【発明が解決しようとする課題】
【0004】
ところで、ロービーム用配光パターンやハイビーム用配光パターンとは別の配光パターンを形成できる車両用前照灯を考案するために、別の配光パターンを形成する光を出射するための第3の光源が必要な場合がある。このような場合、第3の光源から出射する光を用いて前述の投影レンズで更に別の配光パターンを形成しようとすると、投影レンズの大型化や光学制御面の設計の制約が多くなる可能性がある。
【0005】
本発明はこうした状況に鑑みてなされたものであり、その例示的な目的の一つは、複数のレンズで所望の複数の配光パターンを形成できる新たな投影光学系を提供することにある。
【課題を解決するための手段】
【0006】
上記課題を解決するために、本発明のある態様の投影光学系は、第1の光源から出射された第1の光を車両前方の水平線より下方の第1の領域に投影する第1のレンズと、第2の光源から出射された第2の光を第1の領域の上方に隣接する第2の領域に投影する第2のレンズと、を備える。第2のレンズは、第1のレンズと隙間ができるように該第1のレンズの上方に配置されている。
【0007】
この態様によると、第1の光源から出射された第1の光に応じた第1のレンズの光学的な設計と、第2の光源から出射された第2の光に応じた第2のレンズの光学的な設計とを独立して行える。その結果、複数のレンズで所望の複数の配光パターンを形成できる。
【0008】
隙間は、第1のレンズの上面と第2のレンズの下面とが対向する長手領域に形成されていてもよい。これにより、2つのレンズを隙間を空けて上下に配置できる。
【0009】
第1のレンズ及び第2のレンズを車両前後方向と交差する側方から見た場合、第1のレンズの上面は車両前方に向かって下がる傾斜面であり、第2のレンズの下面は車両前方に向かって下がる傾斜面であってもよい。これにより、車両前方から第1のレンズ及び第2のレンズを見た場合、第1のレンズと第2のレンズとの隙間が見えにくくなる。
【0010】
第1のレンズ及び第2のレンズを車両前後方向と交差する側方から見た場合、第1のレンズの上面と第2のレンズの下面とが成す角は5°以下であってもよい。
(【0011】以降は省略されています)
この特許をJ-PlatPat(特許庁公式サイト)で参照する
関連特許
株式会社小糸製作所
表示灯
6日前
株式会社小糸製作所
表示灯
13日前
株式会社小糸製作所
誘導装置
6日前
株式会社小糸製作所
車両用灯具
今日
株式会社小糸製作所
水分解装置
3日前
株式会社小糸製作所
投影光学系
3日前
株式会社小糸製作所
車輌用灯具
7日前
株式会社小糸製作所
画像投影装置
14日前
株式会社小糸製作所
画像投影装置
13日前
株式会社小糸製作所
画像生成装置
22日前
株式会社小糸製作所
車両用前照灯
6日前
株式会社小糸製作所
水素発生装置
3日前
株式会社小糸製作所
車両用前照灯ユニット
7日前
株式会社小糸製作所
誘導装置及び誘導システム
6日前
株式会社小糸製作所
光学部材及び光軸調整機構
13日前
株式会社小糸製作所
ナット部材及び光軸調整機構
13日前
株式会社小糸製作所
発光素子搭載用基板および照明装置
3日前
株式会社小糸製作所
車両用灯具および車両用灯具の製造方法
6日前
株式会社小糸製作所
素子搭載基板、車両用灯具および素子搭載方法
3日前
株式会社小糸製作所
車両用灯具および車両用灯具に備えられる単一レンズ
3日前
個人
室外機器
3か月前
個人
照明システム
2か月前
個人
車載機器の通気構造
22日前
個人
気泡を用いた遊具。
5か月前
株式会社遠藤照明
照明器具
4か月前
株式会社遠藤照明
照明装置
13日前
個人
LEDライト
2か月前
能美防災株式会社
表示灯
22日前
デンカ株式会社
照明装置
3か月前
デンカ株式会社
道路用照明
3か月前
株式会社小糸製作所
投光装置
22日前
株式会社小糸製作所
投光装置
22日前
アクア株式会社
冷蔵庫
1か月前
瀧住電機工業株式会社
ダクトレール
6か月前
株式会社小糸製作所
誘導装置
6日前
株式会社小糸製作所
車両用灯具
6か月前
続きを見る
他の特許を見る