TOP
|
特許
|
意匠
|
商標
特許ウォッチ
Twitter
他の特許を見る
公開番号
2025141718
公報種別
公開特許公報(A)
公開日
2025-09-29
出願番号
2024054288
出願日
2024-03-28
発明の名称
素子搭載基板、車両用灯具および素子搭載方法
出願人
株式会社小糸製作所
代理人
弁理士法人プロウィン
主分類
H10H
20/857 20250101AFI20250919BHJP()
要約
【課題】発光素子の搭載位置ずれを抑制することが可能な素子搭載基板、車両用灯具および素子搭載方法を提供する。
【解決手段】表面(23)に設けられたランド(20a)に、ランド(20a)に対応する形状を有する電極(10a)を備えた発光素子(10)を搭載するための素子搭載基板(20)であって、ランド(20a)が複数の分割ランド(20b)を含む構成であるか、および/または電極(10a)が複数の分割電極(10b)を含む構成であることを特徴とする。
【選択図】図1
特許請求の範囲
【請求項1】
表面に設けられたランドに、前記ランドに対応する形状を有する電極を備えた発光素子を搭載するための素子搭載基板であって、
前記ランドが複数の分割ランドを含む構成であるか、および/または前記電極が複数の分割電極を含む構成であることを特徴とする素子搭載基板。
続きを表示(約 1,100 文字)
【請求項2】
請求項1に記載の素子搭載基板であって、
前記分割ランドおよび/または前記分割電極の各々は、少なくとも1辺の長さが0.2mm以下の矩形であることを特徴とする素子搭載基板。
【請求項3】
請求項1に記載の素子搭載基板であって、
前記ランドが複数の分割ランドを含みかつ前記電極が複数の分割電極を含み、
前記分割ランドは前記分割電極と略同形状を有し、
前記電極内における複数の分割電極の配置に対応させて、前記ランド内における複数の分割ランドが配置されていることを特徴とする素子搭載基板。
【請求項4】
請求項1に記載の素子搭載基板であって、
前記ランドは前記発光素子の複数の電極に対応して複数設けられていることを特徴とする素子搭載基板。
【請求項5】
請求項4に記載の素子搭載基板であって、
前記発光素子の発光領域の下部に設けられた前記分割ランドの大きさは、前記発光領域以外の領域の下部に設けられた前記分割ランドの大きさより大きいことを特徴とする素子搭載基板。
【請求項6】
請求項4に記載の素子搭載基板であって、
前記ランド内において前記分割ランドはマトリクス状に配置され、
前記ランド内において隣接する前記分割ランド間のピッチは、隣接する前記ランド間のピッチより小さいことを特徴とする素子搭載基板。
【請求項7】
請求項4に記載の素子搭載基板であって、
前記ランド内において隣接する前記分割ランド間のピッチは、前記隣接する分割ランドの対向する辺の長さの1/3程度であることを特徴とする素子搭載基板。
【請求項8】
請求項1に記載の素子搭載基板であって、
内層および裏面層の少なくとも一方により形成された連結部と、
表面層に配置された前記分割ランドの各々と前記連結部とを接続する複数の接続部と、をさらに備えることを特徴とする素子搭載基板。
【請求項9】
請求項8に記載の素子搭載基板であって、
前記接続部がビアおよびフィルドキャップの少なくとも一方であることを特徴とする素子搭載基板。
【請求項10】
請求項1に記載の素子搭載基板であって、
前記複数の分割ランドの隣接する前記分割ランド同士を、前記分割ランドの幅より狭い幅の配線パターンで接続するランド橋渡し部、および前記複数の分割電極の隣接する前記分割電極同士を、前記分割電極の幅より狭い幅の配線パターンで接続する電極橋渡し部の少なくとも一方をさらに備えることを特徴とする素子搭載基板。
(【請求項11】以降は省略されています)
発明の詳細な説明
【技術分野】
【0001】
本発明は、素子搭載基板、車両用灯具および素子搭載方法に関する。
続きを表示(約 1,600 文字)
【背景技術】
【0002】
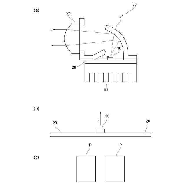
図8(a)に従来技術に係る車両用灯具の一例を示す。図8(a)に示すように車両用灯具50は、リフレクタ51、レンズ52、およびヒートシンク53を備え、ヒートシンク53上には一例として、発光素子10を搭載した素子搭載基板20が配置されている。発光素子10は、素子搭載基板20上に設けられた配線パターン(図示省略)から電力を供給されて発光し、発光光Lを放射する。発光光Lはリフレクタ51で所望の方向に反射され、レンズ52を介して外部へ放射される。
【0003】
図8(b)は素子搭載基板20の断面図を示している。素子搭載基板20の表面23上に発光素子10が搭載されている。発光素子10は、例えばアノード、およびカソードに対応する2つの電極(図示省略)を有する。一方素子搭載基板20の表面23上には配線パターン(図示省略)が形成されており、当該配線パターンの一部が発光素子10の電極に対応するランドとなっている。一般に素子搭載基板20のランドは発光素子10の電極と同様の形状とされ、ランドと電極との間に半田(図示省略)等を介在させることによって、発光素子10が素子搭載基板20上に固定される。図8(c)に素子搭載基板20のランドのパターンPの一例を示す。発光素子10の電極のパターンもパターンPと同様のパターンとされている。
【0004】
上記のような車両用灯具および素子搭載基板の従来技術として、例えば特許文献1に開示された車両用灯具および素子搭載基板が知られている。
【先行技術文献】
【特許文献】
【0005】
特開2018-73762号公報
【発明の概要】
【発明が解決しようとする課題】
【0006】
ここで、図8(a)に示すような車両用灯具50では、発光素子10の搭載位置のずれ(主として素子搭載基板20の表面23内における位置のずれ)が車両用灯具50の配光特性に大きく影響する場合がある。発光素子10の搭載位置が設計値からずれると発光光Lのリフレクタ51への入射位置がずれ、その結果反射された発光光Lは設計値とは異なる角度でレンズ52に入射する。そのため配光特性が設計値からずれるのである。
【0007】
車両用灯具50、あるいは一般に発光素子ユニットの小型化、低コスト化が進む中で、配光設計の難易度は格段に高くなりつつある。すなわち低コストで小型化するためには、限られた発光素子10の発光出力を有効に活用して、効率よく配光制御する必要がある。換言すれば所定の余裕度をもつ配光性能を得るためには、発光素子10の搭載位置のずれを可能な限り小さくする必要がある。さらに発光素子10の搭載位置のずれを小さくすることは、他の部品(リフレクタ51、レンズ52等)の製造上の公差緩和等にも寄与する。
【0008】
そこで本発明は、上記従来の問題点に鑑みなされたものであり、発光素子の搭載位置ずれを抑制することが可能な素子搭載基板、車両用灯具および素子搭載方法を提供することを目的とする。
【課題を解決するための手段】
【0009】
上記課題を解決するために、本発明の素子搭載基板は、表面に設けられたランドに、前記ランドに対応する形状を有する電極を備えた発光素子を搭載するための素子搭載基板であって、前記ランドが複数の分割ランドを含む構成であるか、および/または前記電極が複数の分割電極を含む構成であることを特徴とする。
【0010】
このような本発明の素子搭載基板では、ランドが発光素子の電極に対応する形状を有し、さらにランドが複数の分割ランドを含む、および/または電極が複数の分割電極を含む。その結果、発光素子を素子搭載基板に搭載する場合において、当該発光素子の搭載位置ずれを抑制することが可能となる。
(【0011】以降は省略されています)
この特許をJ-PlatPat(特許庁公式サイト)で参照する
関連特許
株式会社小糸製作所
車両用灯具
今日
エイブリック株式会社
半導体装置
1か月前
エイブリック株式会社
半導体装置
今日
富士電機株式会社
半導体装置
3日前
富士電機株式会社
半導体装置
21日前
国立大学法人 和歌山大学
光検出器
1か月前
AGC株式会社
太陽電池モジュール
6日前
三菱電機株式会社
半導体装置
1か月前
ミツミ電機株式会社
半導体装置
今日
株式会社半導体エネルギー研究所
半導体装置
22日前
株式会社半導体エネルギー研究所
半導体装置
1か月前
日亜化学工業株式会社
発光装置
21日前
株式会社半導体エネルギー研究所
半導体装置
1か月前
キヤノン株式会社
有機発光素子
13日前
日亜化学工業株式会社
発光素子
1日前
株式会社半導体エネルギー研究所
発光デバイス
1か月前
ローム株式会社
窒化物半導体装置
27日前
ローム株式会社
窒化物半導体装置
21日前
ローム株式会社
半導体装置
1日前
ローム株式会社
TVSダイオード
1日前
ローム株式会社
TVSダイオード
1日前
株式会社東芝
熱電変換装置
1日前
住友電気工業株式会社
半導体装置
13日前
TDK株式会社
光検知装置
今日
住友電気工業株式会社
半導体装置
13日前
株式会社カネカ
太陽電池モジュール
1日前
日亜化学工業株式会社
発光素子
24日前
個人
半導体装置
23日前
株式会社カネカ
太陽光発電システム
22日前
三菱電機株式会社
半導体装置
7日前
キオクシア株式会社
磁気メモリ
1か月前
国立大学法人東京科学大学
半導体装置
22日前
キオクシア株式会社
半導体装置
7日前
東芝ライテック株式会社
発光モジュール
3日前
日亜化学工業株式会社
光源及び基板
13日前
株式会社東芝
電子回路及び計算装置
15日前
続きを見る
他の特許を見る