TOP
|
特許
|
意匠
|
商標
特許ウォッチ
Twitter
他の特許を見る
10個以上の画像は省略されています。
公開番号
2025140747
公報種別
公開特許公報(A)
公開日
2025-09-29
出願番号
2024040312
出願日
2024-03-14
発明の名称
車両用灯具および車両用灯具に備えられる単一レンズ
出願人
株式会社小糸製作所
代理人
弁理士法人あお葉国際特許事務所
主分類
F21S
41/275 20180101AFI20250919BHJP(照明)
要約
【課題】複数の配光部を有する単一レンズを備える車両用灯具、および該単一レンズの、点灯時の見栄えを向上させる。
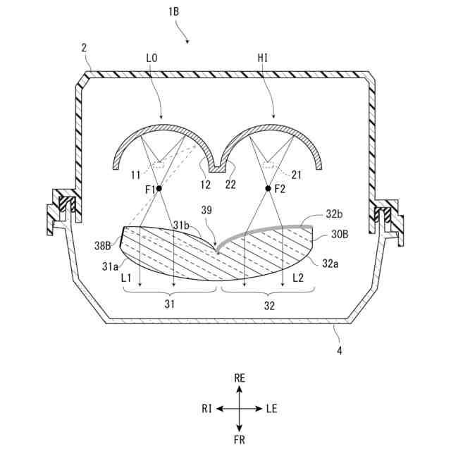
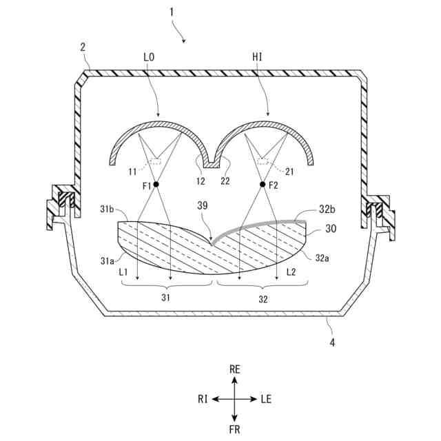
【解決手段】第1光源11と、第2光源21と、主として第1光源11から出射した光を入射して、第1配光に形成して出射する第1配光部31と、主として第2光源21から出射した光を入射して、第2配光に形成して出射する第2配光部32と、を有する単一のレンズ30を備え、第1光源11は、単独または第2光源21と協働で用いられ、第2配光部32の入射面または出射面には、光を拡散させる表面加工が施されているように車両用灯具を構成した。これにより、第1光源11のみが点灯した場合でも、第2配光部32に入り込んだ光が第2配光部32の出射面または入射面で拡散されて、第2配光部32も光って見え、点灯時の見栄えが向上する。
【選択図】図2
特許請求の範囲
【請求項1】
第1光源と、
第2光源と、
主として前記第1光源から出射した光を入射して、第1配光に形成して出射する第1配光部と、主として前記第2光源から出射した光を入射して、第2配光に形成して出射する第2配光部と、を有する単一のレンズと、
を備え、
前記第1光源は、単独または前記第2光源と協働で用いられ、前記第2配光部の入射面または出射面には、光を拡散させる表面加工が施されている、
ことを特徴とする車両用灯具。
続きを表示(約 570 文字)
【請求項2】
前記第1光源から出射した光の一部を入射する光学部材を有し、
前記光学部材は、入射した光を主として前記第2配光部に向けて出射するように構成される、
ことを特徴とする請求項1に記載の車両用灯具。
【請求項3】
前記第1配光部には、入射した光の一部を前記第2配光部の出射面に向けて反射させる反射部が設けられている、
ことを特徴とする請求項1または請求項2に記載の車両用灯具。
【請求項4】
前記第1配光はロービーム配光であり、前記第2配光はハイビーム配光である、
ことを特徴とする請求項1に記載の車両用灯具。
【請求項5】
前記レンズには、前記第1配光部と前記第2配光部が交互に3以上設けられている、
ことを特徴とする請求項1に記載の車両用灯具。
【請求項6】
主として第1光源によって照射された光を入射して第1配光として出射する第1配光部と、主として第2光源によって照射された光を入射して第2配光として出射する第2配光部と、を有し、
前記第1配光部または前記第2配光部のいずれか一方の、光入射面または光出射面の全面に、光を拡散させる表面加工が施されている、
ことを特徴とする車両用灯具に備えられる単一レンズ。
発明の詳細な説明
【技術分野】
【0001】
本発明は、複数の配光部を有する単一レンズを備える車両用灯具、および該単一レンズに関する。
続きを表示(約 1,300 文字)
【背景技術】
【0002】
ハイビーム用ランプユニットとロービーム用ランプユニットのように、2以上のランプユニットを備える車両用灯具においては、灯具の大型化を避けるため、複数のランプユニットのレンズを共有化させて単一のレンズのみを用いる場合がある(例えば特許文献1)。
【0003】
特許文献1では、第1ランプユニットと第2ランプユニットの二つのランプユニットと、両ランプユニットに共有の単一のレンズを備え、単一レンズは、第1ランプユニットに用いられる第1配光部と、第2ランプユニットに用いられる第2配光部の両方を有する。
【先行技術文献】
【特許文献】
【0004】
特開2017-91876号
【発明の概要】
【発明が解決しようとする課題】
【0005】
しかし、上記の構成の車両用灯具では、第1ランプユニットのみが使用される場合、レンズの第1配光部のみが点灯して見え、第2配光部は非点灯のように見えてしまう。これにより、故障ではないのに、故障をしている(不灯故障)と勘違いされることがある。複数のランプユニットがそれぞれレンズを有する場合には、それぞれのレンズが全領域で点灯/非点灯であることから、不灯故障のように見える問題は発生しない。すなわち、このように複数の配光部を有する単一レンズでは、一方のランプユニットのみが点灯するときにレンズの一部領域が非点灯にみえるという、点灯時の見栄えの問題がある。
【0006】
本発明は、これに鑑みてなされたものであり、複数の配光部を有する単一レンズにおける点灯時の見栄えを向上させた車両用灯具を提供する。
【課題を解決するための手段】
【0007】
上記問題を解決するため、第1の態様においては、第1光源と、第2光源と、主として前記第1光源から出射した光を入射して、第1配光に形成して出射する第1配光部と、主として前記第2光源から出射した光を入射して、第2配光に形成して出射する第2配光部と、を有する単一のレンズと、を備え、前記第1光源は、単独または前記第2光源と協働で用いられ、前記第2配光部の入射面または出射面には、光を拡散させる表面加工が施されているように車両用灯具を構成した。
【0008】
また第2の態様として、第1の態様において、前記第1光源から出射した光の一部を入射する光学部材を有し、前記光学部材は、入射した光を主として前記第2配光部に向けて出射するように構成される、ように構成した。
【0009】
また第3の態様として、第1または第2の態様において、前記第1配光部には、入射した光の一部を前記第2配光部の出射面に向けて反射させる反射部が設けられているように構成した。
【0010】
また第4の態様として、第1~第3のいずれかの態様において、前記第1配光はロービーム配光であり、前記第2配光はハイビーム配光であるように構成した。
また第5の態様として、第1~第4のいずれかの態様においては、前記レンズには、前記第1配光部と前記第2配光部が交互に3以上設けられているものとした。
(【0011】以降は省略されています)
この特許をJ-PlatPat(特許庁公式サイト)で参照する
関連特許
株式会社小糸製作所
表示用灯具
7日前
株式会社小糸製作所
車両用灯具
3日前
株式会社小糸製作所
車両用灯具
今日
株式会社小糸製作所
車両用灯具
1日前
株式会社小糸製作所
車両用灯具
今日
株式会社小糸製作所
車両用灯具
3日前
株式会社小糸製作所
照明表示装置
今日
株式会社小糸製作所
表示システム
2日前
株式会社小糸製作所
虚像表示装置
2日前
株式会社小糸製作所
表示制御装置及び表示装置
2日前
株式会社小糸製作所
電子ユニット及び車両用灯具
今日
株式会社小糸製作所
車両用灯具及び車両用灯具の製造方法
今日
株式会社小糸製作所
開閉機構、車両用灯具及び車両用前照灯
今日
株式会社小糸製作所
車両用灯具、ハウジング及びハウジングの製造方法
今日
株式会社小糸製作所
光源ユニット、光源ユニットの製造方法、および車両用灯具
1日前
株式会社小糸製作所
配光制御装置、配光制御プログラムおよび車両用前照灯システム
今日
株式会社小糸製作所
車両用センサ装置
3日前
株式会社小糸製作所
調整装置、調整システム、制御方法、制御プログラム、および記録媒体
7日前
個人
室外機器
3か月前
個人
照明システム
3か月前
個人
気泡を用いた遊具。
5か月前
個人
車載機器の通気構造
1か月前
株式会社遠藤照明
照明器具
4か月前
株式会社遠藤照明
照明装置
21日前
個人
LEDライト
3か月前
デンカ株式会社
照明装置
3か月前
株式会社小糸製作所
車両用灯具
3日前
能美防災株式会社
表示灯
1か月前
株式会社小糸製作所
車両用灯具
3日前
デンカ株式会社
道路用照明
3か月前
株式会社小糸製作所
投光装置
1か月前
株式会社小糸製作所
投光装置
1か月前
株式会社小糸製作所
誘導装置
14日前
スタンレー電気株式会社
照射用光源
7日前
アクア株式会社
冷蔵庫
2か月前
瀧住電機工業株式会社
ダクトレール
7か月前
続きを見る
他の特許を見る