TOP
|
特許
|
意匠
|
商標
特許ウォッチ
Twitter
他の特許を見る
10個以上の画像は省略されています。
公開番号
2025141274
公報種別
公開特許公報(A)
公開日
2025-09-29
出願番号
2024041143
出願日
2024-03-15
発明の名称
発光素子搭載用基板および照明装置
出願人
株式会社小糸製作所
代理人
弁理士法人プロウィン
主分類
F21V
19/00 20060101AFI20250919BHJP(照明)
要約
【課題】多層の回路基板を用いても、放熱部材への位置決め精度を高めることが可能な発光素子搭載用基板および照明装置を提供する。
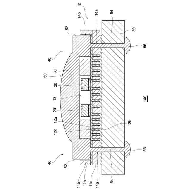
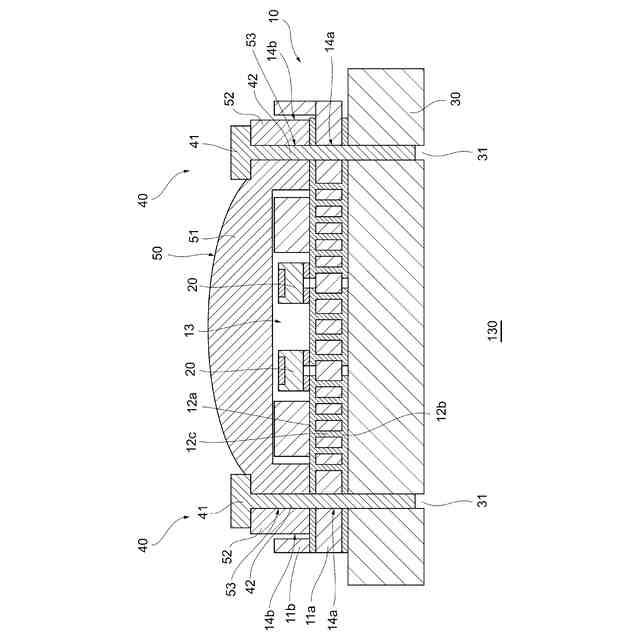
【解決手段】搭載面の搭載領域に発光素子(20)を搭載する素子搭載層(11a)と、素子搭載層(11a)上に積層され搭載領域に対応する位置に形成された開口部(13)を有する基板上層(11b)とを有し、素子搭載層(11a)には上面から裏面に貫通した基準孔(14a)が設けられており、基板上層(11b)には基準孔(14a)よりも直径の大きな締結用孔(14b)が設けられている発光素子搭載用基板(10)。
【選択図】図1
特許請求の範囲
【請求項1】
搭載面の搭載領域に発光素子を搭載する素子搭載層と、
前記素子搭載層上に積層され、前記搭載領域に対応する位置に形成された開口部を有する基板上層とを有し、
前記素子搭載層には、上面から裏面に貫通した基準孔が設けられており、
前記基板上層には、前記基準孔よりも直径の大きな締結用孔が設けられていることを特徴とする発光素子搭載用基板。
続きを表示(約 990 文字)
【請求項2】
請求項1に記載の発光素子搭載用基板であって、
前記基準孔は、平面視において前記締結用孔の直径内に位置していることを特徴とする発光素子搭載用基板。
【請求項3】
請求項1に記載の発光素子搭載用基板であって、
前記締結用孔の直径は、前記基準孔の直径よりも0.3mm以上大きいことを特徴とする発光素子搭載用基板。
【請求項4】
請求項1に記載の発光素子搭載用基板であって、
前記素子搭載層には、前記搭載領域において前記搭載面から前記裏面側に貫通したスルーホール配線が設けられていることを特徴とする発光素子搭載用基板。
【請求項5】
請求項4に記載の回路基板であって、
前記スルーホール配線は、内部に放熱材料が充填されていることを特徴とする発光素子搭載用基板。
【請求項6】
請求項1に記載の発光素子搭載用基板であって、
前記素子搭載層は、前記搭載面と前記裏面を有する基板下層と、前記基板下層の前記搭載面に積層された基板中間層を有し、
前記基板中間層は、前記搭載領域に対応する位置に前記開口部が形成されており、
前記基準孔は、前記基板中間層に設けられていることを特徴とする発光素子搭載用基板。
【請求項7】
請求項1から6の何れか一つに記載の発光素子搭載用基板と、
前記裏面側に配置される放熱部を有し、
前記発光素子搭載用基板と前記放熱部は、前記締結用孔に挿入された締結部材で締結されたことを特徴とする照明装置。
【請求項8】
請求項7に記載された照明装置であって、
前記締結部材は、前記放熱部に設けられたネジ孔に螺合される螺合部材であることを特徴とする照明装置。
【請求項9】
請求項7に記載された照明装置であって、
前記締結部材は、前記放熱部に設けられた締結部に挿入されるカシメ部材であることを特徴とする照明装置。
【請求項10】
請求項7に記載された照明装置であって、
前記放熱部に位置決めピンが設けられており、前記基準孔に前記位置決めピンが挿入されて、前記放熱部が前記発光素子搭載用基板に位置決めされていることを特徴とする照明装置。
発明の詳細な説明
【技術分野】
【0001】
本発明は、発光素子搭載用基板および照明装置に関する。
続きを表示(約 1,300 文字)
【背景技術】
【0002】
近年、車両用灯具の光源として発光ダイオード(LED:Light Emitting Diode)を用いるものが普及してきている。また、車両用灯具に用いられる照明装置として、複数のLEDを回路基板上に複数配列して、所望の輝度と配光パターンで光を照射することも提案されている(特許文献1等を参照)。
【0003】
一般的に、LEDは発光に伴う発熱で温度が上昇し、発光波長が変化することや発光効率が低下することが知られている。よって大光量を照射する前照灯などでは、LEDで生じた熱を良好に外部に放熱し、温度上昇を抑制することが重要である。また、絶縁性材料で構成された回路基板にスルーホール配線と放熱用配線を形成し、LEDからの熱を良好に裏面側の放熱用配線に伝達し、放熱用配線に接触させた放熱部材から放熱することも提案されている。
【先行技術文献】
【特許文献】
【0004】
特開2018-073762号公報
【発明の概要】
【発明が解決しようとする課題】
【0005】
従来の照明装置では、複数の層を積層した回路基板を用い、上層に設けられた開口部内にLEDを搭載することも提案されている。このような従来の照明装置では、複数の層で配線層を形成することができるとともに、LEDを搭載する開口部内の厚さを小さくして、回路基板の裏面側に配置した放熱部材からの放熱性を確保することができる。
【0006】
また、回路基板に設けられた締結孔に締結部材を挿入して、回路基板と放熱部材を締結することで、回路基板と放熱部材の熱的な接触を確保することも提案されている。しかし、回路基板を複数層で形成する場合には、各層にそれぞれ形成された締結孔の位置合わせ精度を確保することが困難であるという問題があった。
【0007】
そこで本発明は、上記従来の問題点に鑑みなされたものであり、多層の回路基板を用いても、放熱部材への位置決め精度を高めることが可能な発光素子搭載用基板および照明装置を提供することを目的とする。
【課題を解決するための手段】
【0008】
上記課題を解決するために、本発明の発光素子搭載用基板は、搭載面の搭載領域に発光素子を搭載する素子搭載層と、前記素子搭載層上に積層され、前記搭載領域に対応する位置に形成された開口部を有する基板上層とを有し、前記素子搭載層には、上面から裏面に貫通した基準孔が設けられており、前記基板上層には、前記基準孔よりも直径の大きな締結用孔が設けられていることを特徴とする。
【0009】
このような本発明の発光素子搭載用基板では、素子搭載層には上面から裏面に貫通した基準孔が設けられており、基板上層に設けられた締結用孔は直径が基準孔より大きいため、発光素子搭載用基板を多層で構成しても、放熱部材への位置決め精度を高めることが可能となる。
【0010】
また、本発明の一態様では、前記基準孔は、平面視において前記締結用孔の直径内に位置している。
(【0011】以降は省略されています)
この特許をJ-PlatPat(特許庁公式サイト)で参照する
関連特許
株式会社小糸製作所
表示灯
9日前
株式会社小糸製作所
表示灯
16日前
株式会社小糸製作所
投光装置
25日前
株式会社小糸製作所
投光装置
25日前
株式会社小糸製作所
誘導装置
9日前
株式会社小糸製作所
照明装置
26日前
株式会社小糸製作所
照明装置
26日前
株式会社小糸製作所
表示用灯具
2日前
株式会社小糸製作所
表示用灯具
2日前
株式会社小糸製作所
車両用灯具
3日前
株式会社小糸製作所
車輌用灯具
1か月前
株式会社小糸製作所
車両用灯具
1か月前
株式会社小糸製作所
水分解装置
6日前
株式会社小糸製作所
投影光学系
6日前
株式会社小糸製作所
車両用灯具
1か月前
株式会社小糸製作所
車輌用灯具
10日前
株式会社小糸製作所
車輌用前照灯
1か月前
株式会社小糸製作所
画像照射装置
1か月前
株式会社小糸製作所
画像生成装置
25日前
株式会社小糸製作所
画像投影装置
17日前
株式会社小糸製作所
画像投影装置
16日前
株式会社小糸製作所
水素発生装置
6日前
株式会社小糸製作所
車両用前照灯
9日前
株式会社小糸製作所
移動体検出装置
27日前
株式会社小糸製作所
車両検出システム
27日前
株式会社小糸製作所
車両用前照灯ユニット
10日前
株式会社小糸製作所
回路基板および照明装置
1か月前
株式会社小糸製作所
光学部材及び光軸調整機構
16日前
株式会社小糸製作所
投光器、および、測定装置
1か月前
株式会社小糸製作所
誘導装置及び誘導システム
9日前
株式会社小糸製作所
ナット部材及び光軸調整機構
16日前
株式会社小糸製作所
DDS用担持体およびその製造方法
1か月前
株式会社小糸製作所
発光素子搭載用基板および照明装置
6日前
株式会社小糸製作所
画像投影ユニットおよび画像投影装置
1か月前
株式会社小糸製作所
車両用灯具および車両用灯具の製造方法
9日前
株式会社小糸製作所
素子搭載基板、車両用灯具および素子搭載方法
6日前
続きを見る
他の特許を見る