TOP
|
特許
|
意匠
|
商標
特許ウォッチ
Twitter
他の特許を見る
10個以上の画像は省略されています。
公開番号
2025141023
公報種別
公開特許公報(A)
公開日
2025-09-29
出願番号
2024040736
出願日
2024-03-15
発明の名称
テストパターン、撮像制御プログラム、及び、印刷システム
出願人
セイコーエプソン株式会社
代理人
個人
主分類
B41J
29/393 20060101AFI20250919BHJP(印刷;線画機;タイプライター;スタンプ)
要約
【課題】撮像画像に生じる周辺減光による印刷濃度の調整値の誤差を少なくさせる。
【解決手段】記録ヘッドを備える印刷装置の印刷特性を調整するため情報端末の撮像部による撮像に用いられるテストパターンであって、前記印刷特性として印刷濃度を調整するための濃度パターンが前記テストパターンの撮像対象領域に含まれ、前記撮像対象領域に対する前記濃度パターンの配置領域は、前記撮像対象領域の中心と、該中心を通る直線と、の少なくとも一方を基準として対称である、テストパターン。
【選択図】図3
特許請求の範囲
【請求項1】
記録ヘッドを備える印刷装置の印刷特性を調整するため情報端末の撮像部による撮像に用いられるテストパターンであって、
前記印刷特性として印刷濃度を調整するための濃度パターンが前記テストパターンの撮像対象領域に含まれ、
前記撮像対象領域に対する前記濃度パターンの配置領域は、前記撮像対象領域の中心と、該中心を通る直線と、の少なくとも一方を基準として対称である、テストパターン。
続きを表示(約 1,700 文字)
【請求項2】
前記撮像対象領域が長方形であり、
前記テストパターンは、前記撮像対象領域の四隅にそれぞれ位置検出パターンを有し、
前記直線は、前記長方形の辺に沿った向きの対称軸であり、
前記撮像対象領域に対する前記濃度パターンの前記配置領域は、前記対称軸を基準として線対称である、請求項1に記載のテストパターン。
【請求項3】
前記濃度パターンが複数有り、
前記複数の濃度パターンは、互いに同形状の第一パターン及び第二パターンを含み、
前記第一パターンの配置領域と前記第二パターンの配置領域とは、前記中心と前記直線との少なくとも一方を基準として対称である、請求項1又は請求項2に記載のテストパターン。
【請求項4】
前記撮像対象領域において前記濃度パターンが前記中心を含む位置にあり、該濃度パターンの配置領域が前記中心と前記直線との少なくとも一方を基準として対称である、請求項1又は請求項2に記載のテストパターン。
【請求項5】
前記撮像対象領域が長辺と短辺を有する長方形であり、
前記直線は、前記短辺に沿った向きの対称軸であり、
前記撮像対象領域に対する前記濃度パターンの前記配置領域が前記対称軸を基準として線対称である、請求項1に記載のテストパターン。
【請求項6】
前記テストパターンは、前記長辺が上下に向いた状態で前記撮像部による前記撮像が行われるように前記撮像の向きを示す撮像方向表示パターンを有する、請求項5に記載のテストパターン。
【請求項7】
記録ヘッドを備える印刷装置の印刷特性を調整するためのテストパターンを撮像部に撮像させるための撮像制御プログラムであって、
前記テストパターンの撮像対象領域には、前記印刷特性として印刷濃度を調整するための濃度パターンが含まれ、
前記撮像対象領域に対する前記濃度パターンの配置領域は、前記撮像対象領域の中心と、該中心を通る直線と、の少なくとも一方を基準として対称であり、
前記撮像制御プログラムは、
前記撮像部の画角における所定の中心領域に前記撮像対象領域の前記中心が入っている条件を少なくとも含む撮像条件が満たされたか否かを判断する判断機能と、
前記撮像条件が満たされたことをトリガーとして前記撮像対象領域の撮像を前記撮像部に実行させることにより撮像画像を取得する撮像制御機能と、をコンピューターに実現させる、撮像制御プログラム。
【請求項8】
記録ヘッドを含む印刷装置と、該印刷装置の印刷特性を調整するためのテストパターンを撮像する情報端末と、を備える印刷システムであって、
前記テストパターンの撮像対象領域には、前記印刷特性として印刷濃度を調整するための濃度パターンが含まれ、
前記撮像対象領域に対する前記濃度パターンの配置領域は、前記撮像対象領域の中心と、該中心を通る直線と、の少なくとも一方を基準として対称であり、
前記情報端末は、
撮像部と、
前記撮像部から得られる撮像画像を格納するためのメモリーを含み、前記撮像対象領域の撮像を前記撮像部に実行させる制御部と、を備え、
前記制御部は、前記撮像部の画角における所定の中心領域に前記撮像対象領域の前記中心が入っている条件を少なくとも含む撮像条件が満たされたか否かを判断し、前記撮像条件が満たされたことをトリガーとして前記撮像対象領域の撮像を前記撮像部に実行させることにより前記撮像画像を取得する、印刷システム。
【請求項9】
前記濃度パターンは、互いに配置領域が前記中心と前記直線との少なくとも一方を基準として対称である第一パターン部及び第二パターン部を含み、
前記印刷システムは、前記撮像画像に含まれる前記第一パターン部から得られる第一の値と、前記撮像画像に含まれる前記第二パターン部から得られる第二の値と、の平均値に基づいて、前記印刷濃度の調整値を決定する、請求項8に記載の印刷システム。
発明の詳細な説明
【技術分野】
【0001】
本発明は、印刷特性調整用のテストパターン、該テストパターンを撮像するための撮像制御プログラム、及び、印刷システムに関する。
続きを表示(約 2,400 文字)
【背景技術】
【0002】
インクジェットプリンター等の印刷装置の印刷特性を調整するためのテストパターンをスキャナーに読み取らせることが行われている。
特許文献1には、プリンターが印刷したカラーマッチング用のテストパターンをデジタルカメラで撮影することにより印刷補正テーブルを作成する画像印刷システムが開示されている。この文献には、デジタルカメラに自動ズーム機能が備えられている場合に、レンズ周辺光量が問題とならないレベルになる位置に自動的にズームしてから撮影することが記載されている。
【先行技術文献】
【特許文献】
【0003】
特開2005-136603号公報
【発明の概要】
【発明が解決しようとする課題】
【0004】
撮像画像には、レンズの構造により周辺減光が生じることがある。特に、撮像にスマートフォンといった薄い情報端末を用いる場合、撮像部の収容スペースが限られることから、周辺減光が生じ易い。尚、周辺減光が問題とならないレベルまでズームが行われると、テストパターン全体を一度に撮像することができず、多くの回数、テストパターンの撮像が必要となる。このため、印刷濃度の調整に時間がかかり、撮像画像を格納するために多くのメモリーが必要となる。
【課題を解決するための手段】
【0005】
本発明のテストパターンは、記録ヘッドを備える印刷装置の印刷特性を調整するため情報端末の撮像部による撮像に用いられるテストパターンであって、
前記印刷特性として印刷濃度を調整するための濃度パターンが前記テストパターンの撮像対象領域に含まれ、
前記撮像対象領域に対する前記濃度パターンの配置領域は、前記撮像対象領域の中心と、該中心を通る直線と、の少なくとも一方を基準として対称である、態様を有する。
【0006】
また、本発明の撮像制御プログラムは、記録ヘッドを備える印刷装置の印刷特性を調整するためのテストパターンを撮像部に撮像させるための撮像制御プログラムであって、
前記テストパターンの撮像対象領域には、前記印刷特性として印刷濃度を調整するための濃度パターンが含まれ、
前記撮像対象領域に対する前記濃度パターンの配置領域は、前記撮像対象領域の中心と、該中心を通る直線と、の少なくとも一方を基準として対称であり、
前記撮像制御プログラムは、
前記撮像部の画角における所定の中心領域に前記撮像対象領域の前記中心が入っている条件を少なくとも含む撮像条件が満たされたか否かを判断する判断機能と、
前記撮像条件が満たされたことをトリガーとして前記撮像対象領域の撮像を前記撮像部に実行させることにより撮像画像を取得する撮像制御機能と、をコンピューターに実現させる、態様を有する。
【0007】
さらに、本発明の印刷システムは、記録ヘッドを含む印刷装置と、該印刷装置の印刷特性を調整するためのテストパターンを撮像する情報端末と、を備える印刷システムであって、
前記テストパターンの撮像対象領域には、前記印刷特性として印刷濃度を調整するための濃度パターンが含まれ、
前記撮像対象領域に対する前記濃度パターンの配置領域は、前記撮像対象領域の中心と、該中心を通る直線と、の少なくとも一方を基準として対称であり、
前記情報端末は、
撮像部と、
前記撮像部から得られる撮像画像を格納するためのメモリーを含み、前記撮像対象領域の撮像を前記撮像部に実行させる制御部と、を備え、
前記制御部は、前記撮像部の画角における所定の中心領域に前記撮像対象領域の前記中心が入っている条件を少なくとも含む撮像条件が満たされたか否かを判断し、前記撮像条件が満たされたことをトリガーとして前記撮像対象領域の撮像を前記撮像部に実行させることにより前記撮像画像を取得する、態様を有する。
【図面の簡単な説明】
【0008】
印刷システムの例を模式的に示す図。
印刷システムの構成例を模式的に示す図。
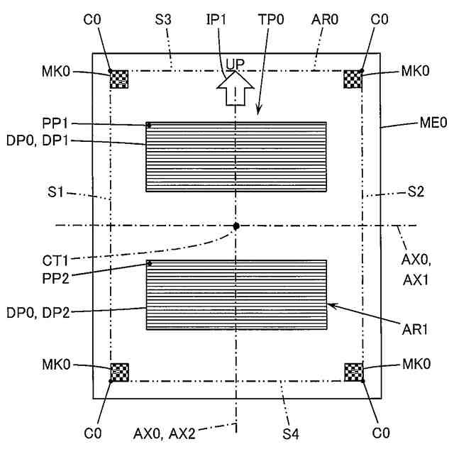
テストパターンの例を模式的に示す図。
図4A~4Cはテストパターンの別の例を模式的に示す図。
シリアル型の印刷装置における記録ヘッドと濃度パターンの例を模式的に示す図。
撮像時の情報端末の動作例を模式的に示す図。
テストパターンの撮像画像、及び、濃度パターンから得られる濃度値の例を模式的に示す図。
撮像制御処理の例を模式的に示すフローチャート。
画角の中心領域に撮像対象領域の中心が入っている条件が満たされるか否かの例を模式的に示す図。
調整処理の例を模式的に示すフローチャート。
調整値G3iを取得する例を模式的に示す図。
【発明を実施するための形態】
【0009】
以下、本発明の実施形態を説明する。むろん、以下の実施形態は本発明を例示するものに過ぎず、実施形態に示す特徴の全てが発明の解決手段に必須になるとは限らない。
【0010】
(1)本発明に含まれる態様の概要:
まず、図1~11に示される例を参照して本発明に含まれる態様の概要を説明する。尚、本願の図は模式的に例を示す図であり、これらの図に示される各方向の拡大率は異なることがあり、各図は整合していないことがある。むろん、本態様の各要素は、符号で示される具体例に限定されない。「本発明に含まれる態様の概要」において、括弧内は直前の語の補足説明を意味する。
(【0011】以降は省略されています)
この特許をJ-PlatPat(特許庁公式サイト)で参照する
関連特許
セイコーエプソン株式会社
振動デバイス
今日
セイコーエプソン株式会社
遠隔監視装置
1日前
セイコーエプソン株式会社
成形品の製造方法
今日
セイコーエプソン株式会社
処理液および記録方法
今日
セイコーエプソン株式会社
プログラム及び通信方法
今日
セイコーエプソン株式会社
電子機器および表示装置
今日
セイコーエプソン株式会社
投写レンズ及び投写装置
今日
セイコーエプソン株式会社
液体吐出ヘッドの製造方法
今日
セイコーエプソン株式会社
液体吐出ヘッドの製造方法
今日
セイコーエプソン株式会社
液体吐出ヘッドの製造方法
今日
セイコーエプソン株式会社
給紙ユニット、及び印刷装置
今日
セイコーエプソン株式会社
給紙ユニット、及び印刷装置
今日
セイコーエプソン株式会社
粘着層形成方法および印刷装置
今日
セイコーエプソン株式会社
ロボットおよびロボットシステム
今日
セイコーエプソン株式会社
物理量センサー及び慣性計測装置
今日
セイコーエプソン株式会社
ロボットおよびロボットシステム
今日
セイコーエプソン株式会社
ロボットおよびロボットシステム
今日
セイコーエプソン株式会社
ロボットおよびロボットシステム
今日
セイコーエプソン株式会社
情報処理方法、及び情報処理装置
今日
セイコーエプソン株式会社
ロボットおよびロボットシステム
今日
セイコーエプソン株式会社
ロボットおよびロボットシステム
今日
セイコーエプソン株式会社
成形型および三次元造形用組成物
1日前
セイコーエプソン株式会社
ロボットおよびロボットシステム
今日
セイコーエプソン株式会社
投写装置の制御方法、及び投写装置
今日
セイコーエプソン株式会社
印刷システム、印刷装置及びプログラム
今日
セイコーエプソン株式会社
印刷装置、制御方法、及び、プログラム
今日
セイコーエプソン株式会社
三次元造形物の製造方法、及び、固定具
今日
セイコーエプソン株式会社
方法、情報処理装置、および、プログラム
今日
セイコーエプソン株式会社
搬送装置、印刷装置および粘着剤塗布方法
今日
セイコーエプソン株式会社
搬送装置、印刷装置および粘着剤塗布方法
今日
セイコーエプソン株式会社
方法、情報処理装置、および、プログラム
今日
セイコーエプソン株式会社
光学素子、光学機器、及び、プロジェクター
今日
セイコーエプソン株式会社
情報処理方法、情報処理装置及びプロジェクター
今日
セイコーエプソン株式会社
インクジェット用処理液組成物及びインクセット
1日前
セイコーエプソン株式会社
プロジェクター、およびプロジェクションシステム
今日
セイコーエプソン株式会社
プロジェクター、およびプロジェクションシステム
今日
続きを見る
他の特許を見る