TOP
|
特許
|
意匠
|
商標
特許ウォッチ
Twitter
他の特許を見る
10個以上の画像は省略されています。
公開番号
2025153217
公報種別
公開特許公報(A)
公開日
2025-10-10
出願番号
2024055570
出願日
2024-03-29
発明の名称
プロジェクター、およびプロジェクションシステム
出願人
セイコーエプソン株式会社
代理人
個人
,
個人
,
個人
主分類
G03B
21/14 20060101AFI20251002BHJP(写真;映画;光波以外の波を使用する類似技術;電子写真;ホログラフイ)
要約
【課題】プロジェクターにおいて、移動量に基づく投射画像の調整を正確に行う。
【解決手段】本発明の一つの態様のプロジェクターは、第1波長の第1光を含む可視光を射出する可視光光源装置と、不可視光を射出する不可視光光源装置と、第1光と不可視光とを合成し第1合成光とする第1光合成素子と、第1合成光を変調する第1液晶パネルと、可視光光源装置と第1光合成素子との間で第1光を透過する第1入射側偏光板と、第1液晶パネルの光射出側で第1合成光を透過する第1射出側偏光板と、第1液晶パネルから射出される第1合成光を投射する投射光学系と、を備える。
【選択図】図1
特許請求の範囲
【請求項1】
第1波長の第1光を含む可視光を射出する可視光光源装置と、
不可視光を射出する不可視光光源装置と、
前記第1光と不可視光とを合成し第1合成光とする第1光合成素子と、
前記第1合成光を変調する第1液晶パネルと、
前記可視光光源装置と前記第1光合成素子との間で前記第1光を透過する第1入射側偏光板と、
前記第1液晶パネルの光射出側で前記第1合成光を透過する第1射出側偏光板と、
前記第1液晶パネルから射出される前記第1合成光を投射する投射光学系と、
を備える、
プロジェクター。
続きを表示(約 1,300 文字)
【請求項2】
前記可視光光源装置から射出された前記可視光を、前記第1光、前記第1波長とは異なる第2波長の第2光、並びに前記第1波長および前記第2波長の両方と異なる第3波長の第3光に分離する色分離光学系と、
前記第2光を変調する第2液晶パネルと、
前記第3光を変調する第3液晶パネルと、
前記第2液晶パネルの光入射側で前記第2光を透過する第2入射側偏光板と、
前記第2液晶パネルの光射出側で前記第2光を透過する第2射出側偏光板と、
前記第3液晶パネルの光入射側で前記第3光を透過する第3入射側偏光板と、
前記第3液晶パネルの光射出側で前記第3光を透過する第3射出側偏光板と、
前記第1液晶パネルから射出される前記第1合成光、前記第2液晶パネルから射出される前記第2光、および前記第3液晶パネルから射出される前記第3光を合成し第2合成光とする第2光合成素子と、を備え、
前記投射光学系は、前記第2光合成素子から射出される前記第2合成光を投射する、
請求項1に記載のプロジェクター。
【請求項3】
前記第1光は、緑色光である、
請求項2に記載のプロジェクター。
【請求項4】
前記第1光は、赤色光であり、
前記不可視光は、赤外光である、
請求項2に記載のプロジェクター。
【請求項5】
前記第1光は、青色光であり、
前記不可視光は、赤外光である、
請求項2に記載のプロジェクター。
【請求項6】
前記第1光合成素子は、ダイクロイックミラーであり、
前記不可視光が、前記不可視光光源装置と前記第1液晶パネルとの間で透過、又は反射するダイクロイックミラーは、1枚である、
請求項1に記載のプロジェクター。
【請求項7】
前記不可視光光源装置は、前記不可視光を射出する発光ダイオード光源を有する、
請求項1に記載のプロジェクター。
【請求項8】
前記不可視光光源装置は、前記不可視光を射出するレーザー光源を有する、
請求項1に記載のプロジェクター。
【請求項9】
前記不可視光光源装置は、前記レーザー光源から射出される前記不可視光を透過して偏光を解消する偏光解消板を有する、
請求項8に記載のプロジェクター。
【請求項10】
前記偏光解消板は、
第1基板と、
前記第1基板に対向して配置された第2基板と、
前記第1基板に積層され、液晶分子の配向方位を規制する配向規制力の無い第1有機膜と、
前記第2基板に積層され、液晶分子の配向方位を規制する配向規制力の無い第2有機膜と、
前記第1有機膜と前記第2有機膜との間に配置され、前記第1有機膜および前記第2有機膜に対して、長軸方向が無秩序に向いた状態で配置される液晶分子を含む液晶層と、を有する、
請求項9に記載のプロジェクター。
(【請求項11】以降は省略されています)
発明の詳細な説明
【技術分野】
【0001】
本発明は、プロジェクター、およびプロジェクションシステムに関する。
続きを表示(約 1,900 文字)
【背景技術】
【0002】
プロジェクター等の画像表示装置では、表示対象の可視画像の制御を行うために、可視画像と、赤外画像等の不可視画像とをスクリーン上に重畳し、不可視画像から取得可能な情報に基づいて制御を行う場合がある。例えば、特許文献1には、光源から発せられる光から赤外光を分離して専用の光変調素子を介して投射画像に重畳するプロジェクターが開示されている。
【先行技術文献】
【特許文献】
【0003】
特開2008-176195号公報
【発明の概要】
【発明が解決しようとする課題】
【0004】
上述の特許文献1に開示されている装置では、不可視光の光路が可視光の光路と異なる位置に配置されている。そのため、可視光の各色光の光路上での要因による投射画像の移動やずれを、不可視光の光路上で正確に再現されず、投射画像の調整を正確に実施することが難しいという課題があった。
【課題を解決するための手段】
【0005】
上記の課題を解決するために、本発明の一つの態様のプロジェクターは、第1波長の第1光を含む可視光を射出する可視光光源装置と、不可視光を射出する不可視光光源装置と、前記第1光と不可視光とを合成し第1合成光とする第1光合成素子と、前記第1合成光を変調する第1液晶パネルと、前記可視光光源装置と前記第1光合成素子との間で前記第1光を透過する第1入射側偏光板と、前記第1液晶パネルの光射出側で前記第1合成光を透過する第1射出側偏光板と、前記第1液晶パネルから射出される前記第1合成光を投射する投射光学系と、を備える。
【0006】
本発明の一つの態様のプロジェクションシステムは、前記プロジェクターと、前記プロジェクターから投射される不可視光の投射画像を撮像する撮像装置と、を有し、前記プロジェクターは、前記投射光学系を移動させ前記投射画像の位置を変化させる移動機構と、前記撮像装置により撮像された画像を基に前記移動機構を制御する制御部と、を備える。
【0007】
本発明の一つの態様のプロジェクションシステムは、前記プロジェクターと、前記プロジェクターから投射される不可視光の投射画像を撮像する撮像装置と、を有し、前記プロジェクターは、前記撮像装置により撮像された画像を基に前記第1液晶パネルの画像表示領域において形成される画像の領域を変化させる制御部と、を備える。
【図面の簡単な説明】
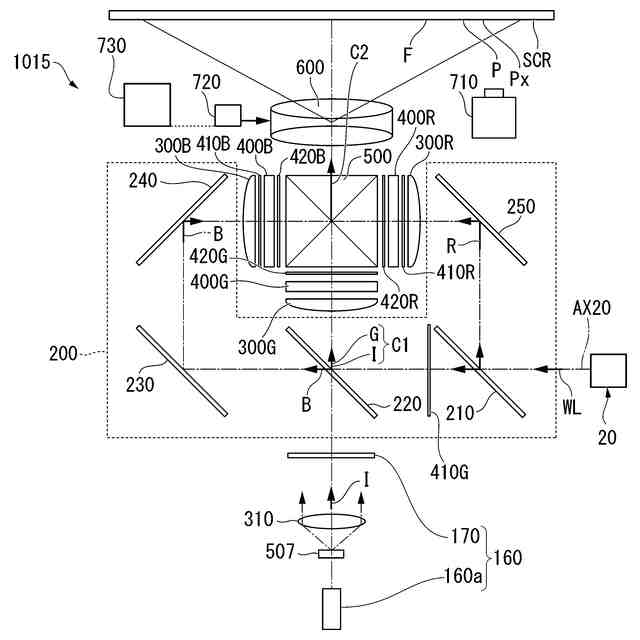
【0008】
一実施形態のプロジェクターの概略図である。
一実施形態の透光性部材の平面模式図である。
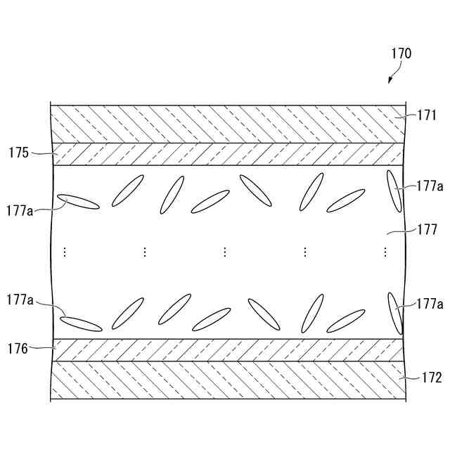
一実施形態の透光性部材の断面模式図である。
一実施形態のプロジェクターにおいて第1合成光の偏光状態を説明するための概念図である。
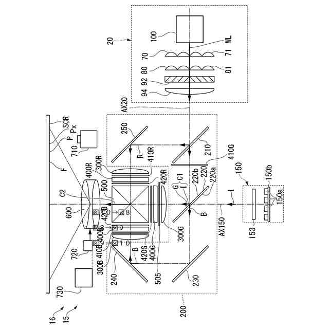
一実施形態のプロジェクターにおける投射光学系、第1液晶パネルおよび透光性部材の位置関係を説明する模式図である。
変形例1の透光性部材の平面模式図である。
変形例2のプロジェクターの概略図である。
変形例2のプロジェクターに用いられる偏光解消板の断面模式図である。
変形例2に採用可能な第1レーザー光源および第2レーザー光源の概略図である。
図9に示す発光領域から発せられる光の偏光の状態をポアンカレ球で示した図である。
変形例3のプロジェクターの概略図である。
変形例4のプロジェクターの概略図である。
変形例5のプロジェクションシステムを示す模式図であり、初期状態、又は画像の補正を行った後の投射画像を示す図である。
変形例5のプロジェクションシステムを示す模式図であり、画像の補正を行う前の投射画像を示す図である。
【発明を実施するための形態】
【0009】
以下、本発明の一実施形態について、図面に基づいて説明する。
図1は、一実施形態のプロジェクションシステム16の構成を示す概略図である。以下の各図面では、各構成要素を見やすくするため、構成要素によって寸法の縮尺を変えている場合がある。
【0010】
(プロジェクションシステム)
プロジェクションシステム16は、プロジェクター15と、撮像装置710と、を有する。プロジェクター15は、前方に配置されるスクリーンSCRに所定のパターンFを含む赤外光Iの投射画像Pxと可視光の投射画像Pとを重畳して投影する。プロジェクター15の構成については、後段において詳細に説明する。
(【0011】以降は省略されています)
この特許をJ-PlatPat(特許庁公式サイト)で参照する
関連特許
株式会社シグマ
絞りユニット
23日前
キヤノン株式会社
撮像装置
1か月前
日本精機株式会社
車両用投射装置
2日前
キヤノン株式会社
撮像装置
16日前
平和精機工業株式会社
雲台
1か月前
キヤノン株式会社
撮像装置
22日前
株式会社リコー
画像形成装置
2か月前
株式会社リコー
画像形成装置
1か月前
株式会社リコー
画像形成装置
12日前
株式会社リコー
画像形成装置
1か月前
株式会社リコー
画像形成装置
1か月前
株式会社リコー
画像形成装置
1か月前
キヤノン株式会社
画像形成装置
1か月前
株式会社オプトル
プロジェクタ
15日前
株式会社オプトル
プロジェクタ
1か月前
キヤノン株式会社
トナー
3日前
キヤノン株式会社
画像形成装置
1か月前
キヤノン株式会社
トナー
1か月前
キヤノン株式会社
トナー
8日前
ブラザー工業株式会社
再生方法
2か月前
キヤノン株式会社
画像形成装置
2か月前
キヤノン株式会社
画像形成装置
2か月前
キヤノン株式会社
画像形成装置
2か月前
キヤノン株式会社
画像形成装置
2か月前
シャープ株式会社
画像形成装置
1か月前
キヤノン株式会社
画像形成装置
1か月前
アイホン株式会社
機器の設置構造
1か月前
沖電気工業株式会社
画像形成装置
1か月前
アイホン株式会社
機器の設置構造
1か月前
株式会社シグマ
絞り機構及びレンズ鏡筒
1か月前
スタンレー電気株式会社
照明装置
4日前
キヤノン株式会社
現像装置
1日前
アイホン株式会社
カメラシステム
2日前
株式会社リコー
画像投射装置
1か月前
株式会社電気印刷研究所
静電印刷用積層体
8日前
ブラザー工業株式会社
画像形成装置
1日前
続きを見る
他の特許を見る