TOP
|
特許
|
意匠
|
商標
特許ウォッチ
Twitter
他の特許を見る
10個以上の画像は省略されています。
公開番号
2025152928
公報種別
公開特許公報(A)
公開日
2025-10-10
出願番号
2024055116
出願日
2024-03-28
発明の名称
ロボットおよびロボットシステム
出願人
セイコーエプソン株式会社
代理人
個人
,
個人
,
個人
主分類
B25J
9/06 20060101AFI20251002BHJP(手工具;可搬型動力工具;手工具用の柄;作業場設備;マニプレータ)
要約
【課題】中間プーリーの小型化を図ることのできるロボットおよびロボットシステムを提供する。
【解決手段】ロボットは、モーターの回動軸に固定された第1プーリーと、スプラインナットに固定された第2プーリーと、軸受を介して支持部材に支持され、第2アームに対して第4回動軸まわりに回動する中間プーリーと、第1プーリーと中間プーリーとに回し掛けられた第1ベルトと、中間プーリーと第2プーリーとに回し掛けられた第2ベルトと、を有し、中間プーリーは、第1ベルトが回し掛けられた第1中間プーリーと、第2ベルトが回し掛けられた第2中間プーリーと、第1中間プーリーと第2中間プーリーとを接続している軸部と、を有し、第1中間プーリーは、第2中間プーリー側の面に開口し、軸部が挿入されている凹部を有し、凹部内に軸受の少なくとも一部が位置し、第4回動軸に直交する方向からの平面視で、軸受と第1ベルトとが重なっている。
【選択図】図7
特許請求の範囲
【請求項1】
基台と、
前記基台に連結され、前記基台に対して第1回動軸まわりに回動する第1アームと、
前記第1アームに連結され、前記第1アームに対して前記第1回動軸と平行な第2回動軸まわりに回動する第2アームと、
前記第2アームに配置され、前記第1回動軸と平行な第3回動軸に沿って配置されているスプラインシャフトと、前記スプラインシャフトに装着されているスプラインナットと、を備え、前記スプラインナットを回動させると前記スプラインシャフトが前記第3回動軸まわりに回動する作業ヘッドと、
前記スプラインナットを回動させて前記スプラインシャフトを前記第3回動軸まわりに回動させるスプラインシャフト第1駆動機構と、を有し、
前記スプラインシャフト第1駆動機構は、モーターと、前記モーターの回動を前記スプラインナットに伝達する動力伝達機構と、を備え、
前記動力伝達機構は、前記モーターの回動軸に固定されている第1プーリーと、前記スプラインナットに固定されている第2プーリーと、軸受を介して支持部材に支持され、前記第2アームに対して前記第1回動軸と平行な第4回動軸まわりに回動する中間プーリーと、前記第1プーリーと前記中間プーリーとに回し掛けられている第1ベルトと、前記中間プーリーと前記第2プーリーとに回し掛けられている第2ベルトと、を有し、
前記中間プーリーは、前記第1ベルトが回し掛けられている第1中間プーリーと、前記第1中間プーリーと前記第4回動軸に沿う方向に並んで配置され、前記第2ベルトが回し掛けられている第2中間プーリーと、前記第4回動軸に沿って配置され、前記第1中間プーリーと前記第2中間プーリーとを接続している軸部と、を有し、前記軸部において前記軸受を介して前記支持部材に支持され、
前記第1中間プーリーおよび前記第2中間プーリーの一方は、他方の側に開口し、前記軸部が挿入されている凹部を有し、
前記凹部内に前記軸受の少なくとも一部が位置し、
前記第4回動軸に直交する方向からの平面視で、前記軸受と、前記第1ベルトまたは前記第2ベルトと、が重なっていることを特徴とするロボット。
続きを表示(約 2,300 文字)
【請求項2】
前記第1中間プーリーは、前記第2中間プーリーよりも大径であり、
前記第1中間プーリーが前記凹部を有し、
前記第4回動軸に直交する方向からの平面視で、前記軸受と前記第1ベルトとが重なっている請求項1に記載のロボット。
【請求項3】
前記軸受は、前記第4回動軸に沿って配置され、最も前記第1中間プーリー側に位置する第1軸受と、最も前記第2中間プーリー側に位置する第2軸受と、を含み、
前記第1軸受は、全体が前記凹部内に位置している請求項2に記載のロボット。
【請求項4】
前記第1軸受は、前記第1中間プーリー側の面において前記第1中間プーリーと接触している請求項3に記載のロボット。
【請求項5】
前記第1軸受および前記第2軸受が接触している請求項4に記載のロボット。
【請求項6】
前記支持部材は、前記第4回動軸に直交する方向からの平面視で、前記第1中間プーリーと前記第2中間プーリーとの間に位置し、前記第2アームに固定されている固定プレートを有し、
前記第2軸受は、前記第4回動軸に直交する方向からの平面視で、前記固定プレートと重なっている請求項3に記載のロボット。
【請求項7】
前記支持部材は、前記凹部内に挿入されている筒状の軸受保持部を有し、
前記軸受保持部に前記軸部が挿通され、前記軸部の外周面と前記軸受保持部の内周面との間に前記軸受が配置されている請求項6に記載のロボット。
【請求項8】
前記第2軸受の前記第2中間プーリー側の面は、前記軸受保持部の前記第2中間プーリー側の面と面一である請求項7に記載のロボット。
【請求項9】
前記第1中間プーリーは、前記第2中間プーリーよりも大径であり、
前記第1中間プーリーが前記凹部を有し、
前記第4回動軸に直交する方向からの平面視で、前記軸受と前記第1ベルトとが重なっており、
前記支持部材は、前記第4回動軸に直交する方向からの平面視で、前記第1中間プーリーと前記第2中間プーリーとの間に位置し、前記第2アームに固定されている固定プレートと、前記固定プレートから前記第1中間プーリー側に突出し、前記凹部内に挿入されている筒状の軸受保持部と、を有し、前記軸受保持部に前記軸部が挿通され、前記軸部の外周面と前記軸受保持部の内周面との間に前記軸受が配置されており、
前記軸受は、前記第4回動軸に沿って配置され、最も前記第1中間プーリー側に位置する第1軸受と、最も前記第2中間プーリー側に位置する第2軸受と、を含み、
前記第1軸受は、全体が前記凹部内に位置し、かつ、前記第1中間プーリー側の面において前記第1中間プーリーと接触し、
前記第2軸受は、前記第4回動軸に直交する方向からの平面視で、前記固定プレートと重なっており、
前記第2軸受の前記第2中間プーリー側の面は、前記軸受保持部の前記第2中間プーリー側の面と面一であり、前記軸受保持部の前記第2中間プーリー側の面に締結されているネジの頭と接触している請求項1に記載のロボット。
【請求項10】
ロボットと、
前記ロボットの駆動を制御する制御装置と、を有し、
前記ロボットは、基台と、
前記基台に連結され、前記基台に対して第1回動軸まわりに回動する第1アームと、
前記第1アームに連結され、前記第1アームに対して前記第1回動軸と平行な第2回動軸まわりに回動する第2アームと、
前記第2アームに配置され、前記第1回動軸と平行な第3回動軸に沿って配置されているスプラインシャフトと、前記スプラインシャフトに装着されているスプラインナットと、を備え、前記スプラインナットを回動させると前記スプラインシャフトが前記第3回動軸まわりに回動する作業ヘッドと、
前記スプラインナットを回動させて前記スプラインシャフトを前記第3回動軸まわりに回動させるスプラインシャフト第1駆動機構と、を有し、
前記スプラインシャフト第1駆動機構は、モーターと、前記モーターの回動を前記スプラインナットに伝達する動力伝達機構と、を備え、
前記動力伝達機構は、前記モーターの回動軸に固定されている第1プーリーと、前記スプラインナットに固定されている第2プーリーと、軸受を介して支持部に支持され、前記第2アームに対して前記第1回動軸と平行な第4回動軸まわりに回動する中間プーリーと、前記第1プーリーと前記中間プーリーとに回し掛けられている第1ベルトと、前記中間プーリーと前記第2プーリーとに回し掛けられている第2ベルトと、を有し、
前記中間プーリーは、前記第1ベルトが回し掛けられている第1中間プーリーと、前記第1中間プーリーと前記第4回動軸に沿う方向に並んで配置され、前記第2ベルトが回し掛けられている第2中間プーリーと、前記第4回動軸に沿って配置され、前記第1中間プーリーと前記第2中間プーリーとを接続している軸部と、を有し、前記軸部において前記軸受を介して前記支持部に支持され、
前記第1中間プーリーおよび前記第2中間プーリーの一方は、他方の側に開口し、前記軸部が挿入されている凹部を有し、
前記凹部内に前記軸受の少なくとも一部が位置し、
前記第4回動軸に直交する方向からの平面視で、前記軸受と、前記第1ベルトまたは前記第2ベルトと、が重なっていることを特徴とするロボットシステム。
発明の詳細な説明
【技術分野】
【0001】
本発明は、ロボットおよびロボットシステムに関する。
続きを表示(約 3,400 文字)
【背景技術】
【0002】
特許文献1に記載されたロボットは、水平多関節ロボット(スカラロボット)であり、基台と、基台に対して鉛直方向に沿う第1回動軸まわりに回動可能に連結された第1腕部と、第1腕部に対して鉛直方向に沿う第2回動軸まわりに回動可能に連結された第2腕部と、第2腕部に配置された作業ヘッドと、を有する。また、作業ヘッドは、鉛直方向に並んで同軸的に配置された第1軸受および第2軸受と、第1軸受および第2軸受に挿通された上下回転軸と、を有する。このような作業ヘッドでは、第1軸受を回動させると、上下回転軸がその中心軸であり鉛直方向に沿う第3回動軸まわりに回動し、第2軸受を回動させると、上下回転軸が第3回動軸に沿って直動する。
【0003】
また、ロボットは、第1軸受を回動させて上下回転軸を第3回動軸まわりに回動させる第1軸受回動機構を有する。第1軸受回動機構は、第3モーターと、第3モーターの回動を第1軸受に伝達する減速機構と、を有する。また、減速機構は、第3モーターの回動軸に固定された第2プーリーと、第1軸受に固定された第1プーリーと、第1、第2プーリーの間に位置し、鉛直方向に並ぶ大径プーリーおよび小径プーリーを備え、鉛直方向に沿う第4回動軸まわりに回動する中間プーリーと、第2プーリーと大径プーリーとに回し掛けられた回転用前段ベルトと、小径プーリーと第1プーリーとに回し掛けられた回転用後段ベルトと、を有する。
【0004】
このような構成では、第3モーターの回動が第2プーリーおよび回転用前段ベルトを介して大径プーリーに伝わり、大径プーリーと小径プーリーとが一体的に第4回動軸まわりに回動する。そして、小径プーリーの回動が回転用後段ベルトを介して第1プーリーに伝わり、第1プーリーと第1軸受とが一体的に第3回動軸まわりに回動する。
【先行技術文献】
【特許文献】
【0005】
特開2013-006238号公報
【発明の概要】
【発明が解決しようとする課題】
【0006】
しかしながら、特許文献1では、中間プーリーが鉛直方向に並ぶ大径プーリーおよび小径プーリーを備えるために大型化し易く、中間プーリーの小型化が図られているとは言い難い。
【課題を解決するための手段】
【0007】
本発明のロボットは、基台と、
前記基台に連結され、前記基台に対して第1回動軸まわりに回動する第1アームと、
前記第1アームに連結され、前記第1アームに対して前記第1回動軸と平行な第2回動軸まわりに回動する第2アームと、
前記第2アームに配置され、前記第1回動軸と平行な第3回動軸に沿って配置されているスプラインシャフトと、前記スプラインシャフトに装着されているスプラインナットと、を備え、前記スプラインナットを回動させると前記スプラインシャフトが前記第3回動軸まわりに回動する作業ヘッドと、
前記スプラインナットを回動させて前記スプラインシャフトを前記第3回動軸まわりに回動させるスプラインシャフト第1駆動機構と、を有し、
前記スプラインシャフト第1駆動機構は、モーターと、前記モーターの回動を前記スプラインナットに伝達する動力伝達機構と、を備え、
前記動力伝達機構は、前記モーターの回動軸に固定されている第1プーリーと、前記スプラインナットに固定されている第2プーリーと、軸受を介して支持部材に支持され、前記第2アームに対して前記第1回動軸と平行な第4回動軸まわりに回動する中間プーリーと、前記第1プーリーと前記中間プーリーとに回し掛けられている第1ベルトと、前記中間プーリーと前記第2プーリーとに回し掛けられている第2ベルトと、を有し、
前記中間プーリーは、前記第1ベルトが回し掛けられている第1中間プーリーと、前記第1中間プーリーと前記第4回動軸に沿う方向に並んで配置され、前記第2ベルトが回し掛けられている第2中間プーリーと、前記第4回動軸に沿って配置され、前記第1中間プーリーと前記第2中間プーリーとを接続している軸部と、を有し、前記軸部において前記軸受を介して前記支持部材に支持され、
前記第1中間プーリーおよび前記第2中間プーリーの一方は、他方の側に開口し、前記軸部が挿入されている凹部を有し、
前記凹部内に前記軸受の少なくとも一部が位置し、
前記第4回動軸に直交する方向からの平面視で、前記軸受と、前記第1ベルトまたは前記第2ベルトと、が重なっている。
【0008】
本発明のロボットシステムは、ロボットと、
前記ロボットの駆動を制御する制御装置と、を有し、
前記ロボットは、基台と、
前記基台に連結され、前記基台に対して第1回動軸まわりに回動する第1アームと、
前記第1アームに連結され、前記第1アームに対して前記第1回動軸と平行な第2回動軸まわりに回動する第2アームと、
前記第2アームに配置され、前記第1回動軸と平行な第3回動軸に沿って配置されているスプラインシャフトと、前記スプラインシャフトに装着されているスプラインナットと、を備え、前記スプラインナットを回動させると前記スプラインシャフトが前記第3回動軸まわりに回動する作業ヘッドと、
前記スプラインナットを回動させて前記スプラインシャフトを前記第3回動軸まわりに回動させるスプラインシャフト第1駆動機構と、を有し、
前記スプラインシャフト第1駆動機構は、モーターと、前記モーターの回動を前記スプラインナットに伝達する動力伝達機構と、を備え、
前記動力伝達機構は、前記モーターの回動軸に固定されている第1プーリーと、前記スプラインナットに固定されている第2プーリーと、軸受を介して支持部に支持され、前記第2アームに対して前記第1回動軸と平行な第4回動軸まわりに回動する中間プーリーと、前記第1プーリーと前記中間プーリーとに回し掛けられている第1ベルトと、前記中間プーリーと前記第2プーリーとに回し掛けられている第2ベルトと、を有し、
前記中間プーリーは、前記第1ベルトが回し掛けられている第1中間プーリーと、前記第1中間プーリーと前記第4回動軸に沿う方向に並んで配置され、前記第2ベルトが回し掛けられている第2中間プーリーと、前記第4回動軸に沿って配置され、前記第1中間プーリーと前記第2中間プーリーとを接続している軸部と、を有し、前記軸部において前記軸受を介して前記支持部に支持され、
前記第1中間プーリーおよび前記第2中間プーリーの一方は、他方の側に開口し、前記軸部が挿入されている凹部を有し、
前記凹部内に前記軸受の少なくとも一部が位置し、
前記第4回動軸に直交する方向からの平面視で、前記軸受と、前記第1ベルトまたは前記第2ベルトと、が重なっている。
【図面の簡単な説明】
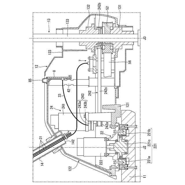
【0009】
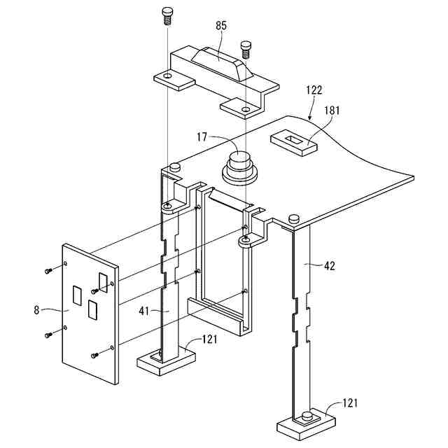
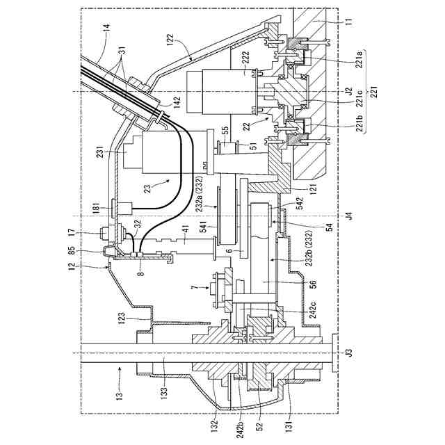
第1実施形態に係るロボットを示す側面図である。
基台と第1アームとの連結部分を示す断面図である。
第2アームを横方向一方側から見た断面図である。
第2アームを横方向他方側から見た断面図である。
第2アームの内部を示す上面図である。
フレームの先端部を拡大して示す斜視図である。
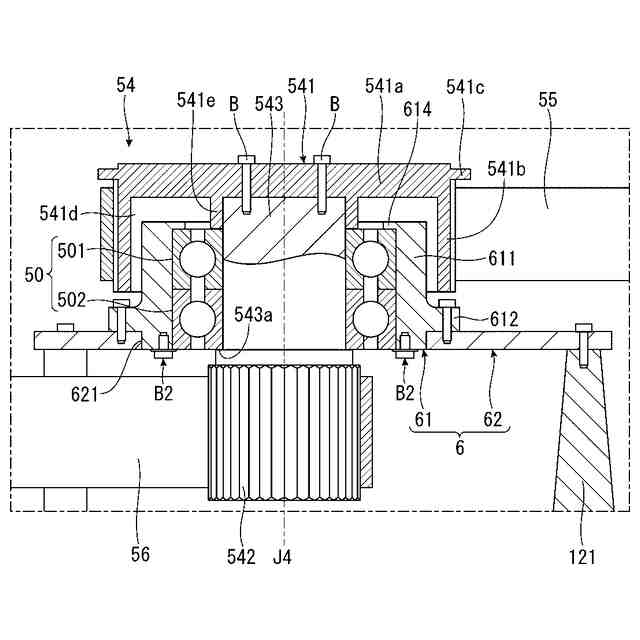
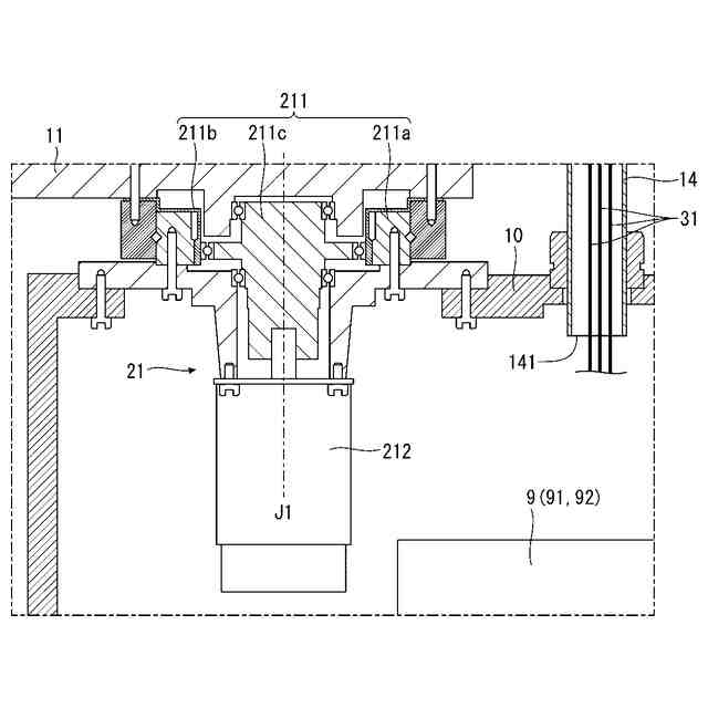
中間プーリーを拡大して示す断面図である。
図7に示す中間プーリーの変形例を示す断面図である。
図7に示す中間プーリーの変形例を示す断面図である。
第1ベアリングと第1ベルトとが重なっていない比較例としての中間プーリーを示す断面図である。
固定位置とベルト張力力点との位置関係を示す断面図である。
図7に示す中間プーリーの変形例を示す断面図である。
フレームの先端部を拡大して示す断面図である。
【発明を実施するための形態】
【0010】
以下、本発明のロボットおよびロボットシステムを添付図面に示す実施形態に基づいて詳細に説明する。
(【0011】以降は省略されています)
この特許をJ-PlatPat(特許庁公式サイト)で参照する
関連特許
個人
固定補助具
1か月前
個人
折りたたみ工具
1か月前
川崎重工業株式会社
ロボット
12日前
株式会社三協システム
製函機
1か月前
株式会社竹中工務店
補助セット
11日前
CKD株式会社
把持装置
1か月前
株式会社不二越
ロボット
11日前
株式会社三協システム
移載装置
1か月前
川崎重工業株式会社
ハンド
3日前
株式会社不二越
ロボット操作装置
1か月前
株式会社不二越
ロボットシステム
1か月前
株式会社ミクロブ
把持装置
1か月前
太陽パーツ株式会社
アシストスーツ
1か月前
日本精工株式会社
締結用工具
1か月前
SMC株式会社
着脱装置
1か月前
トヨタ自動車株式会社
カプラ接続治具
1か月前
ARMA株式会社
ジョイントフレーム
1か月前
トヨタ自動車株式会社
ロボット
6日前
株式会社不二越
移動ロボットシステム
14日前
工機ホールディングス株式会社
作業機
3日前
株式会社不二越
ロボットシステム
1か月前
川崎重工業株式会社
塗装システム
3日前
株式会社不二越
ロボットシステム
1か月前
本田技研工業株式会社
装置
17日前
株式会社不二越
エッジ仕上げ装置
24日前
株式会社不二越
垂直多関節ロボット
25日前
トヨタ自動車株式会社
歩行ロボット
1か月前
積水ハウス株式会社
フィルム除去具
2か月前
トヨタ自動車株式会社
軌道生成装置
6日前
アネックスツール株式会社
ドライバービット
10日前
ダイハツ工業株式会社
移載治具
1か月前
工機ホールディングス株式会社
作業機
3日前
大和ハウス工業株式会社
ねじ回転工具
1か月前
ライオン株式会社
移載システム
26日前
シンフォニアテクノロジー株式会社
搬送装置
14日前
川崎重工業株式会社
ワーク搬送ロボット
3日前
続きを見る
他の特許を見る