TOP
|
特許
|
意匠
|
商標
特許ウォッチ
Twitter
他の特許を見る
10個以上の画像は省略されています。
公開番号
2025153289
公報種別
公開特許公報(A)
公開日
2025-10-10
出願番号
2024055681
出願日
2024-03-29
発明の名称
投写レンズ及び投写装置
出願人
セイコーエプソン株式会社
代理人
個人
,
個人
,
個人
主分類
G02B
13/00 20060101AFI20251002BHJP(光学)
要約
【課題】投写レンズをより小型化すること。
【解決手段】投写レンズ40は、拡大側から順に、正又は負の屈折力を有する第1レンズ群G1と、開口絞りと、正の屈折力を有する第2レンズ群G2とからなり、第1レンズ群G1は、拡大側から順に負の屈折率を有する第1サブレンズ群G1mと、正の屈折率を有する第2サブレンズ群G1pとからなり、以下の条件式を満たす。
0.1<1/fg1p-1/fg1m<0.25
ω>50
2.5<(DL1×LL)×F/IH
2
<6.5
3.0<BF/F<5.0
ここで、fg1pは第1サブレンズ群G1mの合成焦点距離、fg1mは第2サブレンズ群G1pの合成焦点距離、ωは投写レンズの最大半画角、IHはイメージサークル、DL1は最もスクリーン側にあるレンズの有効半径、LLはレンズ全長、Fは全レンズの合成焦点距離、BFは空気換算長のバックフォーカス距離である。
【選択図】図2
特許請求の範囲
【請求項1】
拡大側から順に、正又は負の屈折力を有する第1レンズ群と、開口絞りと、正の屈折力を有する第2レンズ群とからなり、
前記第1レンズ群は、拡大側から順に負の屈折率を有する第1サブレンズ群と、正の屈折率を有する第2サブレンズ群とからなり、
以下の条件式を満たす、投写レンズ。
0.1<1/fg1p-1/fg1m<0.25 … (1)
ω>50 … (2)
2.5<(DL1×LL)×F/IH
2
<6.5 … (3)
3.0<BF/F<5.0 … (4)
ここで、
fg1p:前記第1サブレンズ群の合成焦点距離
fg1m:前記第2サブレンズ群の合成焦点距離
ω:前記投写レンズの最大半画角
IH:イメージサークル
DL1:最もスクリーン側にあるレンズの有効半径
LL:レンズ全長
F:全レンズの合成焦点距離
BF:空気換算長のバックフォーカス距離
続きを表示(約 1,000 文字)
【請求項2】
前記第1レンズ群において、最も縮小側に正のレンズが配置され、
前記第2レンズ群において、最も拡大側に負の屈折力を有するレンズが配置され、前記最も拡大側の負の屈折力を有するレンズの縮小側に正のレンズを有する、
請求項1に記載の投写レンズ。
【請求項3】
前記第2レンズ群は、少なくとも3枚の正のレンズを有し、前記3枚の正のレンズのうちの一枚は、前記第2レンズ群の最も縮小側に配置されている、
請求項1に記載の投写レンズ。
【請求項4】
前記第2レンズ群は、負の屈折力を有する非球面レンズを少なくとも1枚含む、
請求項1に記載の投写レンズ。
【請求項5】
以下の条件式を満たす、
請求項1に記載の投写レンズ。
3.1<nL2g1×nL3g1 … (5)
0.59<L2θgf又はL3θgf … (6)
ここで、
nL2g1:前記第1レンズ群のうち拡大側から2番目のレンズのd線に対する屈折率
L2θgf:前記2番目のレンズの部分分散値
nL3g1:前記第1レンズ群のうち拡大側から3番目のレンズのd線に対する屈折率
L3θgf:前記3番目のレンズの部分分散値
【請求項6】
以下の条件式を満たす、
請求項1に記載の投写レンズ。
-1.2<fg1m/F<-1.0 … (7)
【請求項7】
前記第1レンズ群において、拡大側から順に、負負負正正の屈折力を有する単レンズ又は接合レンズが配置され、
最も縮小側にある負レンズ及び2つの正レンズのうち少なくとも一つは、接合レンズである、
請求項1に記載の投写レンズ。
【請求項8】
フォーカシングの際に、前記第1レンズ群において少なくとも2つ以上のフォーカスレンズ群が光軸上で同じ方向に移動する、
請求項1に記載の投写レンズ。
【請求項9】
請求項1~8のいずれか一項に記載された投写レンズと、
前記投写レンズの縮小側共役面に投写画像を形成する画像形成部とを備え、
前記画像形成部は、光源装置と、前記光源装置からの光を変調させる光変調素子とを有する、
投写装置。
発明の詳細な説明
【技術分野】
【0001】
本発明は、画像を拡大投写するための投写レンズ、及びこれを組み込んだ投写装置に関する。
続きを表示(約 2,000 文字)
【背景技術】
【0002】
投写レンズとして、レンズ系中で最も大きな空気間隔を隔てて拡大側から順に、負の屈折力の第1レンズ群Iと、正の屈折力の第2レンズ群IIとを配してなり、縮小側に略テレセントリックであり、半画角60度以上を達成しているものが公知となっている(特許文献1)。この投写レンズにおいて、第1レンズ群は、1A群、1B群、1C群を配してなる。1A群は、両面が非球面であるレンズを1枚含み、1B群は、拡大側に凸面を向けた負メニスカスレンズ、縮小側に大きな曲率を持つ負レンズ、及び両凹レンズを配してなり、1C群は、少なくとも1枚の正レンズを含む。第2レンズ群IIは、非球面を有する1枚のレンズと、2組の3枚組レンズとを含み、かつ最も拡大側のレンズの近傍に開口絞りが配置される。3枚組レンズは、3枚のレンズを近接させ、もしくは2以上のレンズを接合してなる。
【先行技術文献】
【特許文献】
【0003】
特開2014-190999号公報
【発明の概要】
【発明が解決しようとする課題】
【0004】
上記投写レンズは、レンズ径やレンズ長が大きいため、これを組み込んだ投写装置のサイズや重量に影響し、また外観デザインの自由度や、投写装置等に適用した場合におけるスペース確保の設計自由度にも影響する。
【課題を解決するための手段】
【0005】
本発明の一側面における投写レンズは、拡大側から順に、正又は負の屈折力を有する第1レンズ群と、開口絞りと、正の屈折力を有する第2レンズ群とからなり、
第1レンズ群は、拡大側から順に負の屈折率を有する第1サブレンズ群と、正の屈折率を有する第2サブレンズ群とからなり、
以下の条件式を満たす。
0.1<1/fg1p-1/fg1m<0.25 … (1)
ω>50 … (2)
2.5<(DL1×LL)×F/IH
2
<6.5 … (3)
3.0<BF/F<5.0 … (4)
ここで、値fg1pは第1サブレンズ群の合成焦点距離であり、値fg1mは第2サブレンズ群の合成焦点距離であり、値ωは投写レンズの最大半画角であり、値IHはイメージサークルであり、値DL1は最もスクリーン側にあるレンズの有効半径であり、値LLはレンズ全長であり、値Fは全レンズの合成焦点距離であり、値BFは空気換算長のバックフォーカス距離である。
【0006】
本発明の一側面における投写装置は、上述の投写レンズと、投写レンズの縮小側共役面に投写画像を形成する画像形成部とを備え、画像形成部は、光源装置と、光源装置からの光を変調させる光変調素子とを有する。
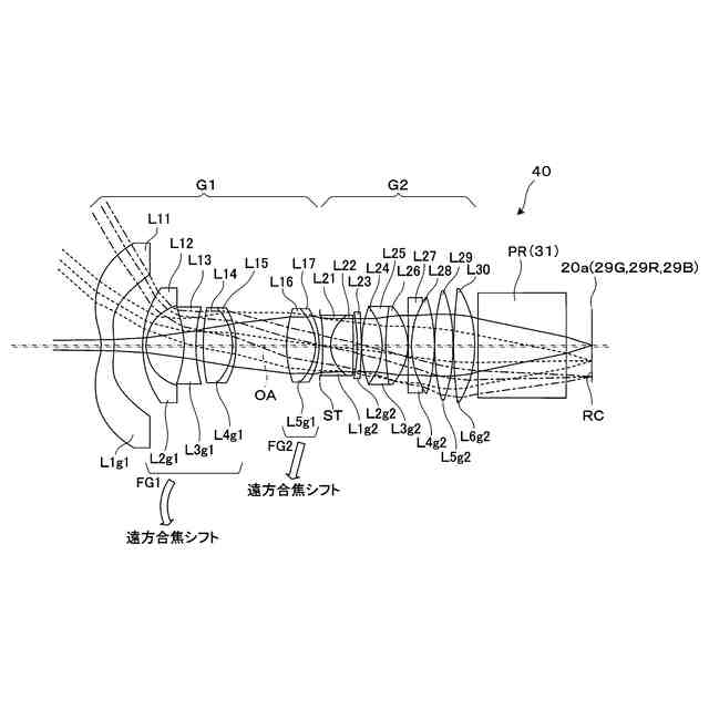
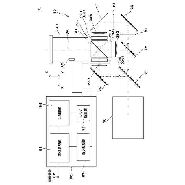
【図面の簡単な説明】
【0007】
実施形態の投写レンズを含む投写装置を説明する図である。
実施形態の投写レンズの構成及び光線図である。
実施形態の投写レンズの合焦又はフォーカシングを説明する図である。
実施例1の投写レンズを説明する図である。
実施例1の投写レンズの縦収差特性を示す図である。
実施例1の投写レンズの横収差特性を示す図である。
実施例2の投写レンズを説明する図である。
実施例2の投写レンズの縦収差特性を示す図である。
実施例2の投写レンズの横収差特性を示す図である。
実施例3の投写レンズを説明する図である。
実施例3の投写レンズの縦収差特性を示す図である。
実施例3の投写レンズの横収差特性を示す図である。
【発明を実施するための形態】
【0008】
〔第1実施形態〕
以下に図面を参照して、本発明の一実施形態に係る投写レンズや、これを組み込んだ投写装置について説明する。
【0009】
図1に示すように、実施形態に係る投写レンズ40を組み込んだ投写装置2は、画像光を投射する光学系部分50と、光学系部分50の動作を制御する回路装置80とを備える。
【0010】
光学系部分50において、光源装置10は、R光、G光、及びB光を含む光を均一化した状態で射出する。光源装置10は、例えば超高圧水銀等である光源ランプと、アレイ状に配列された複数のレンズ素子を有する2段のインテグレーターレンズと、2段のインテグレーターレンズを経た光を所定の直線偏光に変換する偏光変換素子と、後段のインテグレーターレンズから射出された照明光を液晶パネル29R,29G,29Bの表示領域上で重畳させる重畳レンズとを有する。
(【0011】以降は省略されています)
この特許をJ-PlatPat(特許庁公式サイト)で参照する
関連特許
東レ株式会社
積層フィルム
3日前
日本電気株式会社
光集積回路素子
1日前
スタンレー電気株式会社
照明装置
4日前
住友化学株式会社
積層体
1日前
日東電工株式会社
調光フィルム
2日前
旭化成株式会社
成形体
8日前
日本精機株式会社
ヘッドアップディスプレイ装置
2日前
旭化成株式会社
成形体
8日前
日本分光株式会社
赤外顕微鏡
8日前
住友ベークライト株式会社
積層体の製造方法
2日前
キヤノン株式会社
画像表示装置
8日前
キヤノン株式会社
レンズ装置および撮像装置
2日前
Orbray株式会社
MEMS光スイッチの制御方法
2日前
住友化学株式会社
偏光板及び画像表示装置
3日前
古河電気工業株式会社
光モジュール、光接続構造
2日前
TDK株式会社
メタサーフェスレンズ
1日前
京セラ株式会社
走査装置及び制御装置
1日前
日東電工株式会社
積層光学部材及び光学装置
1日前
京セラ株式会社
走査装置及び制御装置
1日前
住友ベークライト株式会社
光学シート
1日前
日本カーバイド工業株式会社
微小球型再帰反射シート
1日前
株式会社精工技研
光コネクタプラグおよびロック工具
3日前
国立大学法人徳島大学
光共振器、及び光周波数コム発生装置
2日前
日本カーバイド工業株式会社
微小球型再帰反射シート
1日前
住友ベークライト株式会社
光学性積層体
1日前
住友化学株式会社
積層体および表示装置
1日前
住友ベークライト株式会社
光学性積層体
1日前
国立大学法人徳島大学
光共振器、及び光周波数コム発生装置
2日前
株式会社トプコン
ミラー部材
1日前
日本カーバイド工業株式会社
カプセル型再帰反射シート
3日前
日本カーバイド工業株式会社
カプセル型再帰反射シート
3日前
東レ株式会社
黒色樹脂組成物
8日前
日東電工株式会社
光ファイバ
3日前
キヤノン株式会社
表示光学系および表示装置
8日前
住友ベークライト株式会社
電子調光デバイス
8日前
株式会社精工技研
二連式の光コネクタプラグ
4日前
続きを見る
他の特許を見る