TOP
|
特許
|
意匠
|
商標
特許ウォッチ
Twitter
他の特許を見る
10個以上の画像は省略されています。
公開番号
2025153291
公報種別
公開特許公報(A)
公開日
2025-10-10
出願番号
2024055683
出願日
2024-03-29
発明の名称
投写装置の制御方法、及び投写装置
出願人
セイコーエプソン株式会社
代理人
個人
,
個人
,
個人
主分類
H04N
5/74 20060101AFI20251002BHJP(電気通信技術)
要約
【課題】投写可能領域以外の投写範囲には、画像は投写されないため、投写可能領域以外の投写範囲は、有効活用されていない。
【解決手段】投写装置の制御方法は、第1画像データに基づく第1画像を投写可能な第1投写可能領域を設定することと、前記第1投写可能領域に基づいて、前記第1画像データの補正を実行することと、前記第1投写可能領域と異なる第2投写可能領域を設定することと、前記第1投写可能領域に前記第1画像を投写することと、前記第2投写可能領域に第2画像データに基づく第2画像を投写することと、を含む。
【選択図】図5
特許請求の範囲
【請求項1】
第1画像データに基づく第1画像を投写可能な第1投写可能領域を設定することと、
前記第1投写可能領域に基づいて、前記第1画像データの補正を実行することと、
前記第1投写可能領域と異なる第2投写可能領域を設定することと、
前記第1投写可能領域に前記第1画像を投写することと、
前記第2投写可能領域に第2画像データに基づく第2画像を投写することと、
を含む投写装置の制御方法。
続きを表示(約 910 文字)
【請求項2】
前記第2画像のアスペクト比を取得することと、
前記第2画像の前記アスペクト比に基づいて、前記第2投写可能領域を設定することと、
を含む請求項1に記載の投写装置の制御方法。
【請求項3】
前記第2画像データとして選択される複数のOSD画像データを予め記憶することと、
複数の前記OSD画像データのうち、ユーザーの入力操作に基づいて選択された前記第2画像データに基づいて投写される前記第2画像のアスペクト比を取得することと、
取得した前記第2画像の前記アスペクト比に基づいて、前記第2投写可能領域を設定することと、
を含む請求項1に記載の投写装置の制御方法。
【請求項4】
投写面が撮像された撮像情報を取得することと、
前記撮像情報に基づいて、障害物を回避する前記第1投写可能領域を設定することと、
を含む請求項1に記載の投写装置の制御方法。
【請求項5】
前記撮像情報に基づいて、前記障害物を回避する前記第2投写可能領域を設定すること、
を含む請求項4に記載の投写装置の制御方法。
【請求項6】
前記第1投写可能領域及び前記第2投写可能領域と異なる第3投写可能領域を設定することと、
前記第3投写可能領域に第3画像データに基づく第3画像を投写することと、
を含む請求項1に記載の投写装置の制御方法。
【請求項7】
制御部と、
投写部と、を備え、
前記制御部は、
第1画像データに基づく第1画像を投写可能な第1投写可能領域を設定することと、
前記第1投写可能領域に基づいて、前記第1画像データの補正を実行することと、
前記第1投写可能領域と異なる第2投写可能領域を設定することと、
を実行し、
前記投写部は、
前記第1投写可能領域に前記第1画像を投写することと、
前記第2投写可能領域に第2画像データに基づく第2画像を投写することと、
を実行する投写装置。
発明の詳細な説明
【技術分野】
【0001】
本開示は、投写装置の制御方法、及び投写装置に関する。
続きを表示(約 1,800 文字)
【背景技術】
【0002】
投写面に画像を投写する投写型画像表示システムが知られている。特許文献1に記載の投写型画像表示システムは、投写対象領域をセンシングするセンサーを含む。投写型画像表示システムは、センサーからのセンシング情報に基づき、投写可能領域を把握する。投写可能領域は、障害物が存在しない領域であり、所定のアスペクト比を満たす領域である。投写型画像表示システムは、投写可能領域に投写画像を投写する。
【先行技術文献】
【特許文献】
【0003】
特開2007-323084号公報
【発明の概要】
【発明が解決しようとする課題】
【0004】
投写可能領域以外の投写範囲には、画像は投写されないため、投写可能領域以外の投写範囲は、有効活用されていない。
【課題を解決するための手段】
【0005】
本開示の投写装置の制御方法は、第1画像データに基づく第1画像を投写可能な第1投写可能領域を設定することと、前記第1投写可能領域に基づいて、前記第1画像データの補正を実行することと、前記第1投写可能領域と異なる第2投写可能領域を設定することと、前記第1投写可能領域に前記第1画像を投写することと、前記第2投写可能領域に第2画像データに基づく第2画像を投写することと、を含む。
【0006】
本開示の投写装置は、制御部と、投写部と、を備え、前記制御部は、第1画像データに基づく第1画像を投写可能な第1投写可能領域を設定することと、前記第1投写可能領域に基づいて、前記第1画像データの補正を実行することと、前記第1投写可能領域と異なる第2投写可能領域を設定することと、を実行し、前記投写部は、前記第1投写可能領域に前記第1画像を投写することと、前記第2投写可能領域に第2画像データに基づく第2画像を投写することと、を実行する。
【図面の簡単な説明】
【0007】
投写システムの概略構成を示す図。
投写システムのブロック構成を示す図。
画像投写装置の概略構成を示す図。
設定画面の一例を示す図。
プロジェクターの制御フローを示す図。
投写面に投写される投写画像の一例を示す図。
投写面に投写される投写画像の一例を示す図。
投写面に投写される投写画像の一例を示す図。
投写面に投写される投写画像の一例を示す図。
投写面に投写される投写画像の一例を示す図。
投写面に投写される投写画像の一例を示す図。
投写面に投写される投写画像の一例を示す図。
投写面に投写される投写画像の一例を示す図。
【発明を実施するための形態】
【0008】
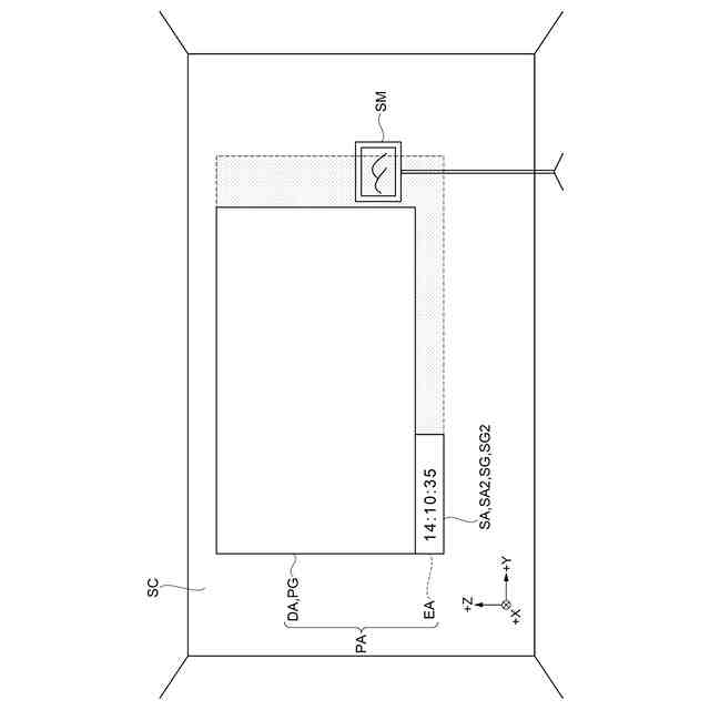
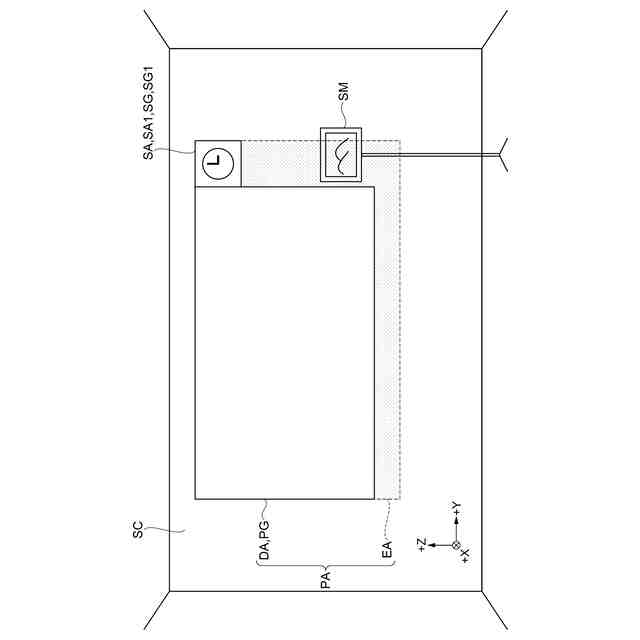
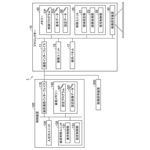
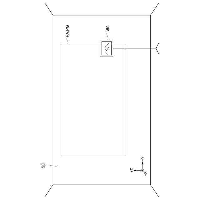
図1は、投写システム1の概略構成を示している。投写システム1は、プロジェクター10と、制御装置100と、画像提供装置200と、を備える。プロジェクター10は、投写面SCに投写画像PGを投写する。投写画像PGは、第1画像の一例に対応する。図1に示す投写システム1は、制御装置100及び画像提供装置200を備えるが、これに限定されない。投写システム1は、制御装置100及び画像提供装置200の少なくともいずれかを備えなくてもよい。
【0009】
図1を含む複数の図は、XYZ座標系を示している。X軸は、投写面SCに対して垂直である。+X方向は、投写面SCから奥に向かう方向である。-X方向は、投写面SCから手前に向かう方向である。Y軸は、投写面SCに対して平行である。Y軸は、X軸に対して垂直である。+Y方向は、図1に示す投写面SCの左から右に向かう方向である。-Y方向は、図1に示す投写面SCの右から左に向かう方向である。Z軸は、投写面SCに対して平行である。Z軸は、X軸及びY軸に対して垂直である。+Z方向は、図1に示す投写面SCの下から上に向かう方向である。-Z方向は、図1に示す投写面SCの上から下へ向かう方向である。
【0010】
投写面SCは、プロジェクター10から投写される投写画像PGを表示する。図1に示す投写面SCは、スクリーンで構成されるが、これに限定されない。投写面SCは、室内の壁、天井、建物の外壁等でもよい。投写面SCの投写面形状は、平面に限定されず、曲面、凹凸を有する面、球面等の3次元形状でもよい。
(【0011】以降は省略されています)
この特許をJ-PlatPat(特許庁公式サイト)で参照する
関連特許
個人
店内配信予約システム
2か月前
サクサ株式会社
中継装置
2日前
WHISMR合同会社
収音装置
1か月前
サクサ株式会社
中継装置
3日前
サクサ株式会社
中継装置
3か月前
キヤノン株式会社
撮像装置
1か月前
アイホン株式会社
電気機器
24日前
キヤノン株式会社
電子機器
2か月前
株式会社リコー
画像形成装置
1か月前
キヤノン電子株式会社
モバイル装置
3か月前
サクサ株式会社
無線通信装置
2日前
サクサ株式会社
無線通信装置
2日前
サクサ株式会社
無線システム
1日前
キヤノン電子株式会社
画像読取装置
1か月前
個人
ワイヤレスイヤホン対応耳掛け
22日前
株式会社リコー
画像形成装置
2か月前
株式会社リコー
画像形成装置
1か月前
キヤノン株式会社
撮像システム
24日前
ブラザー工業株式会社
読取装置
1か月前
株式会社ニコン
撮像装置
2か月前
個人
発信機及び発信方法
1日前
沖電気工業株式会社
画像形成装置
12日前
沖電気工業株式会社
画像形成装置
4日前
キヤノン電子株式会社
シート材搬送装置
2か月前
株式会社小糸製作所
画像照射装置
1か月前
有限会社フィデリックス
マイクロフォン
8日前
株式会社松平商会
携帯機器カバー
1か月前
株式会社JVCケンウッド
通信システム
8日前
DXO株式会社
情報処理システム
2か月前
国立大学法人電気通信大学
小型光学装置
1か月前
パテントフレア株式会社
水中電波通信法
2か月前
大日本印刷株式会社
写真撮影装置
23日前
パテントフレア株式会社
超高速電波通信
1か月前
ダイハツ工業株式会社
人流取得装置
2日前
株式会社JVCケンウッド
スピーカ
1か月前
個人
回動アームを構築する関節モジュール
4日前
続きを見る
他の特許を見る