TOP
|
特許
|
意匠
|
商標
特許ウォッチ
Twitter
他の特許を見る
10個以上の画像は省略されています。
公開番号
2025141666
公報種別
公開特許公報(A)
公開日
2025-09-29
出願番号
2024041696
出願日
2024-03-15
発明の名称
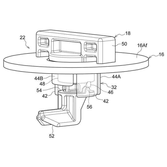
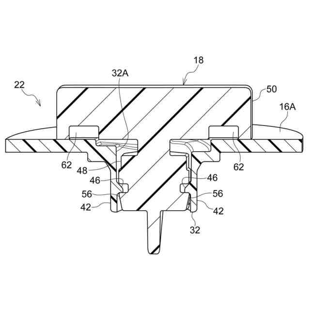
リテーナ固定構造
出願人
株式会社ニフコ
代理人
弁理士法人太陽国際特許事務所
主分類
F16B
21/04 20060101AFI20250919BHJP(機械要素または単位;機械または装置の効果的機能を生じ維持するための一般的手段)
要約
【課題】リテーナに装着されリテーナをボディへ取り付けるレバー部材の回転抑制機構がリテーナにコンパクトに納まるリテーナ固定構造を得る。
【解決手段】リテーナ固定構造は、車両のボディの表面に取り付けられバンパーが固定されるリテーナと、リテーナの一部に設けられリテーナからボディに向けて突設され拡径可能なレバー取付部と、レバー取付部へ回転可能に挿入され、前記ボディの縁部に係止されるレバー部材と、を備え、レバー部材は、レバー取付部内に保持される軸部と、軸部の先端部から軸部の軸線と交差する方向へ張出し、ボディの裏面に位置する腕部と、を備え、軸部の外周部に設けられた係合部と、レバー取付部の内周壁に設けられ係合部と係合してレバー部材の回転を抑制する被係合部とを含んで構成される回転抑制機構を備えている。
【選択図】図8
特許請求の範囲
【請求項1】
車両のボディの表面に取り付けられバンパーが固定されるリテーナと、
前記リテーナの一部に設けられ前記リテーナから前記ボディに向けて突設されるレバー取付部と、
前記レバー取付部へ回転可能に挿入され、前記ボディの縁部に係止されるレバー部材と、
を備え、
前記レバー部材は、前記レバー取付部内に保持される軸部と、前記軸部の先端部から前記軸部の軸線と交差する方向へ張出し、前記ボディの裏面に位置する腕部と、を備え、
前記軸部の外周部に設けられた係合部と、前記レバー取付部の内周壁に設けられ前記係合部と係合して前記レバー部材の回転を抑制する被係合部とを含んで構成される回転抑制機構を備えている、
リテーナ固定構造。
続きを表示(約 370 文字)
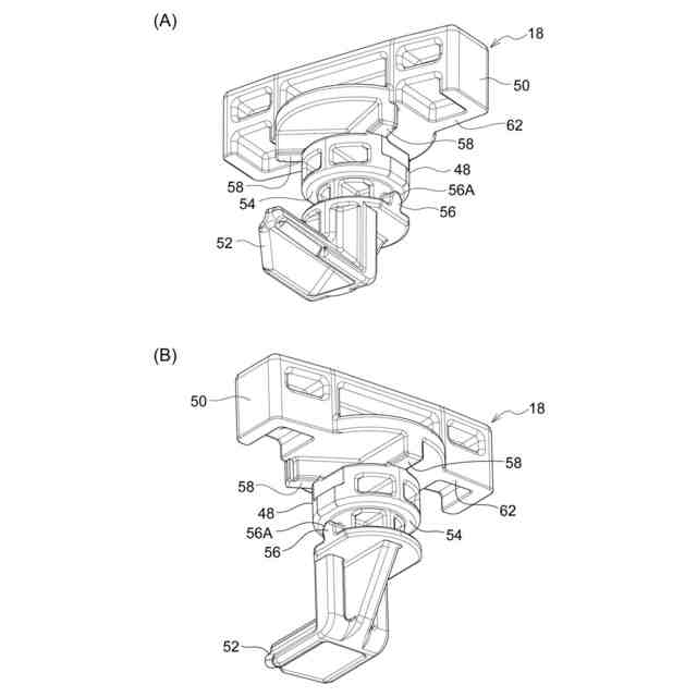
【請求項2】
前記レバー取付部は筒状に形成され、ガイド脚部と前記ガイド脚部より板薄で内側に前記被係合部が設けられた可撓性脚部とに周方向に切り分けられている、
請求項1に記載のリテーナ固定構造。
【請求項3】
一の前記ガイド脚部が、他の前記ガイド脚部、及び前記可撓性脚部より短い、
請求項2に記載のリテーナ固定構造。
【請求項4】
前記係合部、及び前記被係合部の少なくとも一方には、レバー部材の回転方向へ傾斜する傾斜面が形成されている、
請求項1に記載のリテーナ固定構造。
【請求項5】
前記軸部の後端部に把持部が設けられ、
前記軸部からの前記把持部の張出し方向と前記腕部の張出し方向が異なっている、
請求項1に記載のリテーナ固定構造。
発明の詳細な説明
【技術分野】
【0001】
本開示は、リテーナ固定構造に関する。
続きを表示(約 1,300 文字)
【背景技術】
【0002】
特許文献1には、リテーナに装着され、先端部がリテーナから突出してボディに形成された取付孔へ挿入係止され、リテーナをボディに固定するピン部材が開示されている。
【0003】
しかし、ピン部材には、回転抑制機構が設けられていないため、リテーナを輸送中にピン部材が回転してしまうことがあり、ピン部材をその位置でボディの取付孔へ挿入係止することができないことがある。
【0004】
また、特許文献2の留め具のピン部材の回転抑制機構を備えているが、留め具の回転軸から拡径したフランジに形成した突起がリテーナに当たって留め具の回転を防止する構造である。このため、ピン部材の径方向に不要なスペースが必要となる。
【先行技術文献】
【特許文献】
【0005】
特許5767019号公報
特開2018-184991号公報
【発明の概要】
【発明が解決しようとする課題】
【0006】
本開示は、リテーナに装着されリテーナをボディへ取り付けるレバー部材の回転抑制機構がリテーナにコンパクトに納まるリテーナ固定構造を得ること目的としている。
【課題を解決するための手段】
【0007】
第1の態様に係るリテーナ固定構造は、車両のボディの表面に取り付けられバンパーが固定されるリテーナと、前記リテーナの一部に設けられ前記リテーナから前記ボディに向けて突設されるレバー取付部と、前記レバー取付部へ回転可能に挿入され、前記ボディの縁部に係止されるレバー部材と、を備え、前記レバー部材は、前記レバー取付部内に保持される軸部と、前記軸部の先端部から前記軸部の軸線と交差する方向へ張出し、前記ボディの裏面に位置する腕部と、を備え、前記軸部の外周部に設けられた係合部と、前記レバー取付部の内周壁に設けられ前記係合部と係合して前記レバー部材の回転を抑制する被係合部とを含んで構成される回転抑制機構を備えている。
【0008】
第1の態様に係るリテーナ固定構造では、リテーナのレバー取付部にレバー部材の軸部が保持された状態でレバー部材を軸周りに回転させ、軸部の係合部とレバー取付部の被係合部とを係合させる。
【0009】
軸部の係合部とレバー取付部の被係合部とが係合することで、腕部が、予め決められた方向へ向いた状態で、レバー部材の回転が抑制される。これにより、リテーナの輸送中等で、レバー部材が意図せずに回転することを抑制でき、リテーナの車体への取付工程ではレバー部材の位置を調整することなく、車体へリテーナを固定することができる。
【0010】
回転抑制機構を構成する係合部は、レバー取付部内に配置されているため、回転抑制機構は、レバー取付部の外側に突出することがなく、レバー部材からフランジを張出して回転抑制機構を構成する場合に比較してコンパクトに収まり、回転抑制機構を配置するための不必要なスペースが要らない。言い換えれば、レバー部材周囲の必要スペースを小さくすることができる。
(【0011】以降は省略されています)
この特許をJ-PlatPat(特許庁公式サイト)で参照する
関連特許
株式会社ニフコ
クリップ
1日前
株式会社ニフコ
風防装置
2日前
株式会社ニフコ
収納装置
25日前
株式会社ニフコ
照明装置
1か月前
株式会社ニフコ
保持装置
3か月前
株式会社ニフコ
リテーナ固定構造
5日前
個人
鍋虫ねじ
1か月前
個人
紛体用仕切弁
1か月前
個人
回転伝達機構
1か月前
個人
ホース保持具
5か月前
個人
トーションバー
6か月前
個人
差動歯車用歯形
3か月前
個人
ジョイント
15日前
株式会社不二工機
電磁弁
4か月前
個人
ナット
16日前
個人
地震の揺れ回避装置
2か月前
個人
ボルトナットセット
6か月前
個人
回転式配管用支持具
7か月前
株式会社不二工機
電磁弁
3か月前
株式会社オンダ製作所
継手
7か月前
個人
吐出量監視装置
1か月前
個人
ベルトテンショナ
7か月前
カヤバ株式会社
緩衝器
2か月前
株式会社ミクニ
弁装置
8か月前
株式会社ミクニ
弁装置
8か月前
カヤバ株式会社
ダンパ
3か月前
株式会社三協丸筒
枠体
6か月前
柿沼金属精機株式会社
分岐管
1か月前
カヤバ株式会社
緩衝器
2か月前
カヤバ株式会社
ダンパ
3か月前
カヤバ株式会社
緩衝器
6か月前
個人
固着具と固着具の固定方法
5か月前
日東精工株式会社
樹脂被覆ねじ
6か月前
日東電工株式会社
断熱材
5か月前
個人
固着具と固着具の固定方法
4か月前
株式会社ノーリツ
分配弁
1日前
続きを見る
他の特許を見る