TOP
|
特許
|
意匠
|
商標
特許ウォッチ
Twitter
他の特許を見る
10個以上の画像は省略されています。
公開番号
2025142333
公報種別
公開特許公報(A)
公開日
2025-09-30
出願番号
2025127435,2021068541
出願日
2025-07-30,2021-04-14
発明の名称
ヘアーブラシ
出願人
株式会社 MTG
代理人
弁理士法人グランダム特許事務所
主分類
A46B
9/02 20060101AFI20250919BHJP(ブラシ製品)
要約
【課題】頭皮への密着度の向上を図ることができるヘアーブラシを提供する。
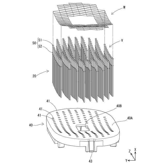
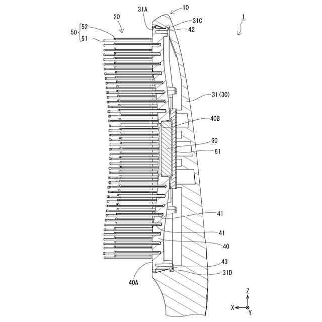
【解決手段】ヘアーブラシ1は、本体部とブラシ部20とを備える。ブラシ部20は複数のピン(第1ピン51)を有する。複数のピンは、本体部の表面(ブラシベース40の前面40A)から立設する。複数のピンの先端を繋げた仮想面Vは、本体部の表面に向けて凹んでいる。また、ブラシ部20は非接触部及び接触部を有する。非接触部は、使用状態においてピンの先端が頭皮に当たらない部分である。接触部は、ブラシ部20における非接触部を挟んだ両側に設けられ、使用状態においてピンの先端が頭皮に当たる部分である。
【選択図】図9
特許請求の範囲
【請求項1】
本体部と、前記本体部の表面から立設した複数のピンを有するブラシ部とを備えたヘアーブラシであって、
前記複数のピンの先端を繋げた仮想面は、前記本体部の表面に向けて凹んでおり、
前記ブラシ部は、使用状態において前記ピンの先端が頭皮に当たらない非接触部と、前記非接触部を挟んだ両側に設けられ、使用状態において前記ピンの先端が頭皮に当たる接触部とを有するヘアーブラシ。
続きを表示(約 220 文字)
【請求項2】
前記接触部は、前記非接触部の周囲に設けられている請求項1に記載のヘアーブラシ。
【請求項3】
前記ブラシ部は、複数の前記ピンが立設し、受ける硬さの触感が異なる複数の領域を有している請求項1及び請求項2に記載のヘアーブラシ。
【請求項4】
前記複数の領域は、内側領域と、前記内側領域よりも外側に位置し、触感が前記内側領域よりも硬い外側領域とを備えている請求項3に記載のヘアーブラシ。
発明の詳細な説明
【技術分野】
【0001】
本発明はヘアーブラシに関するものである。
続きを表示(約 2,500 文字)
【背景技術】
【0002】
特許文献1は従来のヘアーブラシを開示している。このヘアーブラシは、ヘッド部と、ヘッド部におけるブラシ面から立設する複数の棒状の突起とを有している。複数の突起は、第1突起及び第2突起を有している。第1突起は、ブラシ面における幅方向の中央部に配列される。第2突起は、第1突起が配列された領域を挟んで幅方向の両側に配列される。第2突起は、第1突起よりも長さが短く設けられている。このため、ブラッシング時において、第2突起と頭髪とが接触することによる抵抗を低減することができる。
【先行技術文献】
【特許文献】
【0003】
特開2020-81854号公報
【発明の概要】
【発明が解決しようとする課題】
【0004】
ところで、ヘアーブラシには、頭皮の洗浄やマッサージを目的として、突起の先端を頭皮に当てて使用したいという要望がある。この場合、より多くの突起を頭皮に接触させ、頭皮にブラシを密着させることができることが好ましい。しかしながら、特許文献1のように相対的に長い突起の両側に相対的に短い突起がある場合、長い突起が頭皮に当たって突っ張ってしまうため、他の突起が頭皮に接触するのが阻害されてしまう。
【0005】
本発明は上記従来の事情に鑑みてなされたものであって、頭皮への密着度の向上を図ることができるヘアーブラシを提供することを目的とする。
【課題を解決するための手段】
【0006】
本発明のヘアーブラシは、本体部と、前記本体部の表面から立設した複数のピンを有するブラシ部とを備えたヘアーブラシであって、前記複数のピンの先端を繋げた仮想面は、前記本体部の表面に向けて凹んでおり、前記ブラシ部は、使用状態において前記ピンの先端が頭皮に当たらない非接触部と、前記非接触部を挟んだ両側に設けられ、使用状態において前記ピンの先端が頭皮に当たる接触部とを有する。
【発明の効果】
【0007】
本発明のヘアーブラシは、複数のピンの先端を繋げた仮想面が本体部の表面に向けて凹んだ形態である。また、ピンの先端が頭皮に当たらない非接触部を設け、その非接触部を挟んだ両側にピンの先端が頭皮に当たる接触部を設けている。このような構成により、本発明のヘアーブラシは、非接触部の両側の接触部におけるピンを頭皮に確実に当てることができる。また、非接触部の両側におけるピンは、頭皮がなす曲面に対して斜め方向(法線方向でない方向)に接触し易い。この場合、頭皮に接触したピンは、頭皮に更に押し付けられることによって外側に倒れやすい。その結果、接触部における多くのピンを頭皮に接触させることができる。また、ピンが倒れることによって、ピンの先端部分のみならず、ピンの先端側の側面部分も頭皮に接触させることができる。このように、本発明のヘアーブラシは、頭皮への密着度の向上を図ることができる。
【図面の簡単な説明】
【0008】
実施例1に係るヘアーブラシを示す正面図である。
実施例1に係るヘアーブラシを示す背面図である。
実施例1に係るヘアーブラシを示す側面図である。
実施例1に係るヘアーブラシを示す平面図である。
実施例1に係るヘアーブラシを示す底面図である。
実施例1に係るヘアーブラシを示す分解斜視図である。
図1のVII-VII線断面図である。
図1のVIII-VIII線断面図である。
実施例1に係る仮想面を説明する説明図である。
実施例1に係るブラシ部を説明する説明図である。
実施例1に係るヘアーブラシの使用例を説明する説明図(その1)である。
実施例1に係るヘアーブラシの使用例を説明する説明図(その2)である。
ピンと頭皮との接触状態を模式的に示す図(その1)である。
ピンと頭皮との接触状態を模式的に示す図(その2)である。
実施例2に係るブラシ部を説明する説明図である。
頭皮の状態を示す写真であり、(A)洗浄前、(B)手洗い後、(C)ヘアーブラシを用いた洗浄後をそれぞれ示す。
官能評価の結果を示すグラフである。
【発明を実施するための形態】
【0009】
本発明における好ましい実施の形態を説明する。
本発明のヘアーブラシにおいて、ピンの先端が頭皮に接触する部分である接触部は、ピンの先端が頭皮に接触しない部分である非接触部の周囲に設けられ得る。この場合、方向性の制約なく、ブラッシングを行うことができる。例えば、非接触部が直線状に設けられるとともに、このような非接触部の両隣に接触部が配置されている場合を想定する。この場合、効果的にブラッシングを行うためには、ピンの先端が頭皮に接触しない部分である非接触部の延伸方向に沿った方向のブラッシングを避ける必要がある。これに対し、接触部が非接触部の周囲に設けられている場合には、いずれの方向にブラッシングを行う場合においても接触部におけるピンを頭皮に接触させてのブラッシングを行うことができる。このため、非接触部の両隣に接触部が配置されている場合と比較して、ブラッシング方向の自由度を高めることができる。
【0010】
本発明のヘアーブラシにおいて、ブラシ部は、複数のピンが立設し、受ける硬さの触感が異なる複数の領域を有し得る。この場合、異なる硬さの触感による異なる作用のブラッシングを行うことができる。例えば、相対的に硬い触感の領域と柔らかい触感の領域の2つ領域が設けられている場合を想定する。この場合、相対的に硬い触感の領域においてピンの先端を頭皮に強く接触させて頭皮に張り付いた頭髪の根元に入り込んで持ち上げたり、相対的に柔らかい触感の領域においてピンが絡まった頭髪をほぐしたり等、異なるブラッシング作用を付与することができる。
(【0011】以降は省略されています)
この特許をJ-PlatPat(特許庁公式サイト)で参照する
関連特許
株式会社 MTG
光美容器
8日前
株式会社 MTG
ヘアブラシ
13日前
個人
歯ブラシ
5か月前
個人
歯の清掃具ホルダー
10か月前
個人
歯ブラシ及び緩衝材
1か月前
個人
不織布舌ブラシ
8か月前
個人
歯ブラシ
4か月前
個人
歯磨き用マスク
7か月前
エビス株式会社
歯ブラシ
6か月前
個人
歯ブラシ補助具
6か月前
マクセルイズミ株式会社
電気機器
22日前
個人
歯ブラシ
8か月前
株式会社TBM
歯ブラシ
4か月前
株式会社 資生堂
化粧料塗布具
3か月前
個人
歯ブラシ
4か月前
ライオン株式会社
歯ブラシ
4か月前
株式会社吉野工業所
歯ブラシ
8か月前
株式会社マンダム
ブラシ
5か月前
東レ・モノフィラメント株式会社
ブラシ用毛材
13日前
東レ・モノフィラメント株式会社
ブラシ用毛材
13日前
ライオン株式会社
歯ブラシ
4か月前
ライオン株式会社
歯ブラシ
4か月前
ライオン株式会社
歯ブラシ
4か月前
槌屋ティスコ株式会社
ブラシ体及びその製造方法
11か月前
日南金属工業株式会社
携帯歯ブラシ(ポケット歯ブラシ)
9日前
ライオン株式会社
動物用ブラシ
8か月前
サンスター株式会社
口腔ケア用具のハンドル
4か月前
小林製薬株式会社
歯ブラシ
8か月前
小林製薬株式会社
歯ブラシ
8か月前
小林製薬株式会社
歯ブラシ
8か月前
小林製薬株式会社
歯ブラシ
8か月前
小林製薬株式会社
歯ブラシ
8か月前
サンスター株式会社
歯ブラシ
5か月前
サンスター株式会社
歯ブラシ
5か月前
花王株式会社
口腔ケアセット
4か月前
サンスター株式会社
歯ブラシ
8か月前
続きを見る
他の特許を見る