TOP
|
特許
|
意匠
|
商標
特許ウォッチ
Twitter
他の特許を見る
10個以上の画像は省略されています。
公開番号
2025153213
公報種別
公開特許公報(A)
公開日
2025-10-10
出願番号
2024055564
出願日
2024-03-29
発明の名称
ヘアブラシ
出願人
株式会社 MTG
代理人
弁理士法人グランダム特許事務所
主分類
A46B
5/00 20060101AFI20251002BHJP(ブラシ製品)
要約
【課題】より多くの風をブラッシング位置に導くことができるヘアブラシを提供する。
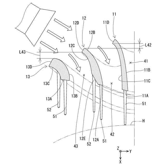
【解決手段】ヘアブラシ1は、ベース部10(第1ベース部11、第2ベース部12、第3ベース部13)と、このベース部10の前面(ブラシ面10A(第1ブラシ面11A、第2ブラシ面12A、第3ブラシ面13A))から立設した複数のピン(第1ピン51)と、を備えている。ベース部10は、後面(背面10B)から前面まで貫通する通気路40(第1通気路41、第2通気路42、第3通気路43)を形成している。そして、通気路40は、後端の開口の大きさが前端の開口の大きさよりも大きい。
【選択図】図7
特許請求の範囲
【請求項1】
ベース部と、
前記ベース部の前面から立設した複数のピンと、
を備え、
前記ベース部は、後面から前面まで貫通する通気路を形成し、
前記通気路は、後端の開口の大きさが前端の開口の大きさよりも大きい、ヘアブラシ。
続きを表示(約 420 文字)
【請求項2】
ベース部と、
前記ベース部の前面から立設した複数のピンと、
を備え、
前記ベース部は、後面から前面まで貫通する通気路を形成し、
前記通気路を形成する前記ベース部の壁面の後端は、前記ベース部の外側よりも中心側の方が後方に位置する、ヘアブラシ。
【請求項3】
前記通気路を形成する前記ベース部の壁面の前後方向の長さは、前記ベース部の外側よりも中心側の方が長い、請求項2に記載のヘアブラシ。
【請求項4】
前記通気路を形成する前記ベース部の壁面のうち、中心側の前記壁面の後端部は前記ベース部の外側に向けて傾斜している、請求項1から請求項3のいずれか一項に記載のヘアブラシ。
【請求項5】
前記通気路を形成する前記ベース部の壁面には、前後方向に延びる複数の畝状の起伏が形成されている、請求項1から請求項3のいずれか一項に記載のヘアブラシ。
発明の詳細な説明
【技術分野】
【0001】
本発明はヘアブラシに関するものである。
続きを表示(約 1,200 文字)
【背景技術】
【0002】
特許文献1は従来のヘアブラシを開示している。このヘアブラシは、両側面に第1及び第2の側面が形成されたブラシ本体と、このブラシ本体の第1の側面から立設した複数のピンとを備えている。ブラシ本体は、第1の側面から第2の側面まで通じるガイド孔を形成している。このような構成により、このヘアブラシは、例えばドライヤーの風を当てながら髪を梳かす際、梳かす位置である第1の側面側のピンの位置に、ガイド孔を通じてドライヤーの風を導くことができる。
【先行技術文献】
【特許文献】
【0003】
実用新案登録第3229123号公報
【発明の概要】
【発明が解決しようとする課題】
【0004】
この種のヘアブラシは、より多くのドライヤーの風をブラッシング位置に導入できることが望まれている。
【0005】
本発明は、上記従来の事情に鑑みてなされたものであって、より多くの風をブラッシング位置に導くことができるヘアブラシを提供することを目的とする。
【課題を解決するための手段】
【0006】
本発明の一実施形態に係るヘアブラシは、
ベース部と、
前記ベース部の前面から立設した複数のピンと、
を備え、
前記ベース部は、後面から前面まで貫通する通気路を形成し、
前記通気路は、後端の開口の大きさが前端の開口の大きさよりも大きい。
【0007】
このヘアブラシは、ベース部を貫通する通気路における後端の開口が前端の開口よりも大きい。このため、このヘアブラシは、通気路における後端の開口の大きさが前端と同等である場合と比較して、後端の開口から通気路に空気を取り込みやすい。
【0008】
また、本発明の他の一実施形態に係るヘアブラシは、
ベース部と、
前記ベース部の前面から立設した複数のピンと、
を備え、
前記ベース部は、後面から前面まで貫通する通気路を形成し、
前記通気路を形成する前記ベース部の壁面の後端は、前記ベース部の外側よりも中心側の方が後方に位置する。
【0009】
このヘアブラシは、通気路を形成するベース部の壁面において、ベース部の外側に位置する壁面よりも中心側に位置する壁面の方が後方に位置している。例えば、ヘアブラシの外側から中心側に向けてドライヤーの風をあてる場合等において、その風の流れを中心側の壁面によって受け止めることができる。このため、他の本発明のヘアブラシは、通気路を形成するベース部の壁面の後端位置がベース部の中心側と外側とで同等である場合と比較して、後端の開口から通気路に空気を取り込みやすい。
【0010】
したがって、本発明のヘアブラシは、ブラッシング位置により多くの風を導くことができる。
【図面の簡単な説明】
(【0011】以降は省略されています)
この特許をJ-PlatPat(特許庁公式サイト)で参照する
関連特許
株式会社 MTG
光美容器
5日前
株式会社 MTG
ヘアブラシ
10日前
株式会社 MTG
ヘアーブラシ
20日前
個人
歯ブラシ
5か月前
個人
歯の清掃具ホルダー
10か月前
個人
歯ブラシ及び緩衝材
1か月前
個人
不織布舌ブラシ
8か月前
個人
歯ブラシ
4か月前
個人
歯磨き用マスク
7か月前
エビス株式会社
歯ブラシ
6か月前
個人
歯ブラシ補助具
6か月前
マクセルイズミ株式会社
電気機器
19日前
個人
歯ブラシ
8か月前
株式会社TBM
歯ブラシ
4か月前
株式会社 資生堂
化粧料塗布具
3か月前
個人
歯ブラシ
3か月前
ライオン株式会社
歯ブラシ
4か月前
株式会社吉野工業所
歯ブラシ
8か月前
株式会社マンダム
ブラシ
5か月前
東レ・モノフィラメント株式会社
ブラシ用毛材
10日前
東レ・モノフィラメント株式会社
ブラシ用毛材
10日前
ライオン株式会社
歯ブラシ
4か月前
ライオン株式会社
歯ブラシ
4か月前
ライオン株式会社
歯ブラシ
4か月前
槌屋ティスコ株式会社
ブラシ体及びその製造方法
11か月前
日南金属工業株式会社
携帯歯ブラシ(ポケット歯ブラシ)
6日前
ライオン株式会社
動物用ブラシ
8か月前
サンスター株式会社
口腔ケア用具のハンドル
4か月前
小林製薬株式会社
歯ブラシ
8か月前
小林製薬株式会社
歯ブラシ
8か月前
小林製薬株式会社
歯ブラシ
8か月前
小林製薬株式会社
歯ブラシ
8か月前
小林製薬株式会社
歯ブラシ
8か月前
サンスター株式会社
歯ブラシ
5か月前
サンスター株式会社
歯ブラシ
5か月前
花王株式会社
口腔ケアセット
4か月前
続きを見る
他の特許を見る