TOP
|
特許
|
意匠
|
商標
特許ウォッチ
Twitter
他の特許を見る
10個以上の画像は省略されています。
公開番号
2025142342
公報種別
公開特許公報(A)
公開日
2025-09-30
出願番号
2025127690,2022516970
出願日
2025-07-30,2021-04-13
発明の名称
半導体装置
出願人
ローム株式会社
代理人
個人
主分類
H01L
25/07 20060101AFI20250919BHJP(基本的電気素子)
要約
【課題】並列に接続された複数の半導体素子に流れる電流の偏りを抑制できる半導体装置を提供する。
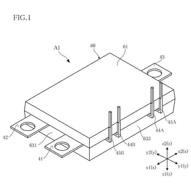
【解決手段】半導体装置A4は、電気的に互いに並列接続された複数の半導体素子10と、複数の半導体素子10に導通するパッド部421と、パッド部421に導通する端子部422とを備える。パッド部421は、同一直線上にない第1頂点P1、第2頂点P2および第3頂点P3を、それぞれ2つずつ結んでできる3つの線分L12,L23、L31に囲まれた閉領域R1を含んで形成されている。第1頂点P1は、z方向に見て複数の半導体素子10のうちy1方向側において最も外側の半導体素子10に重なる。第2頂点P2は、z方向に見て複数の半導体素子10のうちy2方向側において最も外側の半導体素子10に重なる。第3頂点P3は、z方向に見て、線分L12の垂直二等分線L0上に位置する。
【選択図】図15
特許請求の範囲
【請求項1】
厚さ方向に離間する主面および裏面を有する絶縁基板と、
前記主面に形成された主面金属層と、
前記裏面に形成された裏面金属層と、
各々が前記厚さ方向に離間する素子主面および素子裏面を有し、電気的に互いに並列接続された複数の半導体素子と、
前記複数の半導体素子に導通するパッド部と、
前記パッド部に導通する第1端子部と、
を備えており、
前記複数の半導体素子の各々は、前記素子主面に形成された主面電極および制御電極と、前記素子裏面に形成された裏面電極と、を含み、
前記パッド部は、同一直線上にない第1頂点、第2頂点および第3頂点を、それぞれ2つずつ結んでできる3つの線分に囲まれた閉領域を含んで形成されており、
前記第1頂点は、前記厚さ方向に見て、前記複数の半導体素子のうち、前記厚さ方向に直交する第1方向の一方側において最も外側の半導体素子に重なり、
前記第2頂点は、前記厚さ方向に見て、前記複数の半導体素子のうち前記第1方向の他方側において最も外側の半導体素子に重なり、
前記第3頂点は、前記厚さ方向に見て、前記第1頂点と前記第2頂点とを結ぶ線分の垂直二等分線上に位置し、
前記複数の半導体素子の各々の前記主面電極は、導電性ブロック材を介して前記パッド部に導通接合されている、半導体装置。
続きを表示(約 930 文字)
【請求項2】
前記パッド部と前記第1端子部とを連結する連結部をさらに備えており、
前記連結部は、前記パッド部に接する第1部を含み、
前記第1部は、前記厚さ方向に見て、前記垂直二等分線に重なる、請求項1に記載の半導体装置。
【請求項3】
前記パッド部および前記第1部はそれぞれ、前記厚さ方向に見て矩形状である、請求項2に記載の半導体装置。
【請求項4】
前記パッド部は、前記厚さ方向において前記素子主面上に位置し、かつ、前記複数の半導体素子の各々の前記主面電極に導通する、請求項1ないし請求項3のいずれか1つに記載の半導体装置。
【請求項5】
前記複数の半導体素子の各々の一部ずつは、前記厚さ方向に見て、前記パッド部に重ならない、請求項1ないし請求項4のいずれか1つに記載の半導体装置。
【請求項6】
前記複数の半導体素子の各々は、前記裏面電極が前記主面金属層に接合されている、請求項1ないし請求項5のいずれか1つに記載の半導体装置。
【請求項7】
前記第1端子部から離間しつつ、互いに離間する第2端子部および第3端子部をさらに備え、
前記主面金属層は、互いに離間する第1導電部と第2導電部とを有し、
前記第2端子部は、前記第2導電部に導通し、
前記第3端子部は、前記第1導電部に導通する、請求項1ないし請求項6のいずれか1つに記載の半導体装置。
【請求項8】
前記パッド部は、前記厚さ方向に見て、前記第1導電部と前記第2導電部とに跨っている、請求項7に記載の半導体装置。
【請求項9】
前記第1頂点および前記第2頂点は、前記厚さ方向に見て、前記第1導電部に重なり、
前記第3頂点は、前記厚さ方向に見て、前記第2導電部に重なる、請求項8に記載の半導体装置。
【請求項10】
前記第2端子部は、前記第1方向において前記第1端子部に並んでおり、かつ、前記第1方向に見て前記第1端子部に重なる、請求項8または請求項9のいずれかに記載の半導体装置。
(【請求項11】以降は省略されています)
発明の詳細な説明
【技術分野】
【0001】
本開示は、半導体装置に関する。
続きを表示(約 2,300 文字)
【背景技術】
【0002】
従来、MOSFET(Metal Oxide Semiconductor Field Effect Transistor)やIGBT(Insulated Gate Bipolar Transistor)などの電力用の半導体素子を備える半導体装置が知られている。このような半導体装置において、大容量化や高出力化のために、複数の半導体素子を互いに並列に接続させて使用することがある(たとえば特許文献1)。特許文献1に記載の半導体装置は、2つの半導体素子と、第1端子および第2端子と、第1接続導体および第2接続導体と、ワイヤとを備えている。特許文献1において、2つの半導体素子はそれぞれ、IGBTである。2つの半導体素子はそれぞれ、第1接続導体に搭載され、2つの半導体素子の各コレクタ電極が第1接続導体に導通する。第1接続導体は、第1端子に接続されている。第1端子は、たとえばコレクタ端子である。2つの半導体素子の各エミッタ電極には、ワイヤが接合されており、このワイヤを介して、第2接続導体にそれぞれ導通する。第2接続導体は、第2端子に接続されている。第2端子は、たとえばエミッタ端子である。
【先行技術文献】
【特許文献】
【0003】
特開2009-148077号公報
【発明の概要】
【発明が解決しようとする課題】
【0004】
特許文献1に記載の半導体装置においては、たとえば、第1端子から各半導体素子までの電流経路に距離差がある。この距離差により、各半導体素子に流れる電流の大きさに偏りが生じる可能性があった。この偏りは、一方の半導体素子の負担を増大させ、他方の半導体素子よりも寿命を短くする要因である。
【0005】
上記事情に鑑み、本開示は、並列に接続された複数の半導体素子に流れる電流の偏りを抑制できる半導体装置を提供することを一の課題とする。
【課題を解決するための手段】
【0006】
本開示の半導体装置は、各々が厚さ方向に離間する第1素子主面および第1素子裏面を有し、電気的に互いに並列接続された複数の第1半導体素子と、前記複数の第1半導体素子に導通するパッド部と、前記パッド部に導通する第1端子部と、を備えている。前記複数の第1半導体素子は、前記厚さ方向に見て、前記厚さ方向に直交する第1方向に沿って配列されている。前記パッド部は、同一直線上にない第1頂点、第2頂点および第3頂点を、それぞれ2つずつ結んでできる3つの線分に囲まれた閉領域を含んでいる。前記第1頂点は、前記厚さ方向に見て、前記複数の第1半導体素子のうち前記第1方向の一方側において最も外側の第1半導体素子に重なる。前記第2頂点は、前記厚さ方向に見て、前記複数の第1半導体素子のうち前記第1方向の他方側において最も外側の第1半導体素子に重なる。前記第3頂点は、前記厚さ方向に見て、前記第1頂点と前記第2頂点とを結ぶ線分の垂直二等分線上に位置する。
【発明の効果】
【0007】
本開示の半導体装置によれば、並列に接続された複数の半導体素子に流れる電流の差を抑制することができる。
【図面の簡単な説明】
【0008】
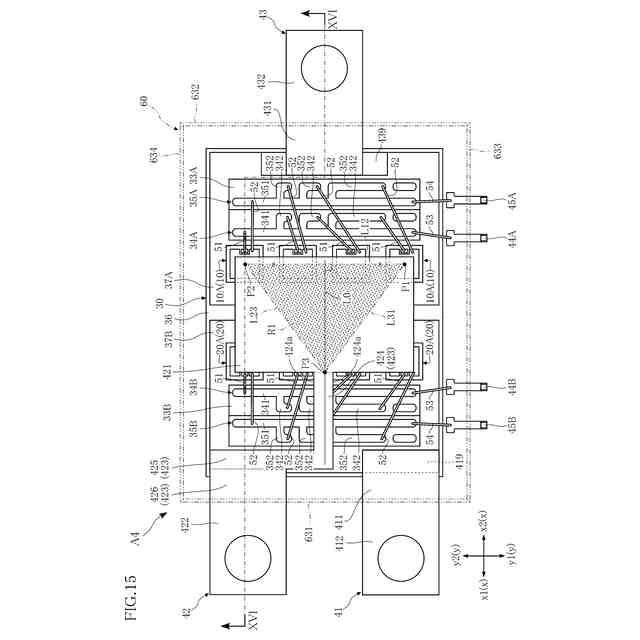
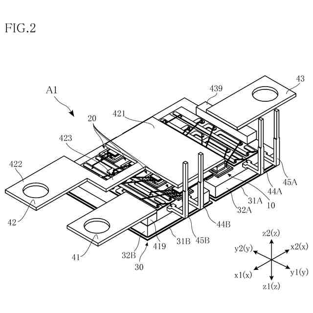
第1実施形態にかかる半導体装置を示す斜視図である。
図1の斜視図において樹脂部材を省略した図である。
第1実施形態にかかる半導体装置を示す平面図である。
図3の平面図において樹脂部材を想像線で示した図である。
図4の平面図において2つの入力端子および出力端子を想像線で示した図である。
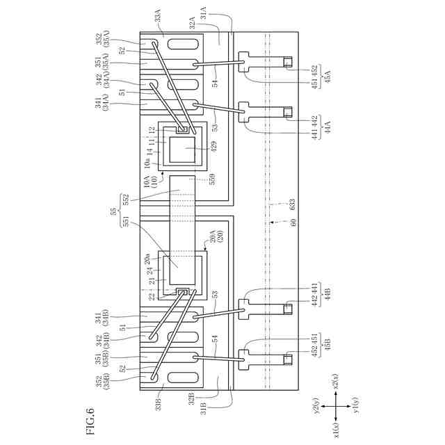
図5の一部を拡大した部分拡大図である。
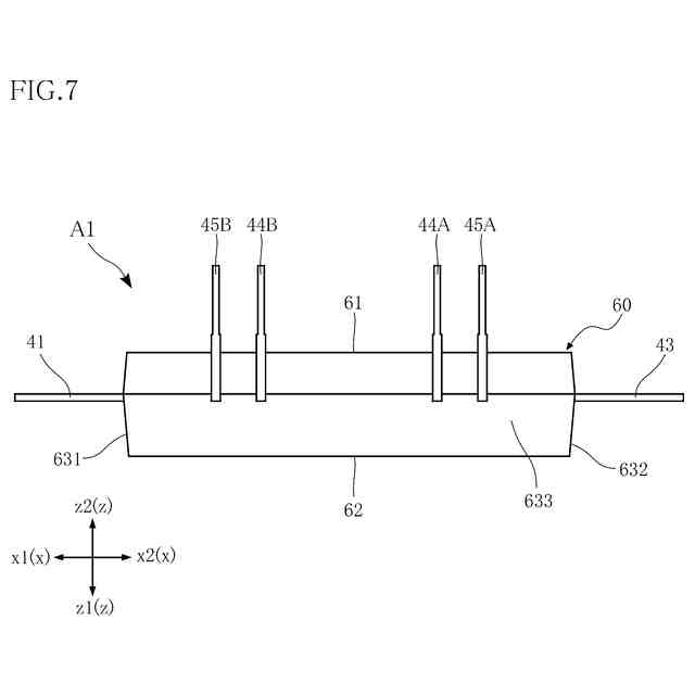
第1実施形態にかかる半導体装置を示す正面図である。
第1実施形態にかかる半導体装置を示す底面図である。
第1実施形態にかかる半導体装置を示す左側面図である。
図5のX-X線に沿う断面図である。
第2実施形態にかかる半導体装置を示す平面図であって、樹脂部材を想像線で示した図である。
第3実施形態にかかる半導体装置を示す平面図であって、2つの入力端子、出力端子および樹脂部材を想像線で示した図である。
図12の平面図において、要部を抽出した図である。
図12のXIV-XIV線に沿う断面図である。
第4実施形態にかかる半導体装置を示す平面図であって、樹脂部材を想像線で示した図である。
図15のXVI-XVI線に沿う断面図である。
【発明を実施するための形態】
【0009】
本開示の半導体装置の好ましい実施の形態について、図面を参照して、以下に説明する。以下の説明において、同一あるいは類似の構成要素については、同じ符号を付して重複する説明を省略する。
【0010】
図1~図10は、第1実施形態にかかる半導体装置A1を示している。半導体装置A1は、複数の半導体素子10,20、支持基板30、複数の端子、複数の接続部材および樹脂部材60を備えている。複数の端子は、2つの入力端子41,42、出力端子43、一対の制御端子44A,44Bおよび一対の検出端子45A,45Bを含む。複数の接続部材は、複数のゲートワイヤ51、複数の検出ワイヤ52、一対の第1接続ワイヤ53、一対の第2接続ワイヤ54および複数のリード板55を含む。
(【0011】以降は省略されています)
この特許をJ-PlatPat(特許庁公式サイト)で参照する
関連特許
ローム株式会社
RAM
2日前
ローム株式会社
RAM
2日前
ローム株式会社
駆動回路
4日前
ローム株式会社
電源装置
2日前
ローム株式会社
発振回路
2日前
ローム株式会社
半導体装置
5日前
ローム株式会社
暗号化装置
3日前
ローム株式会社
半導体装置
9日前
ローム株式会社
半導体装置
9日前
ローム株式会社
半導体装置
9日前
ローム株式会社
メモリ装置
9日前
ローム株式会社
半導体装置
2日前
ローム株式会社
半導体装置
3日前
ローム株式会社
半導体装置
2日前
ローム株式会社
半導体装置
4日前
ローム株式会社
半導体装置
2日前
ローム株式会社
半導体装置
11日前
ローム株式会社
テスト回路
3日前
ローム株式会社
半導体装置
9日前
ローム株式会社
半導体装置
9日前
ローム株式会社
半導体装置
3日前
ローム株式会社
半導体装置
4日前
ローム株式会社
半導体装置
11日前
ローム株式会社
半導体装置
3日前
ローム株式会社
半導体装置
4日前
ローム株式会社
半導体装置
2日前
ローム株式会社
半導体装置
11日前
ローム株式会社
半導体装置
2日前
ローム株式会社
半導体装置
3日前
ローム株式会社
無線通信装置
3日前
ローム株式会社
時間測定回路
4日前
ローム株式会社
無線通信回路
4日前
ローム株式会社
信号出力回路
9日前
ローム株式会社
静電気保護素子
2日前
ローム株式会社
フォトダイオード
4日前
ローム株式会社
異常検知システム
2日前
続きを見る
他の特許を見る