TOP
|
特許
|
意匠
|
商標
特許ウォッチ
Twitter
他の特許を見る
10個以上の画像は省略されています。
公開番号
2025142704
公報種別
公開特許公報(A)
公開日
2025-10-01
出願番号
2024042214
出願日
2024-03-18
発明の名称
弁装置、逆止弁、及び冷凍サイクルシステム
出願人
株式会社鷺宮製作所
代理人
個人
,
個人
,
個人
主分類
F16K
15/02 20060101AFI20250924BHJP(機械要素または単位;機械または装置の効果的機能を生じ維持するための一般的手段)
要約
【課題】縦置き姿勢での使用時における一次二次相互間の微差圧環境下でのチャタリング発生時の衝突音を抑えることができる弁装置、逆止弁、及び冷凍サイクルシステムを提供する。
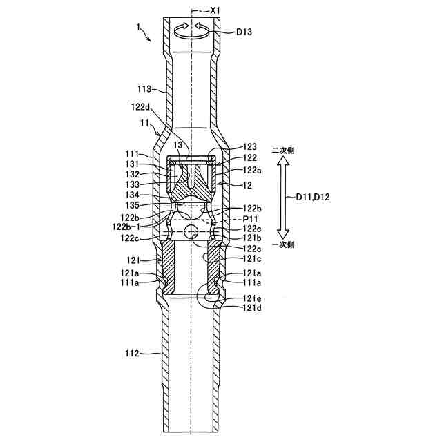
【解決手段】逆止弁1(弁装置)において、弁本体12の弁ホルダ122と弁体13のうちの弁ホルダ122に、弁開状態へと弁体13が移行すると、当該弁体13の下端面が、弁ホルダ122の周壁122aを貫通する連通孔122bの開口位置P11に達する前に、連通孔122bの全開時における流通量よりは少ない流通量で流体を弁座部121の弁口121cから外管部11の内部へと逃がす逃がし孔122c(逃がし流路)が設けられていることを特徴とする。
【選択図】図1
特許請求の範囲
【請求項1】
筒状に形成され重力方向に軸方向が沿う縦置き姿勢で配置される外管部と、前記外管部に内蔵される弁本体と、前記弁本体に設けられる弁体と、を備えた弁装置であって、
前記弁本体は、前記弁体を前記軸方向に移動自在に支持する筒状の弁ホルダと、前記弁体が着座可能で着座した前記弁体により閉じられる弁口が設けられた弁座部と、を有し、
前記弁体は、前記弁座部に着座した弁閉状態で、前記外管部において前記重力方向の下方側となる一次側から上方側となる二次側への流体の流れによって前記弁座部から押し上げられて弁開状態となり、前記流体の流れが停止したときの自重による落下、及び前記二次側からの逆流による押下げ、のうちの少なくとも一方によって前記弁閉状態に戻るように設けられ、
前記弁ホルダには、当該弁ホルダの周壁を貫通して前記外管部の内部と前記弁口とを連通する孔であって、前記弁開状態の前記弁体が、前記孔を前記流体が通過可能となる開口位置に達するまでは前記弁体によって塞がれる連通孔が設けられ、
前記弁ホルダ及び前記弁体のうちの少なくとも一方に、前記弁開状態へと前記弁体が移行すると、当該弁体が前記開口位置に達する前に、前記連通孔の全開時における流通量よりは少ない流通量で前記流体を前記弁口から前記外管部の内部へと逃がす逃がし流路が設けられていることを特徴とする弁装置。
続きを表示(約 890 文字)
【請求項2】
前記弁座部における前記弁体の着座面から前記連通孔の開口端縁までの前記軸方向の長さAが、前記弁ホルダの内周半径Bの1/2以上に設定されていることを特徴とする請求項1に記載の弁装置。
【請求項3】
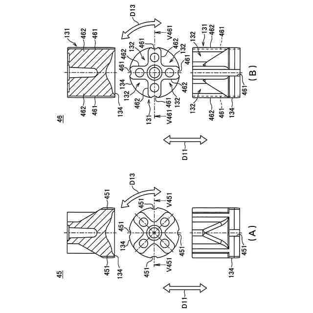
前記逃がし流路が、前記弁ホルダの前記周壁を、前記連通孔よりも前記一次側で貫通して前記外管部の内部と前記弁口とを連通する、前記連通孔よりも孔寸法が小さい逃がし孔であることを特徴とする請求項1に記載の弁装置。
【請求項4】
前記逃がし孔の開口面積の前記連通孔の開口面積に対する開口面積比Rが、
1/5<R<1/2
であることを特徴とする請求項3に記載の弁装置。
【請求項5】
前記逃がし孔が、前記弁ホルダの前記周壁を複数箇所で貫通するように複数個設けられていることを特徴とする請求項3に記載の弁装置。
【請求項6】
複数個の前記逃がし孔は、筒状の前記弁ホルダの前記周壁に、周方向に均等の角度間隔で配置されていることを特徴とする請求項5に記載の弁装置。
【請求項7】
複数個の前記逃がし孔は、前記弁ホルダの前記周壁に、前記軸方向について前記弁口から一定の高さで周方向に並ぶように配置されていることを特徴とする請求項5に記載の弁装置。
【請求項8】
前記逃がし孔が、前記弁ホルダの前記周壁を見る側面視で、円形、四角形、長円形、楕円形、及び三角形のうちの何れかの形状となるように形成されていることを特徴とする請求項3に記載の弁装置。
【請求項9】
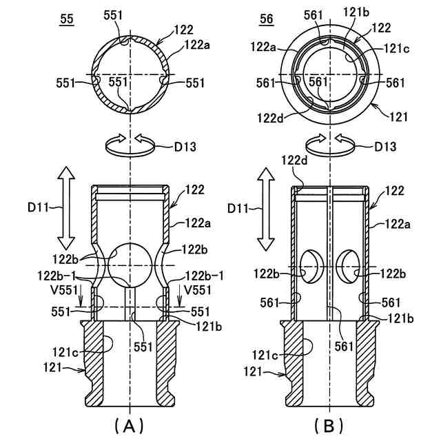
前記逃がし流路が、前記弁ホルダの内周面、及び前記弁体の外周面のうちの少なくとも一方に、前記弁開状態で前記弁口からの前記流体が前記弁体を越えて前記二次側へと通過可能な溝状に形成された逃がし溝であることを特徴とする請求項1に記載の弁装置。
【請求項10】
請求項1~9のうち何れか一項に記載の弁装置により構成されることを特徴とする逆止弁。
(【請求項11】以降は省略されています)
発明の詳細な説明
【技術分野】
【0001】
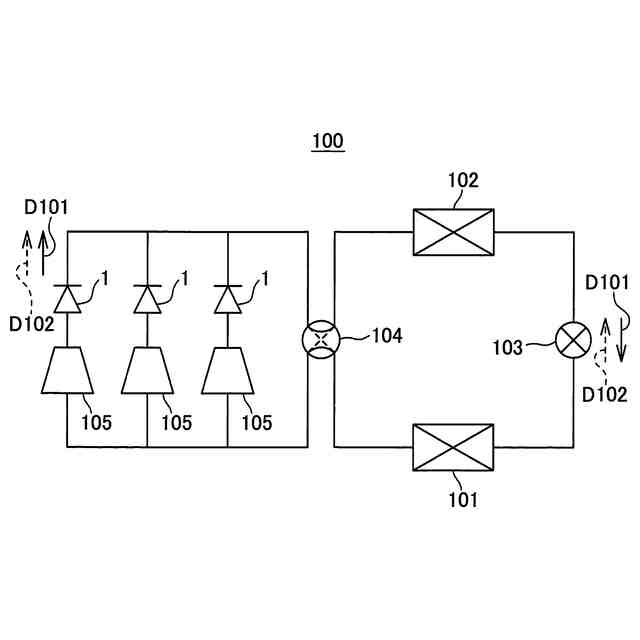
本発明は、弁装置、逆止弁、及び冷凍サイクルシステムに関する。
続きを表示(約 2,400 文字)
【背景技術】
【0002】
従来、筒状の外管部と、外管部に内蔵されて弁口が設けられた弁座部を有する弁本体と、弁座部に着座可能で着座時に弁口を閉じるように弁本体に設けられる弁体と、を備えた弁装置が知られている(例えば、特許文献1参照。)。この特許文献1に記載の弁装置は、外管部の一方側(一次側)から他方側(二次側)への流体の流れによって弁体が離座して弁開状態となり、二次側からの逆流等によって着座して弁閉状態に戻る。また、弁本体は、弁体を移動自在に内部に支持する筒状の弁ホルダを有しており、この弁ホルダの周壁に、外管部の内部と弁口とを連通する連通孔が設けられている。この連通孔は、弁開状態の弁体が二次側へと移動することで開口する。連通孔が開口すると、この連通孔を介して流体が一次側から二次側へと流れることとなる。このような構成を利用して、特許文献1に記載の弁装置は、一次側からの流体の流れを通し、二次側からの逆流を止める逆止弁として用いられることがある。
【先行技術文献】
【特許文献】
【0003】
特開2022-018217号公報
【発明の概要】
【発明が解決しようとする課題】
【0004】
ここで、上述の弁装置は、外管部の軸方向が重力方向に沿う縦置き姿勢で、下方側を一次側、上方側を二次側として使用されることがある。このような縦置き姿勢では、弁体に、自重によって一次側へと向かおうとする力が常に掛かることとなる。このとき、一次側から二次側へと流体を向かわせる一次二次相互間の差圧が、弁体をその自重に抗して辛うじて押し上げる程度の微差圧となる場合がある。この微差圧の場合、弁体の移動により連通孔が開口して流路が拡がり、ただでさえ小さい差圧が低下すると、弁体は、差圧による支えを失い、自重によって弁座部へと落下して衝突音が発生する。弁体の落下によって弁口が塞がれると差圧が増大し、弁体は再び上昇を始める。一次二次相互間の微差圧環境下では、このように弁体が上昇と落下を繰り返すチャタリングが発生し、これに伴って何度も衝突音が発生することがある。そして、このようなチャタリング発生時の衝突音が大き過ぎると、周囲のユーザに不快感を与える場合があり、そのような衝突音の抑制が望まれる。
【0005】
本発明の目的は、縦置き姿勢での使用時における一次二次相互間の微差圧環境下でのチャタリング発生時の衝突音を抑えることができる弁装置、逆止弁、及び冷凍サイクルシステムを提供することである。
【課題を解決するための手段】
【0006】
上記課題を解決するために、弁装置は、筒状に形成され重力方向に軸方向が沿う縦置き姿勢で配置される外管部と、前記外管部に内蔵される弁本体と、前記弁本体に設けられる弁体と、を備えた弁装置であって、前記弁本体は、前記弁体を前記軸方向に移動自在に支持する筒状の弁ホルダと、前記弁体が着座可能で着座した前記弁体により閉じられる弁口が設けられた弁座部と、を有し、前記弁体は、前記弁座部に着座した弁閉状態で、前記外管部において前記重力方向の下方側となる一次側から上方側となる二次側への流体の流れによって前記弁座部から押し上げられて弁開状態となり、前記流体の流れが停止したときの自重による落下、及び前記二次側からの逆流による押下げ、のうちの少なくとも一方によって前記弁閉状態に戻るように設けられ、前記弁ホルダには、当該弁ホルダの周壁を貫通して前記外管部の内部と前記弁口とを連通する孔であって、前記弁開状態の前記弁体が、前記孔を前記流体が通過可能となる開口位置に達するまでは前記弁体によって塞がれる連通孔が設けられ、前記弁ホルダ及び前記弁体のうちの少なくとも一方に、前記弁開状態へと前記弁体が移行すると、当該弁体が前記開口位置に達する前に、前記連通孔の全開時における流通量よりは少ない流通量で前記流体を前記弁口から前記外管部の内部へと逃がす逃がし流路が設けられていることを特徴とする。
【0007】
この弁装置では、弁閉状態から弁開状態への移行時には、弁体が連通孔の開口位置に達する前に、弁ホルダ及び弁体のうちの少なくとも一方に設けられた逃がし流路を介して、流体が弁口から外管部の内部へと逃がされる。この流体逃がしにより、一次二次相互間の差圧は連通孔を流体が通過可能となる前の段階で低下することとなる。低下した差圧が弁体の自重に抗しきれない程度のものであれば、この段階で弁体は落下する。また、低下した差圧が弁体を自重に抗して押上げ可能なものであった場合でも、流体逃がしの前の差圧がそもそも微差圧である場合には、弁体が連通孔の開口位置に達して流体が通過可能となるのと略同時に弁体は落下する。何れの場合でも、落下直前の弁体の弁座部からの高さが、低く抑えられることとなり、落下時の衝突音が抑えられることとなる。このように、上述の弁装置によれば、縦置き姿勢での使用時における一次二次相互間の微差圧環境下でのチャタリング発生時の衝突音を抑えることができる。
【0008】
また、上記の逃がし流路は、一次二次相互間の差圧が通常の環境下では、一次側から二次側への流体の流路面積を増やすことになるので、流量増加によって圧損を低減させることもできる。
【0009】
ここで、前記弁座部における前記弁体の着座面から前記連通孔の開口端縁までの前記軸方向の長さAが、前記弁ホルダの内周半径Bの1/2以上に設定されていることが好適である。
【0010】
この構成によれば、弁座部の着座面から連通孔の開口端縁までの間に、寸法上の余裕を持って逃がし流路を設けることができる。
(【0011】以降は省略されています)
この特許をJ-PlatPat(特許庁公式サイト)で参照する
関連特許
株式会社鷺宮製作所
弁装置、接続構造、および接続方法
13日前
株式会社鷺宮製作所
シミュレータおよびディスプレイ架台
3日前
株式会社鷺宮製作所
コイル装置及びこれを備える流量調整弁
22日前
株式会社鷺宮製作所
弁装置、逆止弁、及び冷凍サイクルシステム
1日前
株式会社鷺宮製作所
スイッチ
21日前
株式会社鷺宮製作所
音計測装置
15日前
株式会社鷺宮製作所
音検出装置
23日前
株式会社鷺宮製作所
音検出装置
1か月前
個人
鍋虫ねじ
1か月前
個人
回転伝達機構
1か月前
個人
ホース保持具
5か月前
個人
紛体用仕切弁
1か月前
個人
トーションバー
6か月前
個人
差動歯車用歯形
3か月前
個人
ジョイント
13日前
株式会社不二工機
電磁弁
3か月前
株式会社不二工機
電磁弁
4か月前
個人
回転式配管用支持具
7か月前
個人
ボルトナットセット
6か月前
個人
ナット
14日前
個人
地震の揺れ回避装置
2か月前
株式会社オンダ製作所
継手
7か月前
個人
吐出量監視装置
1か月前
カヤバ株式会社
緩衝器
6か月前
柿沼金属精機株式会社
分岐管
1か月前
株式会社ミクニ
弁装置
7か月前
カヤバ株式会社
ダンパ
3か月前
カヤバ株式会社
ダンパ
3か月前
個人
ベルトテンショナ
7か月前
カヤバ株式会社
緩衝器
2か月前
カヤバ株式会社
緩衝器
2か月前
株式会社三協丸筒
枠体
6か月前
株式会社ミクニ
弁装置
7か月前
カヤバ株式会社
緩衝装置
7か月前
株式会社ノーリツ
分配弁
4か月前
日東電工株式会社
断熱材
5か月前
続きを見る
他の特許を見る