TOP
|
特許
|
意匠
|
商標
特許ウォッチ
Twitter
他の特許を見る
公開番号
2025134948
公報種別
公開特許公報(A)
公開日
2025-09-17
出願番号
2025107165,2021210338
出願日
2025-06-25,2021-12-24
発明の名称
音計測装置
出願人
株式会社鷺宮製作所
代理人
個人
,
個人
,
個人
主分類
H04R
1/02 20060101AFI20250909BHJP(電気通信技術)
要約
【課題】本発明は、保持部の部品点数を少なくすることができるとともに、音センサを振動し難くすることで、計測誤差の発生を抑制することができる音計測装置を提供することを目的とする。
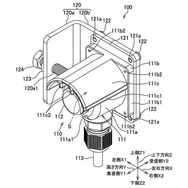
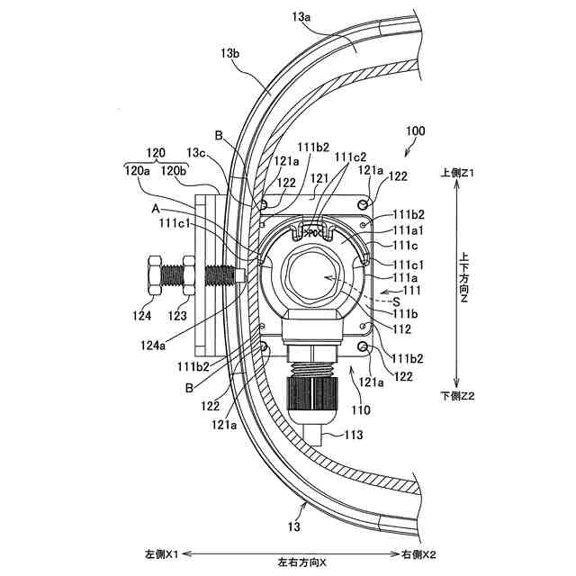
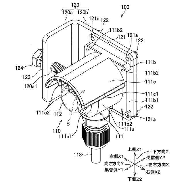
【解決手段】音計測装置100は、音センサ110と、音センサ110をスピーカ13のホーン13aの内側に向けて保持する保持部120と、を備えている。音センサ110は、集音基板Sと、集音基板Sを内蔵するセンサハウジング111と、を有し、センサハウジング111の一部がホーン13aの内面に当接してセンサハウジング111がホーン13aに固定されている。
【選択図】図3
特許請求の範囲
【請求項1】
スピーカが発する音を検知する音センサと、
前記音センサを前記スピーカのホーンの内側に向けて保持する保持部と、を備え、
前記音センサは、センサ本体と、前記センサ本体を内蔵するセンサハウジングと、を有し、
前記センサハウジングの一部が前記ホーンの内面に当接して前記センサハウジングが前記ホーンに固定されていることを特徴とする音計測装置。
続きを表示(約 480 文字)
【請求項2】
前記センサハウジングには、前記ホーンの奥側において前記ホーンに当接する第一当接部と、前記ホーンの開口端側に位置するとともに前記ホーンの開口端縁に沿って互いに離間して前記ホーンに当接する少なくとも2個の第二当接部と、が設けられ、
前記第一当接部は、前記ホーンの前記奥側から見た場合に、少なくとも2個の前記第二当接部の間となる位置に配置され、
前記センサハウジングは、前記第一当接部および前記第二当接部を介して前記ホーンに支持されることを特徴とする請求項1に記載の音計測装置。
【請求項3】
前記保持部は、前記ホーンの外側に位置する第一片部と、前記第一片部を貫通して延び且つ前記ホーンの外面を押圧する押圧部材と、を備え、
前記押圧部材の押圧力により、前記センサハウジングが前記ホーンに固定されることを特徴とする請求項1または2に記載の音計測装置。
【請求項4】
前記押圧部材は、前記第一片部を貫通する方向に進退可能なねじ部材により構成されることを特徴とする請求項3に記載の音計測装置。
発明の詳細な説明
【技術分野】
【0001】
本発明は、音計測装置に関する。
続きを表示(約 1,200 文字)
【背景技術】
【0002】
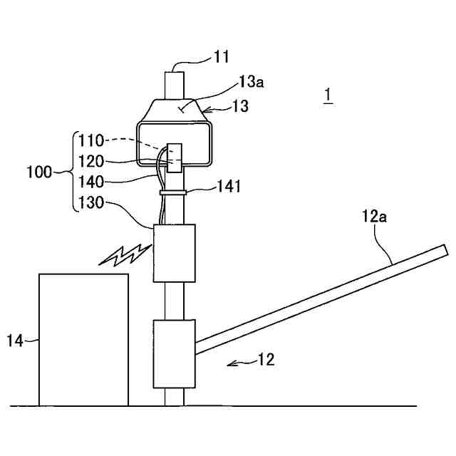
スピーカが発する音を検知する音センサと、スピーカのホーンにおける開口端縁側の一部分を挟み込んで把持するとともに、音センサをホーンの内側に向けて保持する保持部と、を備えた音計測装置が知られている(例えば、特許文献1参照)。
【先行技術文献】
【特許文献】
【0003】
特開2021-82990号公報
【発明の概要】
【発明が解決しようとする課題】
【0004】
上述の音計測装置では、保持部は、断面コ字形のクランプと、クランプに固定された連結板と、を有し、連結板に音センサが取り付けられている。このため、保持部を構成する部品点数が多くなるとともに、音センサがクランプから離れて取り付けられることで振動しやすくなり、音圧の計測値に誤差が生じる可能性がある。
【0005】
本発明は、保持部の部品点数を少なくすることができるとともに、音センサを振動し難くすることで、計測誤差の発生を抑制することができる音計測装置を提供することを目的とする。
【課題を解決するための手段】
【0006】
上記課題を解決するために、本発明の音計測装置は、スピーカが発する音を検知する音センサと、前記音センサを前記スピーカのホーンの内側に向けて保持する保持部と、を備え、前記音センサは、センサ本体と、前記センサ本体を内蔵するセンサハウジングと、を有し、前記センサハウジングの一部が前記ホーンの内面に当接して前記センサハウジングが前記ホーンに固定されていることを特徴とする。
【0007】
また、この際、前記センサハウジングには、前記ホーンの奥側において前記ホーンに当接する第一当接部と、前記ホーンの開口端側に位置するとともに前記ホーンの開口端縁に沿って互いに離間して前記ホーンに当接する少なくとも2個の第二当接部と、が設けられ、前記第一当接部は、前記ホーンの前記奥側から見た場合に、少なくとも2個の前記第二当接部の間となる位置に配置され、前記センサハウジングは、前記第一当接部および前記第二当接部を介して前記ホーンに支持されることが好ましい。
【0008】
また、前記保持部は、前記ホーンの外側に位置する第一片部と、前記第一片部を貫通して延び且つ前記ホーンの外面を押圧する押圧部材と、を備え、前記押圧部材の押圧力により、前記センサハウジングが前記ホーンに固定されることが好ましい。
【0009】
また、前記押圧部材は、前記第一片部を貫通する方向に進退可能なねじ部材により構成されることが好ましい。
【発明の効果】
【0010】
本発明によれば、保持部の部品点数を少なくすることができるとともに、音センサを振動し難くすることで、計測誤差の発生を抑制することができる音計測装置を提供することができる。
【図面の簡単な説明】
(【0011】以降は省略されています)
この特許をJ-PlatPat(特許庁公式サイト)で参照する
関連特許
株式会社鷺宮製作所
弁装置、接続構造、および接続方法
13日前
株式会社鷺宮製作所
シミュレータおよびディスプレイ架台
3日前
株式会社鷺宮製作所
コイル装置及びこれを備える流量調整弁
22日前
株式会社鷺宮製作所
弁装置、逆止弁、及び冷凍サイクルシステム
1日前
株式会社鷺宮製作所
スイッチ
21日前
株式会社鷺宮製作所
音計測装置
15日前
株式会社鷺宮製作所
音検出装置
23日前
株式会社鷺宮製作所
音検出装置
1か月前
個人
店内配信予約システム
2か月前
サクサ株式会社
中継装置
2か月前
WHISMR合同会社
収音装置
21日前
キヤノン株式会社
撮像装置
1か月前
キヤノン株式会社
撮像装置
3か月前
アイホン株式会社
電気機器
15日前
キヤノン株式会社
電子機器
2か月前
個人
ワイヤレスイヤホン対応耳掛け
13日前
日本精機株式会社
画像投映システム
2か月前
ヤマハ株式会社
信号処理装置
3か月前
株式会社リコー
画像形成装置
1か月前
キヤノン電子株式会社
画像読取装置
22日前
株式会社リコー
画像形成装置
1か月前
株式会社リコー
画像形成装置
1か月前
電気興業株式会社
無線中継器
3か月前
キヤノン電子株式会社
モバイル装置
2か月前
ブラザー工業株式会社
読取装置
1か月前
株式会社ニコン
撮像装置
2か月前
キヤノン株式会社
通信システム
3か月前
キヤノン株式会社
撮像システム
15日前
DXO株式会社
情報処理システム
2か月前
パテントフレア株式会社
超高速電波通信
29日前
パテントフレア株式会社
水中電波通信法
1か月前
国立大学法人電気通信大学
小型光学装置
1か月前
沖電気工業株式会社
画像形成装置
3日前
株式会社松平商会
携帯機器カバー
24日前
株式会社小糸製作所
画像照射装置
1か月前
大日本印刷株式会社
写真撮影装置
14日前
続きを見る
他の特許を見る