TOP
|
特許
|
意匠
|
商標
特許ウォッチ
Twitter
他の特許を見る
10個以上の画像は省略されています。
公開番号
2025136811
公報種別
公開特許公報(A)
公開日
2025-09-19
出願番号
2024035676
出願日
2024-03-08
発明の名称
弁装置、接続構造、および接続方法
出願人
株式会社鷺宮製作所
代理人
個人
,
個人
,
個人
主分類
F16K
27/00 20060101AFI20250911BHJP(機械要素または単位;機械または装置の効果的機能を生じ維持するための一般的手段)
要約
【課題】本発明は、低コストで製造および組み立てが容易な弁装置、接続構造、および接続方法を提供することを目的とする。
【解決手段】
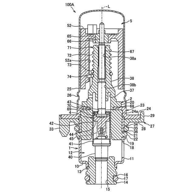
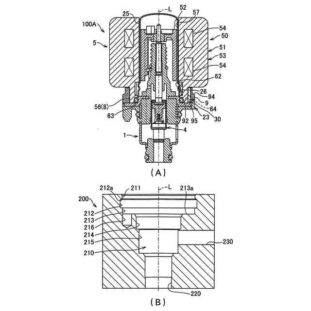
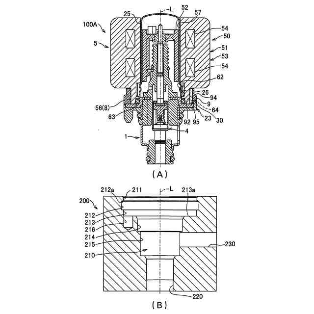
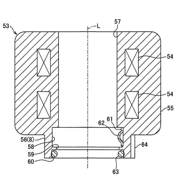
弁装置100Aは、接続体200の取付孔210に着脱される。弁装置100Aは、弁本体1と、弁本体1と取付孔210との間に介在する止め輪9と、止め輪9と弁本体1との間に介在する押出部材8と、を備えている。止め輪9には、径方向内方に突出する被当接部92が設けられ、押出部材8には、径方向外方に突出する当接部64が設けられている。止め輪9と押出部材8とを止め輪9の軸まわりに相対的に回転させることで、当接状態と、非当接状態と、が切り換え可能である。当接状態において、被当接部92が当接部64に押圧されて止め輪9が拡径することにより、止め輪9が取付孔210に対して脱落不能に係合する。
【選択図】図1
特許請求の範囲
【請求項1】
流路を備える接続体の取付孔に着脱される弁装置であって、
前記流路に連通する弁ポートを備える弁本体と、
前記弁ポートに近接または離間する弁体と、
前記弁本体と前記取付孔との間に介在して前記弁本体が前記取付孔から抜け出すことを規制する止め輪と、
前記止め輪と前記弁本体との間に介在する押出部材と、を備え、
前記止め輪には、径方向内方に突出する被当接部が設けられ、
前記押出部材には、径方向外方に突出する当接部が設けられ、
前記止め輪と前記押出部材とを前記止め輪の軸まわりに相対的に回転させることで、前記被当接部と前記当接部とが当接した当接状態と、前記被当接部と前記当接部とが当接しない非当接状態と、を切り換え可能であり、
前記当接状態において、前記被当接部が前記当接部に押圧されて前記止め輪が拡径することにより、前記止め輪が前記取付孔に対して脱落不能に係合することを特徴とする弁装置。
続きを表示(約 1,300 文字)
【請求項2】
前記被当接部は、前記当接部を周方向に摺接させる回動案内部を構成していることを特徴とする請求項1に記載の弁装置。
【請求項3】
前記回動案内部は、前記止め輪の内周面で周方向に断続的に設けられる前記被当接部としての凸部によりスプライン形状を有していることを特徴とする請求項2に記載の弁装置。
【請求項4】
前記凸部は、前記止め輪の前記軸まわりの一方側に向かうにしたがって前記径方向内方に位置するように傾斜したガイド面を備え、
前記当接部が、前記ガイド面に対して前記一方側に向かって摺接することで前記当接状態となり、
前記当接部が、前記ガイド面を前記一方側に乗り越えることで前記非当接状態となることを特徴とする請求項3に記載の弁装置。
【請求項5】
前記凸部は、前記止め輪の前記軸まわりの一方側に向かうにしたがって前記径方向内方に位置するように傾斜したガイド面を備え、
前記当接部が、前記ガイド面に対して前記一方側に向かって摺接することで前記当接状態となり、
前記当接部が、前記ガイド面に対して前記軸まわりの他方側に離間することで前記非当接状態となることを特徴とする請求項3に記載の弁装置。
【請求項6】
前記弁体を駆動する電磁コイル部を備え、
前記電磁コイル部の一部が前記押出部材を構成し、
前記押出部材には、前記止め輪の内周面に設けられた係止部に係止される被係止部が設けられていることを特徴とする請求項1に記載の弁装置。
【請求項7】
前記弁本体には、前記電磁コイル部に駆動されるロータが収容され、
前記電磁コイル部および前記弁本体のうちの一方には、前記軸まわりの径方向一方側に突出する突状の突出部が、前記軸まわりに一以上設けられ、
前記電磁コイル部および前記弁本体のうちの他方には、前記突出部が嵌合可能な凹状の被嵌合部が、前記軸まわりに一以上設けられ、
前記突出部と前記被嵌合部との嵌合により、前記ロータに対する前記電磁コイル部の位置が決まり、
少なくとも一の前記突出部と一の前記被嵌合部とが嵌合した状態で、前記当接状態となることを特徴とする請求項6に記載の弁装置。
【請求項8】
前記弁本体には、前記止め輪の底面側に配置されて径方向外方に突出するフランジ部が設けられ、
前記フランジ部には、前記止め輪の外周面に設けられた被係合部に係合して前記止め輪の回転を規制する回転規制部が設けられていることを特徴とする請求項1に記載の弁装置。
【請求項9】
前記フランジ部は、金属製のフランジ本体と、前記フランジ本体の少なくとも一部を覆う絶縁性のカバー部材と、を備え、
前記回転規制部は、前記カバー部材に設けられていることを特徴とする請求項8に記載の弁装置。
【請求項10】
前記止め輪は、前記当接状態において、前記取付孔の内壁に対して前記径方向外方に押し付けられた状態で脱落不能に係合していることを特徴とする請求項1に記載の弁装置。
(【請求項11】以降は省略されています)
発明の詳細な説明
【技術分野】
【0001】
本発明は、弁装置、接続構造、および接続方法に関する。
続きを表示(約 2,700 文字)
【背景技術】
【0002】
従来、冷媒や冷却水などの流れを制御するシステムにおいて、マニホールドとしての接続体にバルブとしての弁装置を接続する方法が提供されている(例えば、特許文献1~5参照)。特許文献1には、特許文献1の図4に示すように、第1の弁体部11(接続体)に形成された第一チャンバ111に、挿入状態で接続される筒状のバルブシートアセンブリ21(弁装置)が開示されている。バルブシートアセンブリ21には、径方向外方に突出するフランジ状の第1のシートボディ部232が形成されており、この第1のシートボディ部232が第一チャンバ111内壁に形成された腔117に挿入され、挿入固定ピン161によって変位を規制されることで、第1の弁体部11とバルブシートアセンブリ21とが接続されている。
【0003】
特許文献2には、特許文献2の図2または3に示すように、バイパス体30(接続体)に形成された取付口31に、挿入状態で接続される筒状の弁座10(弁装置)が開示されている。取付口31の内周面には雌ねじが形成され、弁座10の外周面には雄ねじが形成され、雌ねじと雄ねじの螺合によりバイパス体30と弁座10が接続されている。特許文献3には、特許文献3の図4に示すように、第1の弁体部11(接続体)に形成された第一チャンバ111に、挿入状態で接続される筒状のバルブシートアセンブリ21(弁装置)が開示されている。バルブシートアセンブリ21には、径方向外方に突出するフランジ状の第1のシートボディ部232と、第1のシートボディ部232外周に沿って延びる弾性爪としての弾性リミットアーム231が設けられている。弾性リミットアーム231は、第1の弁体部11の貫通孔内壁に形成された位置制限穴151に嵌合し、これによって、第1の弁体部11とバルブシートアセンブリ21とが接続されている。
【0004】
特許文献4には、特許文献4の図6に示すように、コネクタブロック1(接続体)に形成された貫通孔72に、挿入状態で接続される筒状の電磁弁8(弁装置)が開示されている。コネクタブロック1の貫通孔72の内面には、径方向外方に凹む凹部102cが形成され、電磁弁8には径方向外方に突出する突出部83が形成され、凹部102cに突出部83が進入した状態でコネクタブロック1と電磁弁8とが接続されている。特許文献5には、特許文献5の図23に示すように、弁ケース30(接続体)に形成された穴20に、挿入状態で接続される筒状の膨張弁(弁装置)が開示されている。膨張弁は、弁ケース30の穴の内面と膨張弁の外面との間に介在するC形の止め輪39により抜け止めされ、これによって、弁ケース30と膨張弁とが接続されている。
【先行技術文献】
【特許文献】
【0005】
中国特許出願公開第109812594号明細書
中国実用新案第217898882号明細書
中国特許出願公開第109826971号明細書
特開2020-079609号公報
特開2005-042981号公報
【発明の概要】
【発明が解決しようとする課題】
【0006】
特許文献1に記載の方法では、第1のシートボディ部232を挿入固定ピン161で止める手間がかかることから、第1の弁体部11の着脱に時間がかかり、製品の製造コストが増大する。特許文献2に記載の方法では、バイパス体30と弁座10にねじ加工が必要になることから、部品の製造コストが増大する。特許文献3に記載の方法では、弾性リミットアーム231を形成する際に切削加工が必要となり、部品の製造コストが増大する。特許文献4に記載の方法では、凹部102cと突出部83の成形コストが高くなりやすいことから、部品の製造コストが増大する。特許文献5に記載の方法では、止め輪39を使用する際に、止め輪39をいったん縮径するための工具が必要となり、部品の接続に時間がかかることから、製品全体の製造コストが増大する。
【0007】
本発明は、低コストで製造および組み立てが容易な弁装置、接続構造、および接続方法を提供することを目的とする。
【課題を解決するための手段】
【0008】
前記課題を解決し目的を達成するために、本発明の弁装置は、流路を備える接続体の取付孔に着脱される弁装置であって、前記流路に連通する弁ポートを備える弁本体と、前記弁ポートに近接または離間する弁体と、前記弁本体と前記取付孔との間に介在して前記弁本体が前記取付孔から抜け出すことを規制する止め輪と、前記止め輪と前記弁本体との間に介在する押出部材と、を備え、前記止め輪には、径方向内方に突出する被当接部が設けられ、前記押出部材には、径方向外方に突出する当接部が設けられ、前記止め輪と前記押出部材とを前記止め輪の軸まわりに相対的に回転させることで、前記被当接部と前記当接部とが当接した当接状態と、前記被当接部と前記当接部とが当接しない非当接状態と、を切り換え可能であり、前記当接状態において、前記被当接部が前記当接部に押圧されて前記止め輪が拡径することにより、前記止め輪が前記取付孔に対して脱落不能に係合することを特徴とする。
【0009】
このような本発明によれば、止め輪と弁本体との間に押出部材を介在させ、止め輪と押出部材とを相対的に回転させるというシンプルな構成で、止め輪を拡径させ、取付孔に係合させることができる。そして、取付孔に係合した止め輪により、弁本体が取付孔から抜け出すことを規制できる。すなわち、取付孔に係合した止め輪により、弁装置が接続体に接続された状態を維持することができる。このため、接続体との接続のためにねじ加工や、特別な凹部、特別な突出部等の製造が必要な従来の弁装置や、止め輪を拡径するための工具が必要な従来の弁装置と比較して、容易に弁装置を製造し、その弁装置を容易に接続体に取り付けることができる。したがって、低コストで製造および組み立てが容易な弁装置を提供することができる。
【0010】
この際前記被当接部は、前記当接部を周方向に摺接させる回動案内部を構成していることが好ましい。このような構成によれば、当接部を、回動案内部に摺接させて案内しながら止め輪と押出部材とを相対的に回転させることができるので、当接状態と非当接状態との切り換えをスムーズに行うことができる。
(【0011】以降は省略されています)
この特許をJ-PlatPat(特許庁公式サイト)で参照する
関連特許
個人
鍋虫ねじ
1か月前
個人
回転伝達機構
1か月前
個人
紛体用仕切弁
1か月前
個人
差動歯車用歯形
3か月前
個人
ジョイント
14日前
株式会社不二工機
電磁弁
3か月前
個人
地震の揺れ回避装置
2か月前
個人
ナット
15日前
個人
吐出量監視装置
1か月前
カヤバ株式会社
ダンパ
3か月前
カヤバ株式会社
ダンパ
3か月前
柿沼金属精機株式会社
分岐管
1か月前
カヤバ株式会社
緩衝器
2か月前
カヤバ株式会社
緩衝器
2か月前
個人
固着具と固着具の固定方法
4か月前
株式会社フジキン
ボールバルブ
3か月前
株式会社奥村組
制振機構
4日前
アズビル株式会社
回転弁
8日前
株式会社不二工機
電磁弁
1か月前
個人
固着具と固着具の固定方法
4か月前
個人
固着具と固着具の固定方法
4か月前
株式会社タカギ
水栓装置
1か月前
株式会社奥村組
制振機構
4日前
株式会社ケアコム
取付器具
2か月前
アイホン株式会社
電気機器
4日前
株式会社不二越
転がり軸受
1か月前
井関農機株式会社
作業車両
3か月前
個人
ワンウェイベアリング
2か月前
株式会社オンダ製作所
識別リング
2か月前
株式会社有恒商会
伸縮継手
2か月前
株式会社テイエルブイ
液体圧送装置
3か月前
個人
交互ピッチ湾曲保持ばね構造体
1か月前
株式会社ブリヂストン
管継手
3か月前
個人
機械式固定スタッドボルト装置
3か月前
株式会社オンダ製作所
長尺体保持具
2か月前
株式会社荒井製作所
封止装置
2か月前
続きを見る
他の特許を見る