TOP
|
特許
|
意匠
|
商標
特許ウォッチ
Twitter
他の特許を見る
公開番号
2025131936
公報種別
公開特許公報(A)
公開日
2025-09-09
出願番号
2025111376,2022012786
出願日
2025-07-01,2022-01-31
発明の名称
音検出装置
出願人
株式会社鷺宮製作所
代理人
個人
,
個人
,
個人
主分類
H04R
1/02 20060101AFI20250902BHJP(電気通信技術)
要約
【課題】本発明は、押圧力や温度変化に対して変形し難い基板構造を有することで、音圧の検出精度や音センサからの出力精度の低下を抑制できる音検出装置を得ることを目的とする。
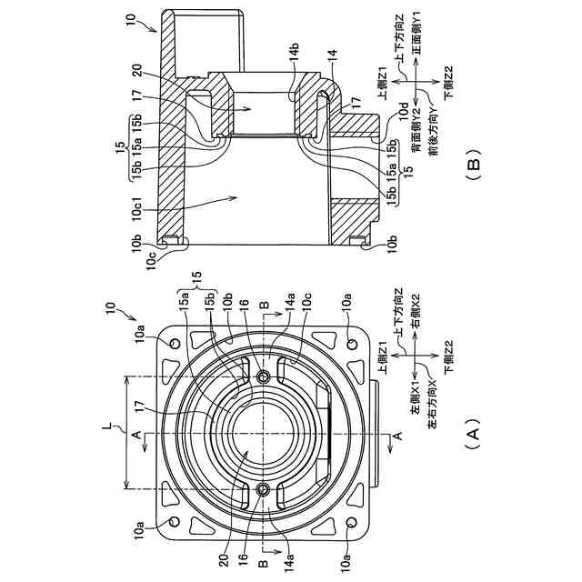
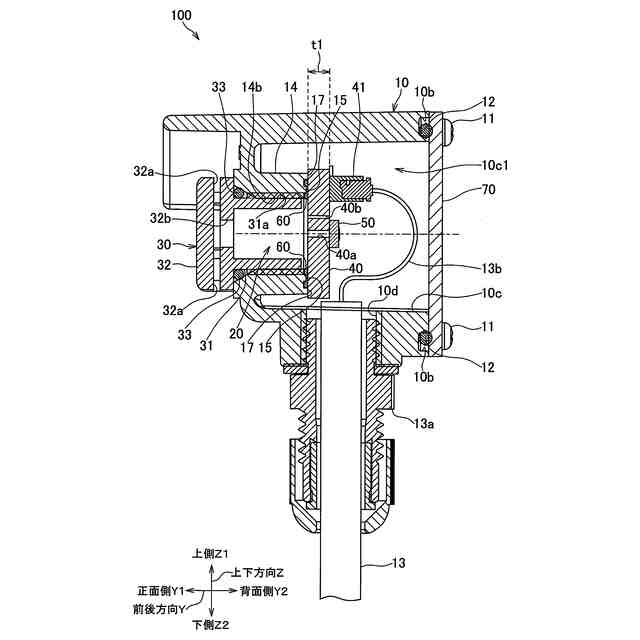
【解決手段】音検出装置100は、装置筐体10と、音伝搬経路20と、基板40と、音センサ50と、を備える。音伝搬経路20の装置筐体内部側の端部には、基板40の板厚方向を載置方向として基板40を載置する基板載置部17が設けられ、基板載置部17には、載置方向に凹む装着部15が形成される。装着部15には、弾性部材60が設置される。基板40は、弾性部材60を介して基板載置部17に載置される。装置筐体10には、基板40を固定する少なくとも一対の離間した固定部16が設けられ、一方の固定部16と他方の固定部16とのピッチLは、基板40の板厚寸法t1の11.0倍以下である。
【選択図】図1
特許請求の範囲
【請求項1】
装置筐体と、前記装置筐体の内外に連通し外部からの音を伝搬させる音伝搬経路と、前記音伝搬経路の前記装置筐体内部側に設けられる基板と、前記装置筐体内部に設けられ、外部の音を検知する音センサと、を備えた音検出装置であって、
前記音伝搬経路の前記装置筐体内部側の端部には、前記基板の板厚方向を載置方向として前記基板を載置する基板載置部が設けられ、
前記基板載置部には、前記載置方向に凹む装着部が形成され、
前記装着部には、前記基板に対して前記板厚方向に当接する弾性部材が設置され、
前記基板は、前記弾性部材を介して前記基板載置部に載置され、
前記装置筐体には、前記基板を固定する少なくとも一対の離間した固定部が設けられ、一方の前記固定部と他方の前記固定部との離間距離は、前記基板の板厚寸法の11.0倍以下であることを特徴とする音検出装置。
続きを表示(約 790 文字)
【請求項2】
前記弾性部材は、所定幅を有する環状に形成され、
前記装着部には、前記基板載置部を超えない範囲で前記載置方向の前記基板載置部側に突出する凸部が設けられ、
前記凸部は、前記弾性部材の幅寸法よりも小さい幅寸法を有し、前記弾性部材における前記載置方向一方側の面に全周に渡って当接することを特徴とする請求項1に記載の音検出装置。
【請求項3】
前記弾性部材は、前記載置方向に変形可能な変形代を備え、
前記凸部の頂部から前記装着部の底部までの前記載置方向の寸法は、前記変形代以上であることを特徴とする請求項2に記載の音検出装置。
【請求項4】
前記基板載置部から前記凸部の頂部までの前記載置方向の寸法は、前記装着部に設置された前記弾性部材の前記載置方向の寸法以下に設定されていることを特徴とする請求項2または3に記載の音検出装置。
【請求項5】
前記音伝搬経路は、前記装置筐体の内外に連通する筒状の筒壁部の内側に設けられ、
前記基板載置部は、前記筒壁部の前記装置筐体内部側の平坦な端面により構成され、
前記固定部は、前記音伝搬経路の前記装置筐体内部側の端部の外側近傍に設けられ、
前記端面と、前記固定部とは、同一平面上に位置していることを特徴とする請求項1~3のいずれか一項に記載の音検出装置。
【請求項6】
前記音伝搬経路は、前記装置筐体の内外に連通する筒状の筒壁部の内側に設けられ、
前記基板載置部は、前記筒壁部の前記装置筐体内部側の平坦な端面により構成され、
前記固定部は、前記音伝搬経路の前記装置筐体内部側の端部の外側近傍に設けられ、
前記端面と、前記固定部とは、同一平面上に位置していることを特徴とする請求項4に記載の音検出装置。
発明の詳細な説明
【技術分野】
【0001】
本発明は、音検出装置に関する。
続きを表示(約 1,600 文字)
【背景技術】
【0002】
従来、装置筐体と、カバーと、ベント部と、基板と、音センサと、を備えた音検出装置が知られている(例えば、特許文献1参照)。特許文献1に記載の音検出装置では、基板は、シールドプレートおよびOリングを介して装置筐体の開口部内周端面に固定されている。音センサは、所望の音圧のみを計測し、周囲雑音を拾って精度が低下することを抑えるよう、装置筐体に設けられた音伝搬経路の延長線上で基板と密着して取り付けられている。
【先行技術文献】
【特許文献】
【0003】
特開2020-113874号公報
【発明の概要】
【発明が解決しようとする課題】
【0004】
しかしながら、従来の音検出装置は、外部環境からの電磁ノイズの侵入を防止するためにシールドプレートを基板に密接させ、このシールドプレートがOリングに当接して押圧力を支持しているが、電磁ノイズの影響が無いか小さい環境においてシールドプレートを省略した場合、基板がOリングからの押圧力を受けることになり、基板が変形することで検出精度や音センサからの出力精度が低下する可能性がある。また、基板とシールドプレートおよび装置筐体との線膨張係数の相違により、周囲温度が変化した場合も同様に基板の変形が生じ検出、出力精度が低下する可能性があった。
【0005】
本発明は、押圧力や温度変化に対して変形し難い基板構造を有することで、音圧の検出精度や音センサからの出力精度の低下を抑制できる音検出装置を得ることを目的とする。
【課題を解決するための手段】
【0006】
上記課題を解決するために、本発明の音検出装置は、装置筐体と、前記装置筐体の内外に連通し外部からの音を伝搬させる音伝搬経路と、前記音伝搬経路の前記装置筐体内部側に設けられる基板と、前記装置筐体内部に設けられ、外部の音を検知する音センサと、を備えた音検出装置であって、前記音伝搬経路の前記装置筐体内部側の端部には、前記基板の板厚方向を載置方向として前記基板を載置する基板載置部が設けられ、前記基板載置部には、前記載置方向に凹む装着部が形成され、前記装着部には、前記基板に対して前記板厚方向に当接する弾性部材が設置され、前記基板は、前記弾性部材を介して前記基板載置部に載置され、前記装置筐体には、前記基板を固定する少なくとも一対の離間した固定部が設けられ、一方の前記固定部と他方の前記固定部との離間距離は、前記基板の板厚寸法の11.0倍以下であることを特徴とする。
【0007】
この際、前記弾性部材は、所定幅を有する環状に形成され、前記装着部には、前記基板載置部を超えない範囲で前記載置方向の前記基板載置部側に突出する凸部が設けられ、前記凸部は、前記弾性部材の幅寸法よりも小さい幅寸法を有し、前記弾性部材における前記載置方向一方側の面に全周に渡って当接することが好ましい。
【0008】
また、前記弾性部材は、前記載置方向に変形可能な変形代を備え、前記凸部の頂部から前記装着部の底部までの前記載置方向の寸法は、前記変形代以上であることが好ましい。
【0009】
また、前記基板載置部から前記凸部の頂部までの前記載置方向の寸法は、前記装着部に設置された前記弾性部材の前記載置方向の寸法以下に設定されていることが好ましい。
【0010】
また、前記音伝搬経路は、前記装置筐体の内外に連通する筒状の筒壁部の内側に設けられ、前記基板載置部は、前記筒壁部の前記装置筐体内部側の平坦な端面により構成され、前記固定部は、前記音伝搬経路の前記装置筐体内部側の端部の外側近傍に設けられ、前記端面と、前記固定部とは、同一平面上に位置していることが好ましい。
【発明の効果】
(【0011】以降は省略されています)
この特許をJ-PlatPat(特許庁公式サイト)で参照する
関連特許
株式会社鷺宮製作所
振動発電装置
3日前
株式会社鷺宮製作所
弁装置、接続構造、および接続方法
17日前
株式会社鷺宮製作所
シミュレータおよびディスプレイ架台
7日前
株式会社鷺宮製作所
コイル装置及びこれを備える流量調整弁
26日前
株式会社鷺宮製作所
弁装置、逆止弁、及び冷凍サイクルシステム
5日前
株式会社鷺宮製作所
電動弁制御装置、電動弁装置及び電動弁制御方法
1か月前
株式会社鷺宮製作所
スイッチ
25日前
株式会社鷺宮製作所
音計測装置
19日前
株式会社鷺宮製作所
音検出装置
27日前
株式会社鷺宮製作所
音検出装置
1か月前
株式会社鷺宮製作所
音計測装置
1か月前
株式会社鷺宮製作所
モーションプラットフォームおよびそれを用いたシミュレータ
1か月前
株式会社鷺宮製作所
制御装置、制御方法、過熱度コントローラ、および制御プログラム
3日前
株式会社鷺宮製作所
電磁コイルユニット
1か月前
個人
店内配信予約システム
2か月前
WHISMR合同会社
収音装置
25日前
サクサ株式会社
中継装置
2か月前
キヤノン株式会社
電子機器
2か月前
アイホン株式会社
電気機器
19日前
キヤノン株式会社
撮像装置
3か月前
キヤノン株式会社
撮像装置
1か月前
株式会社リコー
画像形成装置
1か月前
株式会社リコー
画像形成装置
1か月前
電気興業株式会社
無線中継器
3か月前
株式会社リコー
画像形成装置
1か月前
ヤマハ株式会社
信号処理装置
3か月前
キヤノン電子株式会社
モバイル装置
2か月前
個人
ワイヤレスイヤホン対応耳掛け
17日前
日本精機株式会社
画像投映システム
3か月前
キヤノン電子株式会社
画像読取装置
26日前
株式会社ニコン
撮像装置
2か月前
ブラザー工業株式会社
読取装置
1か月前
キヤノン株式会社
撮像システム
19日前
キヤノン株式会社
通信システム
3か月前
国立大学法人電気通信大学
小型光学装置
1か月前
パテントフレア株式会社
水中電波通信法
2か月前
続きを見る
他の特許を見る