TOP
|
特許
|
意匠
|
商標
特許ウォッチ
Twitter
他の特許を見る
10個以上の画像は省略されています。
公開番号
2025145831
公報種別
公開特許公報(A)
公開日
2025-10-03
出願番号
2024046284
出願日
2024-03-22
発明の名称
車両制御装置
出願人
株式会社アイシン
代理人
弁理士法人ネクスト
主分類
B60W
40/10 20120101AFI20250926BHJP(車両一般)
要約
【課題】車輪速パルスを用いて車両が停止状態と走行状態のいずれにあるかを判定する場合において、従来に比べて迅速且つ正確に判定することが可能な車両制御装置を提供する。
【解決手段】車両が備える複数の車輪の内、一部の特定車輪以外の車輪から車輪速パルスが取得されない状態で特定車輪のみから連続して車輪速パルスが取得された場合であって、且つ連続した車輪速パルスを取得したのが特定車輪以外の車輪から最後に車輪速パルスが取得されてから第1時間以上経過している場合に、特定車輪から車輪速パルスが誤って取得されている状態であることを示す誤検知判定フラグをオンし、誤検知判定フラグがオンされた状態では特定車輪から車輪速パルスの取得がされていないとみなして停止状態と走行状態の判定を行うように構成する。
【選択図】図8
特許請求の範囲
【請求項1】
車両が備える複数の車輪毎に区分して各車輪の回転に伴って出力される車輪速パルスを取得する車輪速パルス取得手段と、
前記車輪速パルス取得手段により取得された前記車輪速パルスに基づいて前記車両の車速を演算する車速検出手段と、
前記車速検出手段により演算された車速と前記車輪速パルス取得手段により取得された前記車輪速パルスとに基づいて前記車両が停止状態と走行状態のいずれにあるかを判定する車両挙動判定手段と、
車両が備える複数の車輪の内、一部の特定車輪以外の車輪から車輪速パルスが取得されない状態で前記特定車輪のみから連続して車輪速パルスが取得された場合であって、且つ連続した車輪速パルスを取得したのが前記特定車輪以外の車輪から最後に車輪速パルスが取得されてから第1時間以上経過している場合に、前記特定車輪から車輪速パルスが誤って取得されている状態であることを示す誤検知判定フラグをオンする誤検知判定手段と、を有し、
前記車両挙動判定手段は、前記誤検知判定フラグがオンされた状態では前記特定車輪から車輪速パルスの取得がされていないとみなして前記停止状態と前記走行状態の判定を行う車両制御装置。
続きを表示(約 570 文字)
【請求項2】
前記第1時間は、前記車速検出手段が車速を演算する時間間隔である請求項1に記載の車両制御装置。
【請求項3】
前記車速検出手段は、前記誤検知判定フラグがオンされた状態では前記特定車輪から取得された前記車輪速パルスに関わらず車速を0として演算し、
前記車両挙動判定手段は、車両が走行状態にあると判定された状態で前記車速検出手段により車速が0に演算されてから車速が0の状態で第2時間経過し、且つその間に前記特定車輪以外の車輪から車輪速パルスが取得されない場合に、前記車両が走行状態から停止状態へと移行したと判定し、
前記停止状態に移行したと判定された後に前記誤検知判定フラグをオフする請求項1又は請求項2に記載の車両制御装置。
【請求項4】
前記車速検出手段は、車速が0の状態で第3時間以内に車両が備える複数の車輪から車輪速パルスを取得し、且つ同じ第3時間以内に後輪から所定数以上の車輪速パルスを取得する条件を満たした後に、車速の演算を開始し、
前記車両挙動判定手段は、車両が停止状態にあると判定された状態で前記車速検出手段により車速が0より大きい値が演算された場合に、前記車両が停止状態から走行状態へと移行したと判定する請求項1又は請求項2に記載の車両制御装置。
発明の詳細な説明
【技術分野】
【0001】
本発明は、車両の停止状態と走行状態の判定を行う車両制御装置に関する。
続きを表示(約 2,200 文字)
【背景技術】
【0002】
従来より、車両の車速を検出したり、車両の停止状態と走行状態の判定を行う手段として車輪速センサが用いられている。車輪速センサは、車輪と一体に回転するロータに形成された凹凸面と、この凹凸面と向き合う位置に設置され、予め磁化された電極と、この電極の周囲に配置されたコイルとを有し、電極に対して凹凸面が移動すると、電極の周囲に発生している磁力線の磁束密度が変化し、コイルに電圧が発生する。この電圧の変化を、パルス信号(以下、車輪速パルスという)に変換して出力する。
【0003】
ここで、車両が停車した状態であってもロータの凹凸の境界付近に電極があると、ハンドルが操作されたり、車体が振動するなどの僅かな車輪の動きによって、車輪速パルスが出力される場合がある。従って、車輪速パルスの出力の有無のみによって車両が走行状態にあるか停止状態にあるかと判定すると、正確な判定ができない問題があった。そこで、特開2018-20723号公報では、例えば直近3秒以内に各輪から出力された車輪速パルスのエッジ数をカウントし、3輪以上でエッジ数が2以上カウントされた場合に車両が走行状態にあると判定し、それ以外では車両が停止状態にあると判定する技術について記載されている。
【先行技術文献】
【特許文献】
【0004】
特開2018-20723号公報(段落0013-0014)
【発明の概要】
【発明が解決しようとする課題】
【0005】
しかしながら、上記特許文献1の技術では一定期間内の各車輪から出力されるパルスのカウント数に基づいて車両が停止状態にあるか走行状態にあるかを判定しているので、例えば実際に車両が停止してから車両が停止状態にあると判定されるまで、並びに実際に車両が走行を開始してから車両が走行状態にあると判定されるまで、に一定期間が必要となる。その結果、車両の状態の変化を装置側で把握するまでにタイムラグが生じ、適切な運転支援や車両制御を行うことができない問題が生じていた。
【0006】
本発明は前記従来における問題点を解消するためになされたものであり、車輪速パルスを用いて車両が停止状態と走行状態のいずれにあるかを判定する場合において、従来に比べて迅速且つ正確に判定することが可能な車両制御装置を提供することを目的とする。
【課題を解決するための手段】
【0007】
前記目的を達成するため本発明に係る車両制御装置は、車両が備える複数の車輪毎に区分して各車輪の回転に伴って出力される車輪速パルスを取得する車輪速パルス取得手段と、前記車輪速パルス取得手段により取得された前記車輪速パルスに基づいて前記車両の車速を演算する車速検出手段と、前記車速検出手段により演算された車速と前記車輪速パルス取得手段により取得された前記車輪速パルスとに基づいて前記車両が停止状態と走行状態のいずれにあるかを判定する車両挙動判定手段と、車両が備える複数の車輪の内、一部の特定車輪以外の車輪から車輪速パルスが取得されない状態で前記特定車輪のみから連続して車輪速パルスが取得された場合であって、且つ連続した車輪速パルスを取得したのが前記特定車輪以外の車輪から最後に車輪速パルスが取得されてから第1時間以上経過している場合に、前記特定車輪から車輪速パルスが誤って取得されている状態であることを示す誤検知判定フラグをオンする誤検知判定手段と、を有し、前記車両挙動判定手段は、前記誤検知判定フラグがオンされた状態では前記特定車輪から車輪速パルスの取得がされていないとみなして前記停止状態と前記走行状態の判定を行う。
【発明の効果】
【0008】
前記構成を有する本発明に係る車両制御装置によれば、車輪速パルスが誤って取得され得る状態にある場合については予め誤検知判定フラグで識別しておくことで、従来のように一定期間を設けて車両が停止状態と走行状態のいずれにあるかを判定する必要がなくなる。その結果、車輪速パルスを用いて車両が停止状態と走行状態のいずれにあるかを判定する場合において、従来に比べて迅速且つ正確に判定することが可能となる。
【図面の簡単な説明】
【0009】
本実施形態に係る車両の概略構成図である。
車両に対する車輪速センサの配置例を示した図である。
本実施形態に係る車両制御装置の構成を示したブロック図である。
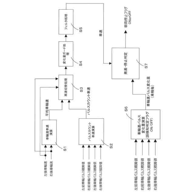
本実施形態に係る車両情報検出処理プログラムのフローチャートである。
車両が走行状態と停止状態にある場合の4輪から入力される車輪速パルスの変化の一例を示した図である。
誤検知判定フラグの判定方法について説明した図である。
誤検知判定フラグがオンされる場合について説明した図である。
車両の停止判定について説明した図である。
車両の走行開始判定について説明した図である。
【発明を実施するための形態】
【0010】
以下、本発明に係る車両制御装置について具体化した一実施形態について図面を参照しつつ詳細に説明する。先ず、本実施形態に係る車両制御装置1を搭載した車両2について以下説明する。図1は本実施形態に係る車両2の概略構成図である。
(【0011】以降は省略されています)
この特許をJ-PlatPat(特許庁公式サイト)で参照する
関連特許
株式会社アイシン
空気袋
6日前
株式会社アイシン
車体構造
2日前
株式会社アイシン
駆動装置
4日前
株式会社アイシン
回転電機
2日前
株式会社アイシン
制御装置
2日前
株式会社アイシン
温度調節器
16日前
株式会社アイシン
鋳ぐるみ品
6日前
株式会社アイシン
温度調節器
16日前
株式会社アイシン
温度調節器
6日前
株式会社アイシン
温度調節器
2日前
株式会社アイシン
マニホールド
4日前
株式会社アイシン
心拍検出装置
9日前
株式会社アイシン
物体検出装置
16日前
株式会社アイシン
車両制御装置
2日前
株式会社アイシン
運転支援装置
2日前
株式会社アイシン
運転支援装置
2日前
株式会社アイシン
ポンプケース
9日前
株式会社アイシン
立体構造基板
6日前
株式会社アイシン
駐車支援装置
2日前
株式会社アイシン
振動発生装置
4日前
株式会社アイシン
開閉システム
3日前
株式会社アイシン
駐車支援装置
9日前
株式会社アイシン
バッテリ温調器
6日前
株式会社アイシン
ロータリバルブ
6日前
株式会社アイシン
ロータリバルブ
6日前
株式会社アイシン
車両用ドア装置
3日前
株式会社アイシン
回転角検出装置
3日前
株式会社アイシン
車両用ドア装置
3日前
株式会社アイシン
冷暖房システム
2日前
株式会社アイシン
核磁気共鳴装置
10日前
株式会社アイシン
ドアロック装置
16日前
株式会社アイシン
配達管理システム
3日前
株式会社アイシン
減衰接着剤組成物
2日前
株式会社アイシン
状態推定システム
16日前
株式会社アイシン
ショックアブソーバ
9日前
株式会社アイシン
車両用ドア開放装置
16日前
続きを見る
他の特許を見る