TOP
|
特許
|
意匠
|
商標
特許ウォッチ
Twitter
他の特許を見る
公開番号
2025142873
公報種別
公開特許公報(A)
公開日
2025-10-01
出願番号
2024042469
出願日
2024-03-18
発明の名称
エキスパンドシート及びエキスパンド方法
出願人
リンテック株式会社
代理人
弁理士法人樹之下知的財産事務所
主分類
C09J
7/25 20180101AFI20250924BHJP(染料;ペイント;つや出し剤;天然樹脂;接着剤;他に分類されない組成物;他に分類されない材料の応用)
要約
【課題】エキスパンドシートに貼付された隣接する半導体チップ間の距離が拡張できるエキスパンドシートを提供すること。
【解決手段】基材10と、前記基材10の一方の面に設けられた粘着剤層20とを備え、23℃における引張弾性率が170MPa以下であり、かつ、23℃における300%試験力が20N以上である、エキスパンドシート100。
【選択図】図1
特許請求の範囲
【請求項1】
基材と、前記基材の一方の面に設けられた粘着剤層とを備え、
23℃における引張弾性率が170MPa以下であり、かつ、23℃における300%試験力が20N以上である、
エキスパンドシート。
続きを表示(約 430 文字)
【請求項2】
請求項1に記載のエキスパンドシートにおいて、
前記基材が、熱可塑性ポリウレタン及びエチレン-(メタ)アクリル酸共重合体からなる群から選択される少なくとも一種の樹脂を含む、
エキスパンドシート。
【請求項3】
請求項2に記載のエキスパンドシートにおいて、
前記基材が、前記熱可塑性ポリウレタンを含む、
エキスパンドシート。
【請求項4】
請求項1から請求項3のいずれか一項に記載のエキスパンドシートにおいて、
前記粘着剤層は、エネルギー線硬化性を有する、
エキスパンドシート。
【請求項5】
エキスパンドシートを伸張させて、前記エキスパンドシートに貼付された隣り合うワーク間の距離を拡張するエキスパンド方法であって、
前記エキスパンドシートが、請求項1から請求項3のいずれか一項に記載のエキスパンドシートである、
エキスパンド方法。
発明の詳細な説明
【技術分野】
【0001】
本発明は、エキスパンドシート及びエキスパンド方法に関する。
続きを表示(約 1,600 文字)
【背景技術】
【0002】
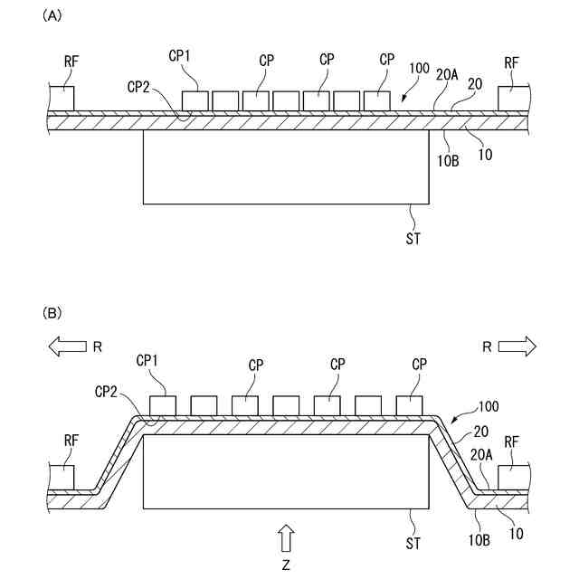
例えば、半導体ウエハは、予め定められた形状、及び寸法に切断され、複数の半導体チップに個片化される。そして、個片化されたチップは、各チップの相互間隔を広げた後、各チップを被搭載物上に搭載される。
【0003】
個片化された各チップの相互間隔を広げるために、例えば、エキスパンドシートが用いられる。エキスパンドシートとしては、例えば、基材と、基材上に設けられた粘着剤層とを備えた粘着シートが挙げられる。個片化されたチップは、エキスパンドシートにおける粘着剤層に貼付された状態で、当該エキスパンドシートを伸張させることによって、個片化された各チップの相互間隔が拡張される。
【0004】
特許文献1には、基材と、前記基材の片面側に積層された粘着剤層とを備えたワーク処理用シートが開示されている。特許文献1に開示されるワーク処理用シートは、前記基材における前記粘着剤層とは反対側の面の静摩擦力が10N以下であり、23℃での引張試験において前記基材を1%引っ張ったときの引張弾性率をE
1
、23℃での引張試験において前記基材を20%引っ張ったときの引張弾性率をE
20
としたときに、E
20
/E
1
で算出される引張弾性率比が、前記静摩擦力が1~10Nの場合に、0.25以上であり、前記静摩擦力が1N未満の場合に、0.03以上である。特許文献1に開示されるワーク処理用シートは、エキスパンドシート等として用いることができる。
【先行技術文献】
【特許文献】
【0005】
特開2022-151238号公報
【発明の概要】
【発明が解決しようとする課題】
【0006】
エキスパンドシートを伸張させることによって、エキスパンドシートに貼付された隣り合う半導体チップ間の距離(いわゆるカーフ幅)が拡張される。半導体チップが貼付されたエキスパンドシートにおいて、例えば、エキスパンドシートの半導体チップが貼付されていない側から、突き上げ治具を突き上げることによって、エキスパンドシートを伸張させる場合がある。このようにして、エキスパンドシートを伸張させた後において、隣り合う半導体チップ間には、拡張後のカーフ幅が狭い場合があった。拡張後のカーフ幅が狭い場合、半導体チップの加工性等に影響を及ぼしやすい。このため、例えば、突き上げ治具を突き上げることによって、エキスパンドシートを伸張させる場合に、エキスパンドシートを伸張させた後のカーフ幅の増加分をできるだけ大きくすることが要望されている。
【0007】
本発明の目的は、エキスパンドシートを伸張させたとき、従来のエキスパンドシートに比べ、エキスパンドシートに貼付された隣接する半導体チップ間の距離が拡張できるエキスパンドシート、及び当該エキスパンドシートを用いたエキスパンド方法を提供することである。
【課題を解決するための手段】
【0008】
[1] 基材と、前記基材の一方の面に設けられた粘着剤層とを備え、
23℃における引張弾性率が170MPa以下であり、かつ、23℃における300%試験力が20N以上である、
エキスパンドシート。
【0009】
[2] [1]に記載のエキスパンドシートにおいて、
前記基材が、熱可塑性ポリウレタン及びエチレン-(メタ)アクリル酸共重合体からなる群から選択される少なくとも一種の樹脂を含む、
エキスパンドシート。
【0010】
[3] [2]に記載のエキスパンドシートにおいて、
前記基材が、前記熱可塑性ポリウレタンを含む、
エキスパンドシート。
(【0011】以降は省略されています)
この特許をJ-PlatPat(特許庁公式サイト)で参照する
関連特許
ベック株式会社
被覆材
3か月前
日本化薬株式会社
インク
7日前
ベック株式会社
水性被覆材
3か月前
ベック株式会社
水性被覆材
3か月前
ベック株式会社
被膜形成方法
1か月前
日本化薬株式会社
インク組成物
7日前
株式会社日本触媒
インクセット
16日前
関西ペイント株式会社
塗料組成物
1か月前
株式会社リコー
インクセット
3か月前
東ソー株式会社
ゴム用接着性改質剤
3か月前
ぺんてる株式会社
水性インキ組成物
4か月前
ぺんてる株式会社
水性インキ組成物
3か月前
東亞合成株式会社
硬化型接着剤組成物
3か月前
シヤチハタ株式会社
油性インキ組成物
1か月前
東ソー株式会社
土木用注入薬液組成物
8日前
東亞合成株式会社
硬化型接着剤組成物
3か月前
artience株式会社
印刷インキ
3か月前
JNC株式会社
光硬化型導電性ペースト
4か月前
アイカ工業株式会社
光硬化型圧着組成物
1か月前
アイカ工業株式会社
ホットメルト組成物
3か月前
AGC株式会社
液状組成物
2か月前
大日精化工業株式会社
顔料分散液
25日前
東ソー株式会社
土質安定化注入薬液組成物
1か月前
マクセル株式会社
粘着テープ
2か月前
東ソー株式会社
土質安定化注入薬液組成物
1か月前
株式会社フェクト
透明防錆塗料
3か月前
ハニー化成株式会社
防反射処理剤
3か月前
ダイキン工業株式会社
組成物
1か月前
東洋アルミニウム株式会社
複合顔料
7日前
ユニチカ株式会社
易接着フィルム、および積層体
1か月前
ダイキン工業株式会社
組成物
1か月前
日東電工株式会社
粘着シート
4か月前
artience株式会社
粘着剤及び粘着シート
2か月前
アイカ工業株式会社
ポリマー被覆粒子の製造方法
2か月前
株式会社呉竹
絵具
2か月前
ダイキン工業株式会社
耐油剤
2か月前
続きを見る
他の特許を見る