TOP
|
特許
|
意匠
|
商標
特許ウォッチ
Twitter
他の特許を見る
10個以上の画像は省略されています。
公開番号
2025142999
公報種別
公開特許公報(A)
公開日
2025-10-01
出願番号
2024042662
出願日
2024-03-18
発明の名称
作業機械
出願人
ヤンマーホールディングス株式会社
代理人
弁理士法人 佐野特許事務所
主分類
E02F
9/00 20060101AFI20250924BHJP(水工;基礎;土砂の移送)
要約
【課題】小型の構成でありながら、大容量のバッテリユニットを搭載する場合でも、2つの充電用コネクタの配置スペースを容易に確保することができる電動式の作業機械を提供する。
【解決手段】作業機械は、バッテリユニットから出力される電力によって駆動される電動モータと、バッテリユニットに電力を供給する2つの充電用コネクタと、を備える。2つの充電用コネクタは、バッテリユニットを収納する機械室内において、機械室の側部に開閉可能に設置される蓋の側方に同方向を向いて並べて配置されるとともに、蓋に対して斜め向きに配置される。
【選択図】図6
特許請求の範囲
【請求項1】
バッテリユニットから出力される電力によって駆動される電動モータを備える作業機械であって、
前記バッテリユニットに電力を供給する2つの充電用コネクタをさらに備え、
前記2つの充電用コネクタは、前記バッテリユニットを収納する機械室内において、前記機械室の側部に開閉可能に設置される蓋の側方に同方向を向いて並べて配置されるとともに、前記蓋に対して斜め向きに配置される、作業機械。
続きを表示(約 760 文字)
【請求項2】
前記2つの充電用コネクタは、前記バッテリユニットと前記機械室の前記側部との間に配置される、請求項1に記載の作業機械。
【請求項3】
前記2つの充電用コネクタは、前後方向の異なる位置に配置される、請求項1に記載の作業機械。
【請求項4】
前記バッテリユニットの充電停止指示を受け付ける充電停止スイッチをさらに備え、
前記充電停止スイッチは、前後方向における前記2つの充電用コネクタの間に配置される、請求項3に記載の作業機械。
【請求項5】
前記充電停止スイッチは、前記蓋と対向して配置される、請求項4に記載の作業機械。
【請求項6】
前記バッテリユニットの充電停止指示を受け付ける充電停止スイッチをさらに備え、
前記充電停止スイッチは、前記2つの充電用コネクタに含まれる一方の充電用コネクタよりも前方に配置される他方の充電用コネクタの隣に配置される、請求項3に記載の作業機械。
【請求項7】
前記充電停止スイッチは、前記他方の充電用コネクタに対して、前記一方の充電用コネクタ側の隣に配置される、請求項6に記載の作業機械。
【請求項8】
前記充電停止スイッチは、前記2つの充電用コネクタと同方向を向いて配置される、請求項7に記載の作業機械。
【請求項9】
前記2つの充電用コネクタよりも前方に配置されるヒューズボックスをさらに備える、請求項3に記載の作業機械。
【請求項10】
前記2つの充電用コネクタよりも前方に配置され、前記作業機械のコントローラと通信するための通信用コネクタをさらに備える、請求項9に記載の作業機械。
(【請求項11】以降は省略されています)
発明の詳細な説明
【技術分野】
【0001】
本発明は、作業機械に関する。
続きを表示(約 1,500 文字)
【背景技術】
【0002】
従来、バッテリユニットに電力を供給する複数の充電口を備えた電動式の作業機械が提案されている。例えば特許文献1の電動ショベルでは、上部旋回体のキャビンの側面に、普通充電用車両インレットと、急速充電用車両インレットと、の2つの充電口が設けられる。
【先行技術文献】
【特許文献】
【0003】
特開2023-134163号公報
【発明の概要】
【発明が解決しようとする課題】
【0004】
特許文献1の電動ショベルでは、2つの充電口は真っすぐ側方(例えば左方向)を向いて配置される。このため、2つの充電口の配置スペースを、機体の左右方向に広く確保することが必要となる。
【0005】
一方、近年では、小型の電動ショベルにおいて、バッテリユニットの大容量化(大型化)が進んでいる。上部旋回体(特に機械室)内で各機器の収容スペースが限られる小型の電動ショベルでは、バッテリユニットが大型化すると、機械室内の空スペースが狭くなり、2つの充電口の配置スペースを確保することが困難となる。この点で、2つの充電口の配置スペースを左右方向に広く確保する必要のある特許文献1の構成は、改善の余地がある。
【0006】
本発明は、上記の問題点を解決するためになされたものであり、その目的は、小型の構成でありながら、大容量のバッテリユニットを搭載する場合でも、2つの充電用コネクタの配置スペースを容易に確保することができる電動式の作業機械を提供することにある。
【課題を解決するための手段】
【0007】
本発明の一側面に係る作業機械は、バッテリユニットから出力される電力によって駆動される電動モータを備える作業機械であって、前記バッテリユニットに電力を供給する2つの充電用コネクタをさらに備え、前記2つの充電用コネクタは、前記バッテリユニットを収納する機械室内において、前記機械室の側部に開閉可能に設置される蓋の側方に同方向を向いて並べて配置されるとともに、前記蓋に対して斜め向きに配置される。
【発明の効果】
【0008】
小型の構成でありながら、大容量のバッテリユニットを搭載する場合でも、2つの充電用コネクタの配置スペースを容易に確保することが可能な電動式の作業機械を実現することができる。
【図面の簡単な説明】
【0009】
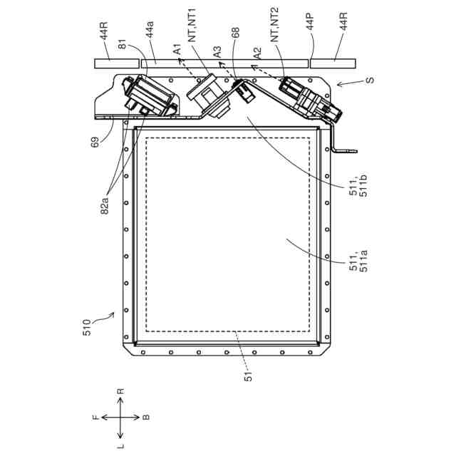
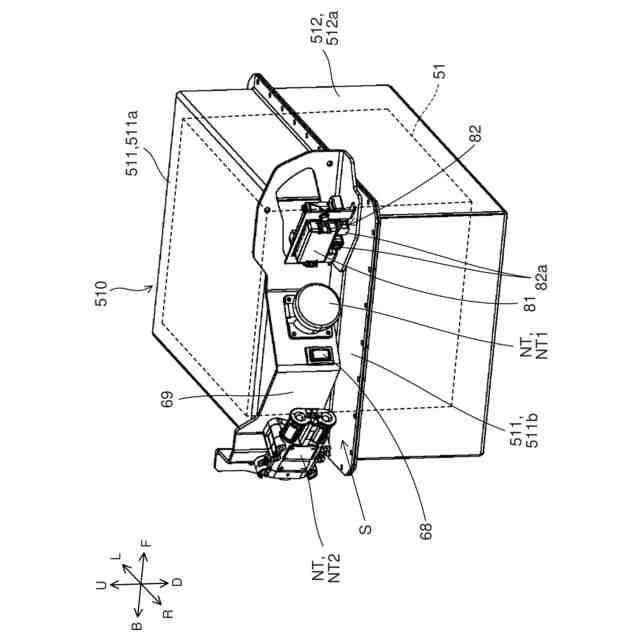
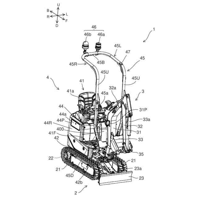
本発明の実施の一形態に係る作業機械の一例である油圧ショベルの概略の構成を示す側面図である。
上記油圧ショベルを斜め前方から見たときの斜視図である。
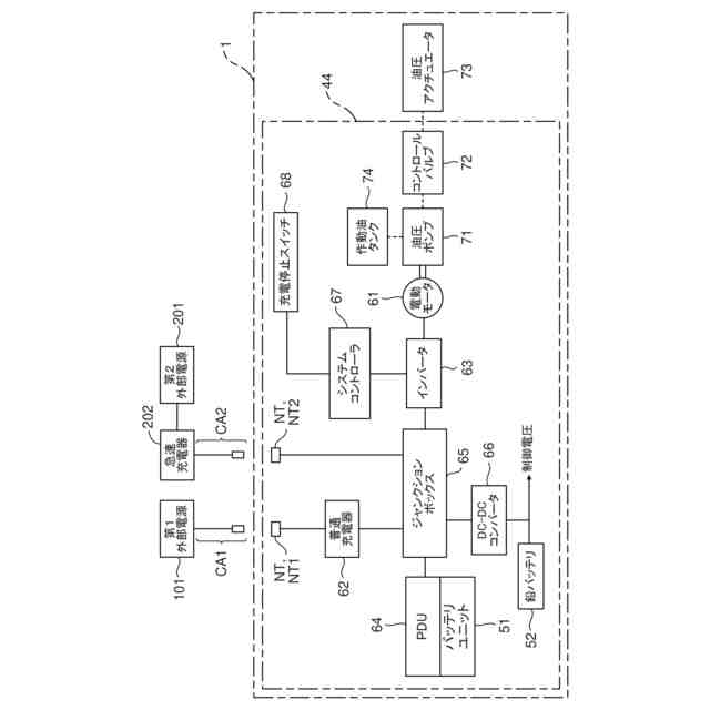
上記油圧ショベルの電気系および油圧系の構成を模式的に示すブロック図である。
上記油圧ショベルの右ボンネットを拡大して示す斜視図である。
上記油圧ショベルの機械室内の構成を示す斜視図である。
上記機械室内の構成を示す平面図である。
上記油圧ショベルの右ボンネットを拡大して示すとともに、上記機械室の内部における充電用コネクタ等の他の配置例を示す斜視図である。
上記機械室内での上記充電用コネクタ付近の構成を示す斜視図である。
上記機械室内での上記充電用コネクタ付近の構成を示す平面図である。
【発明を実施するための形態】
【0010】
本発明の実施の形態について、図面に基づいて説明すれば、以下の通りである。
(【0011】以降は省略されています)
この特許をJ-PlatPat(特許庁公式サイト)で参照する
関連特許
個人
鋼管
13日前
FKS株式会社
擁壁
2日前
株式会社クボタ
作業車
今日
株式会社クボタ
作業車
今日
株式会社奥村組
ケーソン工法
5日前
株式会社武井工業所
積みブロック
22日前
株式会社奥村組
ケーソン刃口金物
5日前
株式会社熊谷組
密度計測方法
今日
株式会社大林組
袋体付き排水パイプ
12日前
株式会社大林組
袋体付き排水パイプ
12日前
ヤマト発動機株式会社
浮遊型消波装置
2日前
日立建機株式会社
作業機械
20日前
日立建機株式会社
作業機械
2日前
大和ハウス工業株式会社
杭抜き先端具
6日前
ゼニヤ海洋サービス株式会社
通船ゲート
12日前
鹿島建設株式会社
接続方法および接続構造
12日前
株式会社フジタ
掘削機
21日前
株式会社フジタ
建築物とその施工方法
12日前
JFEスチール株式会社
鋼管矢板の継手構造
14日前
有限会社 櫂設計事務所
掘削・撹拌具
28日前
JFEスチール株式会社
鋼管矢板の継手構造
14日前
JFEスチール株式会社
鋼管矢板の継手構造
2日前
株式会社大林組
建物の構築方法及び建物
12日前
株式会社武井工業所
積みブロック用基礎ブロック
22日前
株式会社熊谷組
杭頭処理構造、杭頭処理方法
2日前
株式会社小松製作所
作業機械
22日前
鹿島建設株式会社
柱建て込み方法
6日前
日立建機株式会社
作業機械
12日前
住友建機株式会社
作業機械、操作支援システム
6日前
日立建機株式会社
建設機械
2日前
住友重機械工業株式会社
作業機械用のシステム
6日前
株式会社トラバース
地盤改良ユニット及び地盤改良機
21日前
日立建機株式会社
作業機械
6日前
株式会社フジタ
情報取得システム
2日前
日本コンクリート工業株式会社
堤防の補強構造
12日前
株式会社小松製作所
作業機械
29日前
続きを見る
他の特許を見る