TOP
|
特許
|
意匠
|
商標
特許ウォッチ
Twitter
他の特許を見る
10個以上の画像は省略されています。
公開番号
2025143671
公報種別
公開特許公報(A)
公開日
2025-10-02
出願番号
2024043017
出願日
2024-03-19
発明の名称
電流制限回路及び電流制限装置
出願人
エイブリック株式会社
代理人
主分類
H03K
17/08 20060101AFI20250925BHJP(基本電子回路)
要約
【課題】電流抑制とスイッチオフの速度を両立可能な電流制限回路及び電流制限装置を提供する。
【解決手段】電流制限回路10は、制御端を含み、電流を所定値以下に制御可能なスイッチ2を介して、入力端子Tinと出力端子Toutを接続する経路の電流を制限する回路であって、第1の信号が伝送される第1の経路と第2の信号が伝送される第2の経路との接続点を含み、第1の信号の供給を受ける入力端50cと、第1の信号と第2の信号とを結合した制御信号をスイッチ2の制御端へ供給する出力端50dとを有するゲート制御回路50と、スイッチ2と出力端子Toutとの間に設けられるノードN1との間に容量6が接続されると、容量6を介してノードN1に結合される入力端と、入力端と接続される出力端とを有する負帰還回路30とを備える。
【選択図】図1
特許請求の範囲
【請求項1】
制御端を含み、電流を所定値以下に制御可能なスイッチを介して、入力端子と出力端子を接続する経路の電流を制限する回路であって、
第1の信号が伝送される第1の経路と第2の信号が伝送される第2の経路との接続点を含み、前記第1の信号の供給を受ける第1入力端と、前記第1の信号と前記第2の信号とを結合した制御信号を前記スイッチの制御端へ供給する出力端とを有する制御回路と、
前記スイッチと前記出力端子との間に設けられる第1のノードとの間に容量が接続されると、当該容量を介して前記第1のノードに結合される入力端と、前記制御回路の第1入力端と接続される出力端とを有する負帰還回路と、
を備えることを特徴とする電流制限回路。
続きを表示(約 1,600 文字)
【請求項2】
前記負帰還回路は、前記制御回路の第1入力端と電源電圧が供給される第2のノードとの間に接続され、前記負帰還回路の入力端の電圧が閾値電圧よりも高い場合に、前記負帰還回路の入力端の電圧と前記閾値電圧との差電圧に基づく電流に変換する電圧電流変換回路と、
前記負帰還回路の入力端と、前記第2のノードとの間に接続され、前記負帰還回路の入力端の電圧を、前記電源電圧又は前記電源電圧よりも高く前記閾値電圧よりも低い所定電圧にクランプするクランプ回路と、
を備える請求項1に記載の電流制限回路。
【請求項3】
前記クランプ回路は、前記負帰還回路の入力端と接続される第1端と、前記第2のノードに接続される第2端とを含む第1の定電流源を有する請求項2に記載の電流制限回路。
【請求項4】
前記第1の定電流源は、ソースとゲートが接続されたデプレッション型のFETを有する請求項3に記載の電流制限回路。
【請求項5】
前記第1の定電流源は、前記負帰還回路の入力端と接続されるドレインと、前記第2のノードに接続されるソースと、ゲートとを含む第1のFETと、
前記第1のFETのゲートと接続されるドレインと、前記第2のノードに接続されるソースと、前記第1のFETのゲート及び自己のドレインと接続されるゲートと、を含む第2のFETと、
前記第2のFETのドレインに定電流を供給する第2の定電流源と、を備える請求項3に記載の電流制限回路。
【請求項6】
前記クランプ回路は、前記負帰還回路の入力端と接続される第1端と、前記第2のノードに接続される第2端とを含む抵抗体を有する請求項2に記載の電流制限回路。
【請求項7】
前記クランプ回路は、前記負帰還回路の入力端、前記クランプ回路及び前記電圧電流変換回路を接続するノードに前記所定電圧を供給するバイアス回路を有する請求項3又は6に記載の電流制限回路。
【請求項8】
前記制御回路は、
前記第1のノードと接続される第2入力端と、
前記スイッチと前記入力端子との間に設けられる第3のノードと接続される第3入力端と、
前記制御回路の第2入力端と接続される第1入力端と、前記制御回路の第3入力端と接続される第2入力端と、複数の信号レベルを含み自己の第1入力端及び第2入力端にそれぞれ受ける電圧の電圧差に基づく信号を前記第2の信号として出力する出力端と、を有する電圧検出回路と、
前記電圧検出回路の出力端と前記接続点を介して接続される出力端と、
を有する請求項1に記載の電流制限回路。
【請求項9】
前記接続点と前記制御回路の出力端との間に接続される出力回路をさらに有し、
前記出力回路は、前記接続点の電圧をゲートに受けるFETを含むソース接地増幅回路又はソースフォロワ回路である請求項8に記載の電流制限回路。
【請求項10】
(変更分:図5レベル)
前記電圧電流変換回路は、前記クランプ回路の第1端と接続される第1入力端と、前記閾値電圧の供給を受ける第2入力端と、前記接続点と接続される第1出力端と、第2出力端と、を含む増幅回路と、
前記閾値電圧を、第1の閾値電圧とするか第2の閾値電圧とするかを切り替える切替信号を受ける制御端と、前記切替信号に基づいて、出力する前記閾値電圧を、前記第1の閾値電圧とするか前記第2の閾値電圧とするかを切り替えて出力する出力端とを含む電圧源と、
前記増幅回路の第2出力端と接続される入力端と、前記電圧源の制御端と接続され、前記切替信号を出力する出力端とを含み、前記入力端に供給される電流の大小に対応する異なる2個の信号レベルを含む前記切替信号を生成する切替信号生成回路と、
を有する請求項2に記載の電流制限回路。
(【請求項11】以降は省略されています)
発明の詳細な説明
【技術分野】
【0001】
本発明は、電流制限回路及び電流制限装置に関する。
続きを表示(約 2,100 文字)
【背景技術】
【0002】
電流を負荷へ供給するにあたり、過大な突入電流が生じる場合がある。例えば、電流供給側と負荷側とを接続する電流経路(以下、単に「経路」とする)に設けられたいわゆるハイサイドスイッチにおいて、出力端子に容量性の負荷や誘導性の負荷が接続されている場合、起動時や出力端子の地絡からの復帰時等の出力電圧が低い状態からの電圧上昇過程で突入電流が流れてしまう。この突入電流が過大な場合、経路にあるデバイスが損傷又は損壊し得るため、電流の突入を抑制する電流制限回路が適用される(例えば、特許文献1参照)。
【0003】
特許文献1に記載される突入電流抑制回路のように、抵抗及び容量によって形成されるローパスフィルタをハイサイドスイッチの制御端であるFETのゲートに接続した従前の電流制限回路では、ゲート電圧を緩やかに制御することができる。ゲート電圧を緩やかに下降させることができるので、突入電流が生じた場合にもハイサイドスイッチを緩やかにオンさせることができる。
【先行技術文献】
【特許文献】
【0004】
特開2005-33869号公報(図1)
【発明の概要】
【発明が解決しようとする課題】
【0005】
しかしながら、上述したような従前の電流制限回路では、スイッチをオンさせたい場合のみならずオフさせたい場合においても、ゲート電圧が緩やかに変化してしまう。そのため、素早いスイッチオフが必要な場面においても、素早いオフ動作が阻害されてしまう。すなわち、突入電流の抑制とスイッチオフ速度にトレードオフが生じていた。
【0006】
本発明は、上述した事情に鑑みてなされたものであり、電流抑制とスイッチオフの速度を両立可能な電流制限回路及び電流制限装置を提供することを目的とする。
【課題を解決するための手段】
【0007】
本発明に係る電流制限回路は、制御端を含み、電流を所定値以下に制御可能なスイッチを介して、入力端子と出力端子を接続する経路の電流を制限する回路であって、第1の信号が伝送される第1の経路と第2の信号が伝送される第2の経路との接続点を含み、前記第1の信号の供給を受ける第1入力端と、前記第1の信号と前記第2の信号とを結合した制御信号を前記スイッチの制御端へ供給する出力端とを有する制御回路と、前記スイッチと前記出力端子との間に設けられる第1のノードとの間に容量が接続されると、当該容量を介して前記第1のノードに結合される入力端と、前記制御回路の第1入力端と接続される出力端とを有する負帰還回路と、を備えることを特徴とする。
【0008】
本発明に係る電流制限装置は、前記入力端子と、前記出力端子と、前記スイッチと、前記容量と、上述した電流制限回路と、を備えることを特徴とする。
【発明の効果】
【0009】
本発明によれば、電流抑制とスイッチオフの速度を両立させることができる。
【図面の簡単な説明】
【0010】
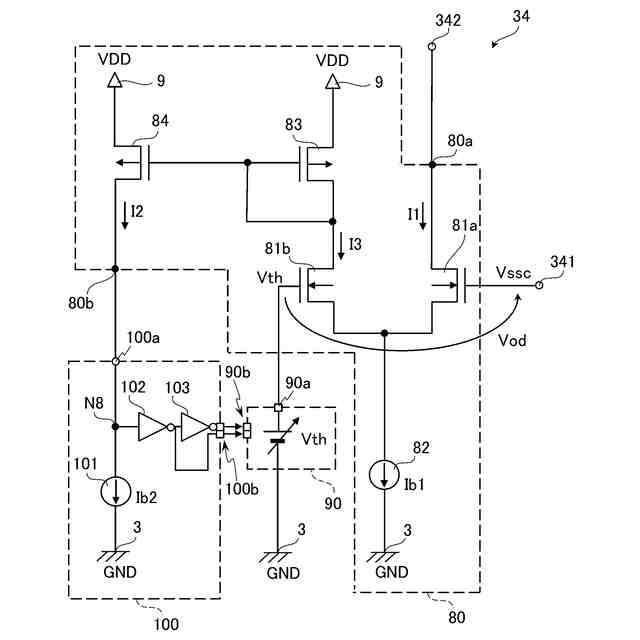
本発明の実施形態に係る電流制限回路及び電流制限装置の適用例を概略的に示したブロック図である。
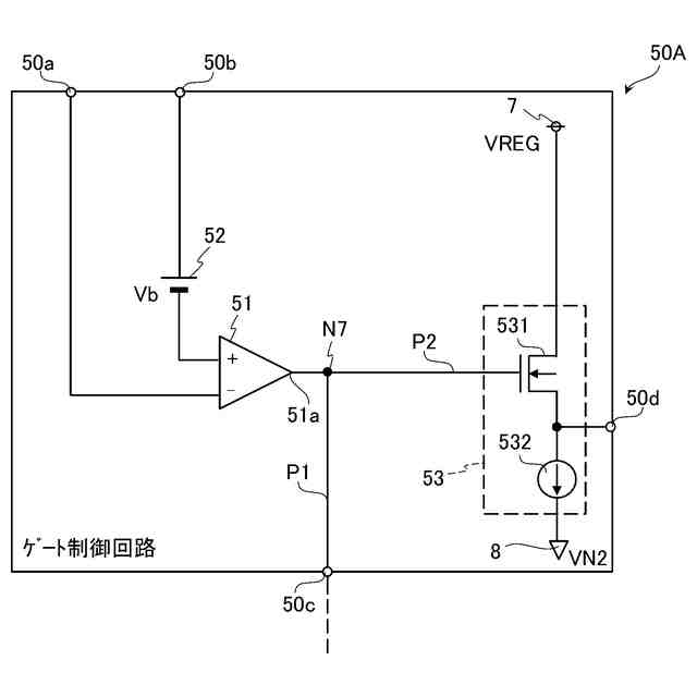
本実施形態に係る電流制限回路が備えるゲート制御回路の第1構成例を示した概略図である。
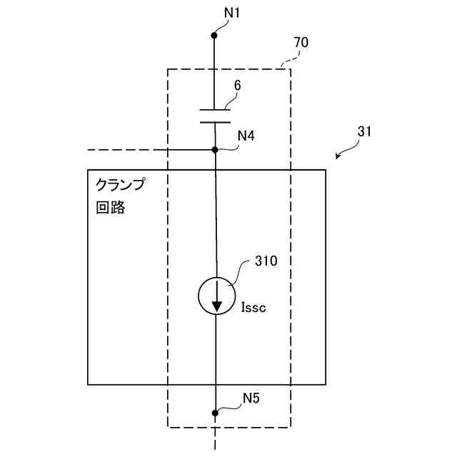
本実施形態に係る電流制限回路が備えるクランプ回路の第1構成例を示した概略図である。
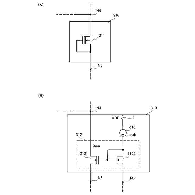
(A)は本実施形態に係る電流制限回路が備えるクランプ回路が有する定電流源の第1構成例を示した概略図、(B)は第2構成例を示した概略図である。
本実施形態に係る電流制限回路が備える電圧電流変換回路の第1構成例を示した概略図である。
本実施形態に係る電流制限回路が備える電圧電流変換回路のより詳細な構成例を示した概略図である。
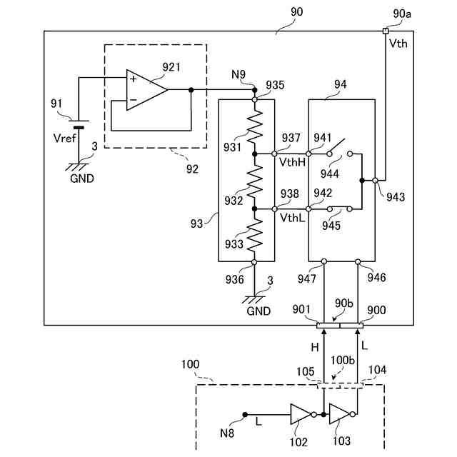
本実施形態に係る電流制限回路が備える電圧電流変換回路の電圧源の第1構成例を示した概略図である。
横軸を時間、縦軸を電圧として、本実施形態に係る電流制限回路における出力電圧及び負帰還回路の入力端の電圧の時間推移を表したグラフである。
本実施形態に係る電流制限回路が備えるゲート制御回路の変形例(第2構成例)を示した概略図である。
本実施形態に係る電流制限回路が備えるゲート制御回路の他の変形例(第3構成例)を示した概略図である。
(A)は本実施形態に係る電流制限回路が備えるクランプ回路の変形例(第2構成例)を示した概略図、(B)は他の変形例(第3構成例)を示した概略図である。
本実施形態に係る電流制限回路が備える電圧電流変換回路の電圧源の変形例(第2構成例)を示した概略図である。
本実施形態に係る電流制限回路が備える電圧電流変換回路の電圧源の変形例(第3構成例)を示した概略図である。
本実施形態に係る電流制限回路が備える電圧電流変換回路の電圧源の変形例(第4構成例)を示した概略図である。
【発明を実施するための形態】
(【0011】以降は省略されています)
この特許をJ-PlatPat(特許庁公式サイト)で参照する
関連特許
個人
電子式音響装置
4か月前
エイブリック株式会社
増幅器
1日前
エイブリック株式会社
電圧検出器
1か月前
株式会社大真空
音叉型圧電振動片
4か月前
株式会社大真空
音叉型圧電振動片
4か月前
株式会社大真空
圧電振動デバイス
2か月前
日本電波工業株式会社
ウェハ
4か月前
日本電波工業株式会社
ウェハ
4か月前
日本電波工業株式会社
ウェハ
4か月前
日本電波工業株式会社
圧電デバイス
1か月前
台灣晶技股ふん有限公司
共振器
4か月前
ローム株式会社
オペアンプ
1か月前
太陽誘電株式会社
弾性波デバイス
3か月前
太陽誘電株式会社
マルチプレクサ
4か月前
株式会社大真空
音叉型圧電振動デバイス
4か月前
ローム株式会社
オペアンプ
1か月前
株式会社トーキン
ノイズフィルタ
1か月前
ローム株式会社
オペアンプ
1か月前
三菱電機株式会社
半導体装置
1か月前
株式会社大真空
恒温槽型圧電発振器
1か月前
個人
誤り訂正装置及び誤り訂正方法
1か月前
株式会社村田製作所
増幅回路
1か月前
株式会社半導体エネルギー研究所
駆動回路
4日前
コーデンシ株式会社
複数アンプ回路
5か月前
ローム株式会社
半導体集積回路
1か月前
株式会社コルグ
電源装置
4か月前
ローム株式会社
半導体集積回路
2か月前
ローム株式会社
オペアンプ回路
1か月前
ローム株式会社
オペアンプ回路
1か月前
ローム株式会社
オペアンプ回路
1か月前
ローム株式会社
オシレータ回路
2か月前
矢崎総業株式会社
故障検出装置
5か月前
ローム株式会社
半導体スイッチ
3か月前
ローム株式会社
半導体集積回路
2か月前
ローム株式会社
半導体スイッチ
3か月前
株式会社村田製作所
高周波回路
1か月前
続きを見る
他の特許を見る