TOP
|
特許
|
意匠
|
商標
特許ウォッチ
Twitter
他の特許を見る
公開番号
2025123934
公報種別
公開特許公報(A)
公開日
2025-08-25
出願番号
2024019736
出願日
2024-02-13
発明の名称
電圧検出器
出願人
エイブリック株式会社
代理人
主分類
H03K
5/08 20060101AFI20250818BHJP(基本電子回路)
要約
【課題】
検出電圧の温度特性がフラットでありながら最低動作電源電圧が低く、最低動作電源電圧未満で誤検出しない。
【解決手段】
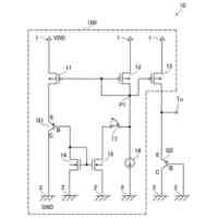
デプレッション型MOSトランジスタで構成された第一電流源21の電流が入力される第一カレントミラー回路と、ゲートが入力端子11に接続されドレインが出力端子12及び第一カレントミラー回路に接続されるエンハンスメント型第一MOSトランジスタ24と、制御端子13に入力されるイネーブル信号で制御されるスイッチ回路25と、を備えた電圧検出回路20と、第二電流源31の電流が入力される第二カレントミラー回路の出力電流が所定の電流以上になったことを検出するとイネーブル信号を出力する電流検出回路34を有する起動回路30と、を備え、電圧検出回路20はスイッチ回路25にイネーブル信号を受けているときに出力端子12から入力端子11の電圧に応じた検出信号を出力する。
【選択図】図1
特許請求の範囲
【請求項1】
一端が第一電源端子に接続され、デプレッション型のMOSトランジスタで構成された第一電流源と、
入力端子が前記第一電流源の他端に接続され、前記第一電流源の電流が入力される第一カレントミラー回路と、
ゲートが入力端子に接続され、ドレインが出力端子及び前記第一カレントミラー回路の出力端子に接続され、前記第一カレントミラー回路の出力電流が入力されるエンハンスメント型の第一MOSトランジスタと、
制御端子に入力されるイネーブル信号で制御されるスイッチ回路と、を備えた電圧検出回路と、
第二電流源と、
前記第二電流源の電流が入力される第二カレントミラー回路と、
前記第二カレントミラー回路の出力電流が入力され、前記出力電流が所定の電流以上になったことを検出するとイネーブルを示す前記イネーブル信号を出力する電流検出回路と、を備えた起動回路と、を備え、
前記電圧検出回路は、前記スイッチ回路に前記起動回路からイネーブルを示す前記イネーブル信号を受けているときに、前記出力端子から前記入力端子の電圧に応じた検出信号を出力することを特徴とする電圧検出器。
続きを表示(約 530 文字)
【請求項2】
前記起動回路の最低動作電源電圧は、前記電圧検出回路の最低動作電源電圧より高く設定した
ことを特徴とする請求項1に記載の電圧検出器。
【請求項3】
前記第一カレントミラー回路は、前記スイッチ回路にイネーブルを示す前記イネーブル信号を受ける時には前記第一電流源の電流に応じた電流を出力している
ことを特徴とする請求項2に記載の電圧検出器。
【請求項4】
第四電流源を有する電流源回路を備え、
前記第一電流源は、前記第四電流源の電流に基づいた電流を出力する第三カレントミラー回路で構成し、
前記第二電流源は、前記第四電流源の電流に基づいた電流を出力する第四カレントミラー回路で構成した
ことを特徴とする請求項1に記載の電圧検出器。
【請求項5】
前記スイッチ回路は、前記第一MOSトランジスタのソースと前記第一電源端子の間に接続された
ことを特徴とする請求項1に記載の電圧検出器。
【請求項6】
前記スイッチ回路は、前記電圧検出回路の出力端子と第二電源端子の間に接続された
ことを特徴とする請求項1に記載の電圧検出器。
発明の詳細な説明
【技術分野】
【0001】
本発明は、電圧検出器に関する。
続きを表示(約 1,700 文字)
【背景技術】
【0002】
従来の電圧検出器の構成例を図3に示す。
図3の電圧検出器は、電流源であるデプレッション型のNMOSトランジスタ51とエンハンスメント型のNMOSトランジスタ52で構成されている。
【0003】
定電流源として動作するNMOSトランジスタ51は、ドレインが電源端子に接続され、ゲートとソースがNMOSトランジスタ52のドレインに接続される。NMOSトランジスタ52は、ゲートが入力端子に接続され、ソースが接地端子に接続され、ドレインが出力端子に接続される。
【0004】
入力端子に入力される電圧VINが低く、NMOSトランジスタ52がオフしている時は、出力端子から出力される検出信号DETはHighレベルとなっている。電圧VINが上昇すると、検出信号DETはHighレベルからLowレベルに変化する。この時の電圧VINを電圧検出器の検出電圧と呼ぶ。検出電圧は、NMOSトランジスタ52の閾値電圧をVt
52
、NMOSトランジスタ51の閾値電圧をVt
51
とすると、Vt
52
+|Vt
51
|で表せる。
【0005】
以上のように構成した従来の電圧検出器は、NMOSトランジスタ51とNMOSトランジスタ52をほぼ同じアスペクト比(W長/L長)とすることで、検出電圧の温度特性をほぼフラットにすることが可能である(例えば、特許文献1参照)。
【先行技術文献】
【特許文献】
【0006】
特開2021-103860号公報
【発明の概要】
【発明が解決しようとする課題】
【0007】
従来の電圧検出器は、NMOSトランジスタ51とNMOSトランジスタ52がほぼ同じアスペクト比の場合、電圧検出器の最低動作電源電圧は|Vt
51
|×2になる。例えば、|Vt
51
|は、常温で0.2V程度の場合、高温の85℃では0.3V程度になる。そのため、従来の電圧検出器は、高温の85℃で最低動作電源電圧は0.6V程度になる。
【0008】
最低動作電源電圧より電源電圧が低い状態では、NMOSトランジスタ51が非飽和領域で動作するため、電圧VINが所望の検出電圧より低くても検出信号DETがLowレベルになる、と言う課題があった。
【0009】
本発明は、上述した事情を考慮し、検出電圧の温度特性がフラットでありながら最低動作電源電圧が低く、且つ最低動作電源電圧未満で誤検出をしない電圧検出器を提供することを目的とする。
【課題を解決するための手段】
【0010】
本発明の実施形態に係る電圧検出器は、
一端が第一電源端子に接続され、デプレッション型のMOSトランジスタで構成された第一電流源と、
入力端子が前記第一電流源の他端に接続され、前記第一電流源の電流が入力される第一カレントミラー回路と、
ゲートが入力端子に接続され、ドレインが出力端子及び前記第一カレントミラー回路の出力端子に接続され、前記第一カレントミラー回路の出力電流が入力されるエンハンスメント型の第一MOSトランジスタと、
制御端子に入力されるイネーブル信号で制御されるスイッチ回路と、を備えた電圧検出回路と、
第二電流源と、
前記第二電流源の電流が入力される第二カレントミラー回路と、
前記第二カレントミラー回路の出力電流が入力され、前記出力電流が所定の電流以上になったことを検出するとイネーブルを示す前記イネーブル信号を出力する電流検出回路と、を備えた起動回路と、を備え、
前記電圧検出回路は、前記スイッチ回路に前記起動回路からイネーブルを示す前記イネーブル信号を受けているときに、前記出力端子から前記入力端子の電圧に応じた検出信号を出力することを特徴とすることを特徴とする。
【発明の効果】
(【0011】以降は省略されています)
この特許をJ-PlatPat(特許庁公式サイト)で参照する
関連特許
エイブリック株式会社
増幅器
5日前
エイブリック株式会社
縦型ホール素子
今日
エイブリック株式会社
縦型ホール素子
今日
エイブリック株式会社
半導体集積回路装置
今日
エイブリック株式会社
電流補償回路及び半導体装置
今日
エイブリック株式会社
ボルテージレギュレータ及び半導体装置
今日
エイブリック株式会社
ボルテージレギュレータ及び半導体装置
今日
エイブリック株式会社
ボルテージレギュレータ及び半導体装置
6日前
エイブリック株式会社
増幅器
12日前
エイブリック株式会社
増幅器
5日前
エイブリック株式会社
増幅回路
6日前
エイブリック株式会社
電圧検出器
1か月前
日本電波工業株式会社
圧電振動片
4日前
株式会社大真空
圧電振動デバイス
2か月前
日本電波工業株式会社
圧電デバイス
2か月前
ローム株式会社
オペアンプ
2か月前
ローム株式会社
オペアンプ
2か月前
ローム株式会社
オペアンプ
2か月前
株式会社トーキン
ノイズフィルタ
1か月前
三菱電機株式会社
半導体装置
2か月前
株式会社半導体エネルギー研究所
駆動回路
15日前
個人
誤り訂正装置及び誤り訂正方法
2か月前
株式会社大真空
恒温槽型圧電発振器
2か月前
株式会社村田製作所
増幅回路
1か月前
TDK株式会社
電子部品
4日前
ローム株式会社
オペアンプ回路
2か月前
ローム株式会社
オペアンプ回路
2か月前
ローム株式会社
オペアンプ回路
2か月前
ローム株式会社
半導体集積回路
2か月前
株式会社村田製作所
高周波回路
1か月前
ローム株式会社
半導体集積回路
2か月前
TDK株式会社
電子部品
5日前
ローム株式会社
半導体集積回路
2か月前
住友電気工業株式会社
高周波増幅器
25日前
株式会社村田製作所
弾性波フィルタ
25日前
京セラ株式会社
弾性波装置、分波器及び通信装置
2か月前
続きを見る
他の特許を見る