TOP
|
特許
|
意匠
|
商標
特許ウォッチ
Twitter
他の特許を見る
公開番号
2025143747
公報種別
公開特許公報(A)
公開日
2025-10-02
出願番号
2024043153
出願日
2024-03-19
発明の名称
広告印刷支援装置、方法およびプログラム、並びに広告印刷システム
出願人
理想科学工業株式会社
代理人
個人
主分類
G06Q
30/0241 20230101AFI20250925BHJP(計算;計数)
要約
【課題】広告効果を向上させる広告印刷を行うことができる広告印刷支援装置、方法およびプログラム、並びに広告印刷システムを提供する。
【解決手段】商品が梱包される梱包材に印刷される広告対象の属性情報を取得する広告対象情報取得部14と、梱包材の受取人の属性情報を取得する梱包商品情報取得部13と、広告対象の属性情報および受取人の属性情報に基づいて、梱包材に印刷される広告画像情報を決定する広告画像情報決定部16とを備える。
【選択図】図1
特許請求の範囲
【請求項1】
商品が梱包される梱包材に印刷される広告対象の属性情報を取得する広告対象情報取得部と、
前記梱包材の受取人の属性情報を取得する受取人情報取得部と、
前記広告対象の属性情報および前記受取人の属性情報に基づいて、前記梱包材に印刷される広告画像情報を決定する広告画像情報決定部とを備えた広告印刷支援装置。
続きを表示(約 890 文字)
【請求項2】
前記広告画像情報が、前記広告対象を表す画像情報とキャラクタの画像情報を含む請求項1記載の広告印刷支援装置。
【請求項3】
前記広告画像情報決定部が、前記広告対象の属性情報、前記受取人の属性および前記広告画像情報と、該広告画像情報を印刷した場合の広告効果情報との関係を予め機械学習した学習済モデルに対して、任意の前記広告対象の属性情報と前記受取人の属性情報を入力することよって、前記広告画像情報を決定する請求項1記載の広告印刷支援装置。
【請求項4】
前記学習済モデルが、異なる前記キャラクタの画像情報を含む複数の広告画像情報を予め機械学習したものである請求項3記載の広告印刷支援装置。
【請求項5】
前記学習済モデルが、前記キャラクタの画像情報と前記広告対象との関係が異なる複数の広告画像情報を予め機械学習したものである請求項3記載の広告印刷支援装置。
【請求項6】
前記広告効果情報が、前記梱包材の受取人による前記広告対象のサイトへのアクセス率を含む請求項3記載の広告印刷支援装置。
【請求項7】
請求項1から6いずれか1項記載の広告印刷支援装置と、
前記広告印刷支援装置において決定した広告画像情報に基づく印刷処理を行う印刷装置とを備えた広告印刷システム。
【請求項8】
商品が梱包される梱包材に印刷される広告対象の属性情報を取得し、
前記梱包材の受取人の属性情報を取得し、
前記広告対象の属性情報および前記受取人の属性情報に基づいて、前記梱包材に印刷される広告画像情報を決定する広告印刷支援方法。
【請求項9】
商品が梱包される梱包材に印刷される広告対象の属性情報を取得するステップと、
前記梱包材の受取人の属性情報を取得するステップと、
前記広告対象の属性情報および前記受取人の属性情報に基づいて、前記梱包材に印刷される広告画像情報を決定するステップとをコンピュータに実行させる広告印刷支援プログラム。
発明の詳細な説明
【技術分野】
【0001】
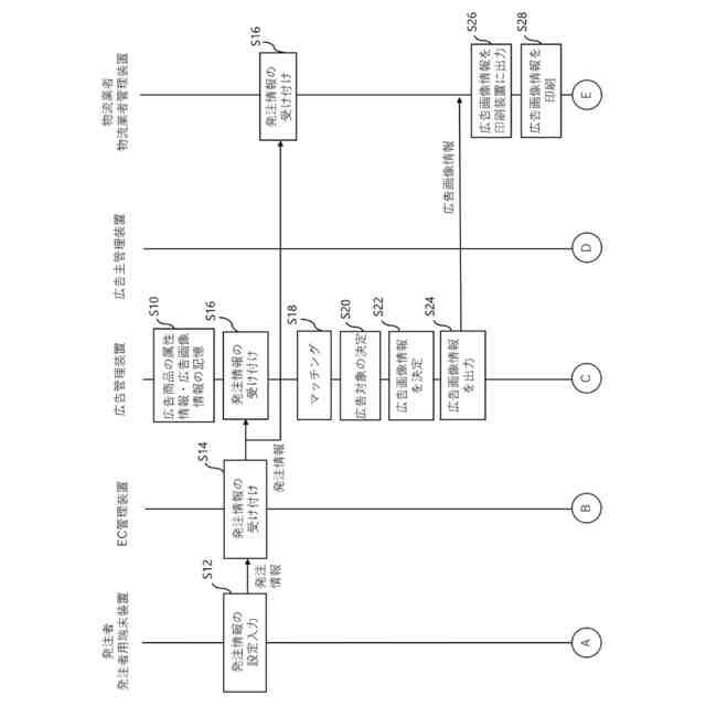
本発明は、梱包材への広告印刷を支援する広告印刷支援装置、方法およびプログラム、並びに広告印刷システムに関するものである。
続きを表示(約 1,000 文字)
【背景技術】
【0002】
近年、Amazon(登録商標)や楽天(登録商標)のようなEC(electronic commerce)の市場が拡大している。
【0003】
そして、ECサイトにおいて注文された商品を梱包材に梱包して受取人に発送する際に、梱包された商品以外の他商品の紹介や企業のブランドイメージをアピールする広告を同梱したり、梱包材に印刷したりすることが行われている。
【0004】
たとえば従来は、広告商品の画像を梱包材に印刷したり、広告商品の情報が掲載されたサイトへアクセスするためのコードを梱包材に印刷し、サイトへ誘導することよって広告が行われている。
【0005】
また、たとえば特許文献1には、荷物の受取人の属性情報を取得し、その属性情報に合致した広告を荷物に付与することによって、広告効果を上げる方法が提案されている。
【先行技術文献】
【特許文献】
【0006】
特開2006-155420号公報
【発明の概要】
【発明が解決しようとする課題】
【0007】
しかしながら、特許文献1のように、受取人の属性に応じた広告を荷物に付与したとしても、その広告の内容によっては、広告効果が上がらない場合がある。
【0008】
たとえば広告には各種の著名なキャラクタの画像が用いられることが多いが、広告商品や受取人によっては広告効果を上げることができるが、広告商品や受取人によっては広告効果が上がらない場合もある。
【0009】
本発明は、上記事情に鑑み、広告効果を向上させる広告印刷を行うことができる広告印刷支援装置、方法およびプログラム、並びに広告印刷システムを提供することを目的とするものである。
【課題を解決するための手段】
【0010】
本発明の広告印刷支援装置は、商品が梱包される梱包材に印刷される広告対象の属性情報を取得する広告対象情報取得部と、梱包材の受取人の属性情報を取得する受取人情報取得部と、広告対象の属性情報および受取人の属性情報に基づいて、梱包材に印刷される広告画像情報を決定する広告画像情報決定部とを備える。
【発明の効果】
(【0011】以降は省略されています)
この特許をJ-PlatPat(特許庁公式サイト)で参照する
関連特許
理想科学工業株式会社
包装物
17日前
理想科学工業株式会社
印刷装置
11日前
理想科学工業株式会社
印刷装置
17日前
理想科学工業株式会社
印刷システム
4日前
理想科学工業株式会社
孔版印刷装置
1か月前
理想科学工業株式会社
画像処理装置
26日前
理想科学工業株式会社
ワイピング装置
1か月前
理想科学工業株式会社
不吐出検出装置
1か月前
理想科学工業株式会社
シート搬送装置
7日前
理想科学工業株式会社
印刷媒体設置装置
11日前
理想科学工業株式会社
メンテナンス装置
5日前
理想科学工業株式会社
インクジェット印刷装置
18日前
理想科学工業株式会社
インクジェット印刷装置
1か月前
理想科学工業株式会社
インクジェット印刷装置
3日前
理想科学工業株式会社
油性インクジェットインク
17日前
理想科学工業株式会社
粘着シート、及び、被印刷物
17日前
理想科学工業株式会社
印刷装置および捺染物の製造方法
3日前
理想科学工業株式会社
捺染物の製造方法および印刷装置
3日前
理想科学工業株式会社
被覆ローラ及び被覆ローラの組立方法
1か月前
理想科学工業株式会社
再販支援システム、方法およびプログラム
4日前
理想科学工業株式会社
油性インクジェットインク及びその製造方法
1か月前
理想科学工業株式会社
捺染物の製造方法及び捺染物の製造システム
10日前
理想科学工業株式会社
情報処理装置、情報処理方法、およびプログラム
10日前
理想科学工業株式会社
印刷システム、印刷方法、および印刷プログラム
7日前
理想科学工業株式会社
画像処理装置、画像処理方法、及び、プログラム
1か月前
理想科学工業株式会社
予約管理装置、方法、プログラムおよびシステム
3日前
理想科学工業株式会社
予約管理装置、方法、プログラムおよびシステム
3日前
理想科学工業株式会社
情報処理装置、情報処理方法、およびプログラム
3日前
理想科学工業株式会社
予約管理装置、方法、プログラムおよびシステム
3日前
理想科学工業株式会社
予約管理装置、方法、プログラムおよびシステム
3日前
理想科学工業株式会社
予約管理装置、方法、プログラムおよびシステム
3日前
理想科学工業株式会社
予約管理装置、方法、プログラムおよびシステム
3日前
理想科学工業株式会社
画像処理装置、画像処理方法、及び、プログラム
3日前
理想科学工業株式会社
予約管理装置、方法、プログラムおよびシステム
3日前
理想科学工業株式会社
画像処理装置、画像処理方法、及び、プログラム
3日前
理想科学工業株式会社
学習支援装置、学習支援方法、及び、プログラム
3日前
続きを見る
他の特許を見る