TOP
|
特許
|
意匠
|
商標
特許ウォッチ
Twitter
他の特許を見る
10個以上の画像は省略されています。
公開番号
2025143929
公報種別
公開特許公報(A)
公開日
2025-10-02
出願番号
2024043449
出願日
2024-03-19
発明の名称
画像検査装置、再調整要否提示方法および再調整要否提示プログラム
出願人
ニデック株式会社
代理人
弁理士法人酒井国際特許事務所
主分類
G01N
21/88 20060101AFI20250925BHJP(測定;試験)
要約
【課題】製品の撮像画像と学習モデルとを用いた外観検査において、撮像条件の再調整の要否をユーザに把握させる。
【解決手段】第1取得部は、外観検査の対象となる製品を撮像した撮像画像を学習モデルへ入力して学習モデルによる検査結果を取得する。第2取得部は、上記撮像画像に基づいて上記製品の撮像条件の変化量を取得する。クラスタリング部は、上記検査結果および上記変化量を含むクラスタリングによる第1クラスタ群を生成する。算出部は、上記学習モデルの教師データを用いたクラスタリングによる第2クラスタ群、および、上記第1クラスタ群の各クラスタにおける重心の誤差である重心誤差を算出する。判定部は、上記重心誤差に基づいて上記撮像条件の再調整の要否を判定する。提示部は、判定部により判定された上記再調整の要否をユーザへ提示する。
【選択図】図2
特許請求の範囲
【請求項1】
外観検査の対象となる製品を撮像した撮像画像を学習モデルへ入力して該学習モデルによる検査結果を取得する第1取得部と、
前記撮像画像に基づいて前記製品の撮像条件の変化量を取得する第2取得部と、
前記検査結果および前記変化量を含むクラスタリングによる第1クラスタ群を生成するクラスタリング部と、
前記学習モデルの教師データを用いたクラスタリングによる第2クラスタ群、および、前記第1クラスタ群の各クラスタにおける重心の誤差である重心誤差を算出する算出部と、
前記重心誤差に基づいて前記撮像条件の再調整の要否を判定する判定部と、
前記判定部により判定された前記再調整の要否をユーザへ提示する提示部と、
を備える画像検査装置。
続きを表示(約 1,500 文字)
【請求項2】
前記判定部は、
前記重心誤差が第1閾値を超える場合に、前記再調整を要する可能性があると判定し、
前記重心誤差が前記第1閾値以下である場合に、前記再調整は不要であると判定する、
請求項1に記載の画像検査装置。
【請求項3】
前記算出部は、
前記重心誤差が前記第1閾値を超える場合における前記重心誤差に対する前記検査結果および前記変化量それぞれの寄与率を算出し、
前記提示部は、
前記変化量の前記寄与率が第2閾値を超える場合に、前記再調整を要することを前記ユーザへ提示し、
前記変化量の前記寄与率が前記第2閾値以下である場合に、前記学習モデルの追加学習を提案する旨を前記ユーザへ提示する、
請求項2に記載の画像検査装置。
【請求項4】
前記算出部は、
前記変化量における前記撮像条件に含まれる項目ごとの前記寄与率を算出し、
前記提示部は、
前記再調整を要する場合に、前記項目ごとの前記寄与率を前記ユーザへ提示する、
請求項3に記載の画像検査装置。
【請求項5】
前記提示部は、
前記再調整を要する場合に、前記項目のうち相対的に前記寄与率が高い前記項目を前記ユーザへ明示する、
請求項4に記載の画像検査装置。
【請求項6】
前記項目は、少なくとも前記撮像画像における前記製品の位置、角度および明度を含む、
請求項4または5に記載の画像検査装置。
【請求項7】
前記項目はさらに、前記撮像画像におけるホワイトバランスおよびフォーカスを含む、
請求項6に記載の画像検査装置。
【請求項8】
コンピュータが実行する再調整要否提示方法であって、
外観検査の対象となる製品を撮像した撮像画像を学習モデルへ入力して該学習モデルによる検査結果を取得する第1取得工程と、
前記撮像画像に基づいて前記製品の撮像条件の変化量を取得する第2取得工程と、
前記検査結果および前記変化量を含むクラスタリングによる第1クラスタ群を生成するクラスタリング工程と、
前記学習モデルの教師データを用いたクラスタリングによる第2クラスタ群、および、前記第1クラスタ群の各クラスタにおける重心の誤差である重心誤差を算出する算出工程と、
前記重心誤差に基づいて前記撮像条件の再調整の要否を判定する判定工程と、
前記判定工程により判定された前記再調整の要否をユーザへ提示する提示工程と、
を含む再調整要否提示方法。
【請求項9】
外観検査の対象となる製品を撮像した撮像画像を学習モデルへ入力して該学習モデルによる検査結果を取得する第1取得手順と、
前記撮像画像に基づいて前記製品の撮像条件の変化量を取得する第2取得手順と、
前記検査結果および前記変化量を含むクラスタリングによる第1クラスタ群を生成するクラスタリング手順と、
前記学習モデルの教師データを用いたクラスタリングによる第2クラスタ群、および、前記第1クラスタ群の各クラスタにおける重心の誤差である重心誤差を算出する算出手順と、
前記重心誤差に基づいて前記撮像条件の再調整の要否を判定する判定手順と、
前記判定手順により判定された前記再調整の要否をユーザへ提示する提示手順と、
をコンピュータに実行させる再調整要否提示プログラム。
発明の詳細な説明
【技術分野】
【0001】
本開示は、画像検査装置、再調整要否提示方法および再調整要否提示プログラムに関する。
続きを表示(約 1,700 文字)
【背景技術】
【0002】
従来、製品の検査工程において、機械学習によって学習された学習モデルに対し製品を撮像した撮像画像を入力することで、製品が良品であるか不良品であるかを検査する技術が知られている。また、このような技術においては、実稼働時における検査結果等の傾向の変化に応じて学習モデルの再学習を行うことで、検査精度を保つことができることが知られている。
【0003】
例えば、特許文献1に開示の技術では、実稼働時において撮像画像を学習モデルへ入力することで抽出される画像特徴量の、学習モデルの学習直後を基準とした経時的な変化量に基づいて再学習を行うか否かを判定している。
【先行技術文献】
【特許文献】
【0004】
特開2022-086149号公報
【発明の概要】
【発明が解決しようとする課題】
【0005】
しかしながら、実稼働時においては、カメラの取り付け状態や照明の当たり方など、製品の撮像条件が経時的に変化する場合もある。上述した従来技術は、こうした撮像条件の変化については考慮していない。
【0006】
このため、上述した従来技術を用いた場合、学習モデルの再学習よりも撮像条件の再調整が必要な状況であるにも関わらず、撮像条件が変化したことによる画像特徴量の変化量に基づいて再学習が行われてしまうおそれがある。また、再学習が行われた場合、学習モデルは本来の撮像条件とは異なる撮像条件に適合してしまうため、検査精度が低下するおそれがある。
【0007】
本開示は、製品の撮像画像と学習モデルとを用いた外観検査において、撮像条件の再調整の要否をユーザに把握させることができる技術を提供する。
【課題を解決するための手段】
【0008】
本開示の一態様による画像検査装置は、第1取得部と、第2取得部と、クラスタリング部と、算出部と、判定部と、提示部と、を備える。前記第1取得部は、外観検査の対象となる製品を撮像した撮像画像を学習モデルへ入力して該学習モデルによる検査結果を取得する。前記第2取得部は、前記撮像画像に基づいて前記製品の撮像条件の変化量を取得する。前記クラスタリング部は、前記検査結果および前記変化量を含むクラスタリングによる第1クラスタ群を生成する。前記算出部は、前記学習モデルの教師データを用いたクラスタリングによる第2クラスタ群、および、前記第1クラスタ群の各クラスタにおける重心の誤差である重心誤差を算出する。前記判定部は、前記重心誤差に基づいて前記撮像条件の再調整の要否を判定する。前記提示部は、前記判定部により判定された前記再調整の要否をユーザへ提示する。
【発明の効果】
【0009】
本開示によれば、製品の撮像画像と学習モデルとを用いた外観検査において、撮像条件の再調整の要否をユーザに把握させることができる。
【図面の簡単な説明】
【0010】
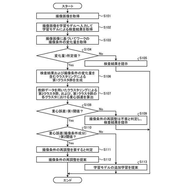
図1は、実施形態に係る再調整要否提示方法の概要説明図である。
図2は、実施形態に係る画像検査装置の構成例を示すブロック図である。
図3は、撮像条件の項目の一例を示す図である。
図4は、ワークの位置および角度の変化量の取得例を示す図である。
図5は、撮像条件の変化量の提示例を示す図である。
図6は、画像検査装置が提示する提示レイアウトの一例を示す図である。
図7は、撮像条件変化量表示部のレイアウトの一例を示す図である。
図8は、実施形態に係る画像検査装置が実行する処理手順を示すフローチャートである。
図9は、変形例に係る再調整要否提示方法の概要説明図である。
図10は、変形例に係る画像検査装置が実行する処理手順を示すフローチャートである。
図11は、画像検査装置の機能を実現するコンピュータの一例を示すハードウェア構成図である。
【発明を実施するための形態】
(【0011】以降は省略されています)
この特許をJ-PlatPat(特許庁公式サイト)で参照する
関連特許
ニデック株式会社
モータの制御方法
23日前
ニデック株式会社
生産管理システム
8日前
ニデック株式会社
ステータ及びモータ
24日前
ニデック株式会社
送風装置および掃除機
5日前
ニデック株式会社
モータ及びモータ製造方法
8日前
ニデック株式会社
積層鉄心製造方法、積層鉄心及びモータ
24日前
ニデック株式会社
積層鉄心製造方法、積層鉄心及びモータ
24日前
ニデック株式会社
ステータ、モータ及びステータの製造方法
24日前
ニデック株式会社
積層鉄心、積層鉄心の製造方法及びモータ
24日前
ニデック株式会社
判別システム、判別方法、および判別プログラム
1日前
ニデック株式会社
画像検査装置、画像分割方法、および画像分割プログラム
1日前
ニデック株式会社
外観検査装置、外観検査方法、および外観検査プログラム
2日前
ニデック株式会社
積層コア製造方法、積層コアの製造装置、積層コア及びモータ
24日前
ニデック株式会社
画像検査装置、再調整要否提示方法および再調整要否提示プログラム
2日前
ブルースカイテクノロジー株式会社
放電抵抗回路監視付き電圧センサ
4日前
個人
計量スプーン
25日前
個人
微小振動検出装置
1か月前
株式会社イシダ
X線検査装置
1か月前
日本精機株式会社
位置検出装置
3日前
日本精機株式会社
位置検出装置
3日前
日本精機株式会社
位置検出装置
3日前
大和製衡株式会社
組合せ秤
8日前
大和製衡株式会社
組合せ秤
8日前
アズビル株式会社
圧力センサ
2日前
アンリツ株式会社
分光器
1か月前
トヨタ自動車株式会社
表示装置
17日前
株式会社東芝
センサ
8日前
株式会社東芝
センサ
8日前
エイブリック株式会社
磁気センサ回路
2日前
株式会社ユーシン
操作検出装置
5日前
トヨタ自動車株式会社
検査装置
5日前
アンリツ株式会社
分光器
1か月前
株式会社東芝
センサ
1か月前
ダイハツ工業株式会社
測定用具
29日前
株式会社東芝
重量測定装置
1日前
株式会社ヨコオ
コンタクタ
29日前
続きを見る
他の特許を見る